Как изготавливается пилорама ленточная своими руками. Как сделать ленточную пилораму своими руками чертежи
Ленточная пилорама своими руками
Ленточная пилорама своими руками окажется неоценимым помощником для многих, кто любить работать и создавать вещи своими руками. В строительстве домов восстанавливается тенденция работы с традиционными материалами, издавна используемыми в России. Самым популярным из них была и остается древесина. Кроме строительства зданий и других сооружений древесина используется для изготовления мебели, различных предметов бытового и производственного назначения.

Чертеж ленточной пилорамы с размерами.
Потребность в материале возрастает с каждым днем. Ленточная пилорама позволит значительно сэкономить на приобретении пиломатериала, а при хорошей производительности появится возможность дополнительного заработка.
Приобрести готовую конструкцию довольно проблематично. При достаточном опыте и наличии оборудования, инструмента более оптимальным вариантом будет изготовление конструкции своими руками.
Принцип работы, набор необходимых инструментов
Самодельные ленточные пилорамы можно изготовить в двух вариантах:
- с перемещаемым материалом для распиловки;
- с перемещающейся пилой.
Принцип работы ленточной пилорамы.
Первый вариант несколько проще при изготовлении и надежнее в работе. Основные рабочие части устанавливаются стационарно и меньше подвержены воздействию вибрации. Недостаток в том, что требуется большая площадь для работы. Необходимо отвести территорию размером с длину обрабатываемого материала перед пилорамой и после.
Во втором варианте места нужно значительно меньше, но все вращающиеся элементы находятся на тележке и подвержены более значительному воздействию вибрации. Поэтому важным моментом является точность изготовления деталей и надежный крепеж.
Для изготовления пилорамы необходимо иметь навыки работы с металлом, уметь его размечать, резать с необходимой точностью, соединять различными способами. Нелишним окажется умение работать на токарных и фрезеровочных станках. Минимальный набор инструмента должен содержать:
- измерительные и разметочные приспособления: штангенциркуль с насадками, рулетка, линейка метровая металлическая, угольник, мел или маркер по металлу, керн;
- набор гаечных ключей необходимых размеров;
- комплект отверток, пассатижи;
- молотки различного веса;
- струбцины или зажимы другой конструкции;
- болгарка с набором дисков;
- электрическая дрель с набором сверл по металлу;
- сварочный аппарат в комплекте, электроды для сварки;
- инструмент для нарезания резьбы: метчики, плашки и комплектующие.
Оптимальным вариантом будет наличие токарного и фрезеровочного станка. При отсутствии необходимые работы по изготовлению или подгонке деталей можно выполнить на ближайшем предприятии, имеющем металлообрабатывающее оборудование необходимой точности.
Вернуться к оглавлению
Изготовление основания для пилорамы
Схема ленточной пилорамы.
Основание пилорамы представляет собой два рельса, по которым передвигается тележкой с пилой. Важным моментом является строго параллельное расположение рельс в одной плоскости. При расхождении или различных углах наклона плоскость среза пиломатериала будет неровная, с поворотом, «вертолетнутая».
При отсутствии рельс можно использовать швеллер или уголок достаточной прочности. Длина будет зависеть от предполагаемой длины бревен для распиловки.
Рельсы необходимо соединить между собой надежным жестким креплением. Для этого нужно нарезать из трубы диаметром около 20 мм отрезки длиной примерно 1-1,5 м. В рельсах или деталях из другого профиля на концах нужно просверлить отверстия диаметром 14-18 мм в зависимости от диаметра шпилек. Расстояние между крайними отверстиями необходимо разметить на равномерные участки с шагом 0,8-1,2 м и также просверлить отверстия.
Шпильки можно приобрести готовые или изготовить самостоятельно. Для этого из металлического прутка нарезать заготовки нужной длины и на концах плашкой выполнить резьбу.
При наличии всех деталей на шпильки нужно надеть трубки, вставить их в соответствующие отверстия и стянуть гайками.
Схема регулировки пилорамы.
Укрупненную конструкцию нужно установить на стойки. Количество стоек будет зависеть от длины конструкции: для длины в 8 м надо 4 стойки на каждую сторону. Крайние стойки должны располагаться на расстоянии 0,8-1 м от концов рельсов. Расстояние между ними нужно разделить на равномерные отрезки с шагом 1,5-2 м и в этих местах установить остальные стойки. Совпадение стоек и мест поперечного соединения нежелательно.
Стойки необходимо надежно закрепить на поверхности, для увеличения жесткости установить укосины. Если монтаж выполняется в земле, нужно принять меры от погружения стоек в землю под действием веса материала и вибрации.
На нижние концы стоек желательно приварить дополнительные крепления в виде креста. В выкопанные под стойки ямы нужно засыпать песчано-гравийную смесь, утрамбовать. Установку стоек в ямы проводить с контролем положения по шнуру и уровню, затем залить бетоном.
Для изготовления стоек можно использовать материал, который применялся для путей передвижения или имеющийся в наличии с достаточной прочностью. Соединение выполняется любым доступным способом. Перед сборкой желательно тщательно проверить положение по уровню во всех направлениях.
Для фиксации бревен при работе с двух сторон пилорамы нужно сделать крепежные устройства. Необходимо нарезать из трубы с внутренним диаметром 32-40 мм отрезки определенной длины, внутрь вставить подвижные штанги подходящего диаметра, сверху труб закрепить элементы из уголка с зубьями, смонтировать кулачковые устройства. Размер полок уголка должен быть не менее 40 мм, длина зубьев не менее 15 мм.
Вернуться к оглавлению
Изготовление передвижной тележки
Инструменты для изготовления пилорамы.
Основной деталью тележки будет плита из стали толщиной 6-10 мм. Размеры будут зависеть от размеров двигателя и остальных деталей узла. Оптимальная длина 60-80 см. На ней нужно закрепить электродвигатель и вал для установки пилы. Расстояние будет зависеть от размеров шкивов и длины ремней. Необходимо предусмотреть возможность натяжения ремней любым из доступных способов. Вся конструкция должна закрываться защитным коробом с надежной фиксацией.
Из профильной трубы или уголка (любой профиль с достаточной жесткостью) нарезать заготовки нужных размеров для вертикальных стоек и горизонтальных перекладин тележки. Собрать боковые элементы конструкции, закрепить на них колеса. Установить их на рельсы и зафиксировать временным крепежом, контролируя положение по отвесу. Соединить боковые части горизонтальными перекладинами. Оптимальный способ соединения — электросварка. После проверки положения можно выполнить окончательную сварку и убрать временные крепления. Для усиления жесткости использовать укосины. На собранную конструкцию нужно установить металлическую плиту с роликами. Ролики должны точно совпадать с перекладинами, перемещаться без перекосов и заедания.
Перемещение плиты можно сделать механическим от штурвала или электрифицированным с использованием электродвигателя небольшой мощности. По одной из стороны нужно протянуть цепь, на поворотах установить ролики или шестеренки. Один из элементов должен регулировать натяжение. Цепь крепится к плите и надевается на ведущую звездочку штурвала или двигателя. Все элементы нужно закрыть защитным кожухом в целях безопасности и для защиты от пыли и опилок. Ленточная пилорама может работать при вертикальном или горизонтальном положении пилы. Можно создать универсальную конструкцию, позволяющую перестраивать пилу в любое положение.
Вернуться к оглавлению
Электропитание пилорамы
Схема подключения электромотора пилорамы.
Для уверенной работы с древесиной любой степени твердости мощность основного электродвигателя должна быть не менее 10 кВт. Однофазных двигателей такой мощности нет. Использование схемы подключения к одной фазе при такой мощности неэффективно и нерационально. Потери будут составлять примерно половину потребляемой электроэнергии, мощность на валу значительно ниже необходимой. При отсутствии трехфазной сети нужно обратиться в ответственное за энергоснабжение предприятие с заявкой, выполнить выданные технические условия, пригласить специалистов для подключения.
Для питания пилорамы нужно проложить кабель соответствующего сечения от места установки щита учета до вводных устройств. Кабель можно проложить в земле или по воздуху на опорах. Высота прокладки должна обеспечивать безопасное перемещение материала и изделий.
Один из концов кабеля буде перемещаться вместе с тележкой вдоль основания. Для безопасной работы необходимо установить конструкцию для растягивания. В начале и конце передвижных путей установить опоры высотой около 2,5 м. Между ними натянуть стальную проволоку толщиной 4-6 мм. Для натяжения желательно использовать талреп. На проволоку предварительно надеть кольца диаметром 5-6 см, изготовленные из этой же проволоки. К кольцам нужно закрепить кабель, свернутый в кольца диаметром около метра. От последнего кольца проложить металлический тросик или передвижной кронштейн, закрепленный на тележке. Необходимая пусковая аппаратура должна быть расположена в доступных и удобных для работы местах. Она должна иметь нужный класс по защите от пыли, влаги и пожаробезопасности. Над пилорамой желательно установить навес для защиты от атмосферных осадков.
Вернуться к оглавлению
Заключение по теме
Самодельная пилорама — довольно сложное и капризное устройство, требующее постоянной наладки.
Перед изготовлением устройства желательно тщательно просчитать эффективность ее эксплуатации.
www.parnikiteplicy.ru
Ленточная пилорама своими руками — Видео
Дача с печным отоплением всегда предполагает наличие большого количества дров. Одному человеку будет тяжело перепилить большую кубатуру древесины, поэтому целесообразно будет смастерить ленточную пилораму. При маленьких объемах дров не стоит заморачиваться над созданием ленточной пилорамы. Нужно сразу сказать, что это не так уже и легко, но в данной статье мы расскажем, как лучше всего это сделать своими руками.
Содержание:
- Видеоурок
- Достоинства и недостатки
- Чертёж пилорамы
- Детали пилорамы
- Корпус пилорамы
- Разновидности пилорам
Видеоурок
Достоинства и недостатки
Пилорама имеет ряд преимуществ, среди которых быстрота работы и практичность. Имея такую пилку можно хорошо на ней зарабатывать, выполняя заказы и просьбы людей. Недостатки сборки пилорамы в самой ее комплектации. Для правильной сборки требуется множество деталей из автомобилей и дополнительных работ, среди которых сварочные, токарные, заточные, разводные и т.д.

Чертёж пилорамы


Существуют пилорамы с бензиновым двигателем и электрическим. Остановимся на втором. Перед тем, как ознакомиться с процессом изготовления ленточной пилорамы своими руками видео, ознакомимся с уроком, представленным выше.
Детали пилорамы
- Рамы с парой направляющих для перемещения ленты.
- Винт для подъема пилящего механизма.
- Пружинный или гидравлический механизм для натяжки пильной ленты .
- Защитный кожух.
- Два колеса (ведущее и ведомое).
- Электродвигатель.
- Рельсы для перемещения пилорамы.
- Эксцентриковые зажимы.
- Бак для смазки механизма.
Для сборки ленточной пилорамы необходимо взять старые шкивы диаметром 30 см, можно из комбайнов или других машин. Для направляющих пилорамы берутся полдюймовые и больше дюйма трубы. Необходимо на трубу в полдюйма надеть дюймовые с миллиметровым зазором.
- Ходовая часть. Создание пилорамы нужно начинать с каркаса и ходовой части. Для этого нужно взять стальной уголок на 5 см и установить его верхней стороной. При установке необходима точность. В противном случае плохо установленный уголок быстро износит колеса и будет препятствовать свободному ходу.

- Перегородками («шпалами») такой конструкции может служить квадратная труба 25х25 мм.
- Зажимы делаются с помощью присоединения (приварки) трубы полдюйма между шпалами. А уже на трубах нужно делать крепятся когти для зажима бревна. Процесс зажима происходит с помощью нескольких ударов молотком вглубь дерева.

- Для фиксации маленьких заготовок в выступающих частях рельсы устанавливаются болты M14 x 100 мм. Помимо этого на профиле сделаны перепонки, которые служат мостом для прокладки бревна.

- Закрепление шкивов. Шкивы нужно слегка подточить для того, чтобы ремень на пару сантиметров был больше шкива. Перемещение происходит по ранее установленным трубам.
Монтируются шкивы под 4-х градусным уклоном, именно в таком положении лента сама плотно натягивается на ролики.
Главным (ведущим) шкивом считается правый. Его запуск производится с помощью автоматического натягивания пружины. Ведомый шкив же необходимо зафиксировать очень туго, чтобы он «не гулял». - Механика. В пилораме зачастую используются каленые ролики, но в нашем случае лучше всего сделать роликовый узел. Эта часть механизма представляет собой три подшипника расположенные на одной оси. Первый 202-й марки и заднего на 2-4 мм больше.
- Для создания вала нужны две трубы – на полдюйма и чуть больше (как с вариантом ходовой части). В полудюймовке вал заварен к нижней части со смещением оси. Вся собранная конструкция из вала и трубок прикреплена к направляющим так, чтобы роликовый узел мог крепко фиксировать бревно разного диаметра. Для смазки шкива возле ролика установлен емкость со смазкой.

Корпус пилорамы
Остов пильной установки делается из сотого швеллера. Для большей устойчивости инструмент закрепляется косынками. Режущий угол фиксируют болты с контрагайкой, как на рисунке.

Разновидности пилорам
Мы представили вам тип пилы с электромотором, а теперь коротко пройдемся по новому виду пилорамы с бензиновым мотором. Зачастую такие пилорамы можно пробрести у фирм-производителей, но при детальном исследовании конструкции – попробовать сделать самому. Основу таких пил составляет встроенная бензопила продуктивностью в 6,5 л.с, которая закреплена на роликовой тележке. Перемещается такое устройство по рельсам стоящим на земле.Такие пилы способны распиливать круглый лес различного диаметра. Для такого инструмента используют большой мощности цепную пилу с бензиновым или электрическим мотором. Но цепные пилы имеют один большой недостаток – много опилок при распиле. Они не экономны. Ленточные пилы на много экономнее разрезают дерево, не оставляя большого количества опилок. Ленточные пилорамы от 1 метра в диаметре способны делить большие бревна.Еще один недостаток пилорам двигающихся по рельсам – большая площадь разброса опилок. Это решается установкой воздуховодом. Его подключают к стружкоотсосу и опилки просто засасываются в трубу и выбрасываются наружу.Существуют еще ленточные пилорамы из дерева. Но чаще всего их делают маленькими (мини). Они способны распиливать бревна диаметром до 40 см, но такие пилорамы непрактичны, потому что дерево быстро снашивается и при частой эксплуатации станок снашивается.Как видите, профессиональную ленточную пилораму сделать своими руками в современных условиях нелегко. Такое было возможно при советской власти, когда любой знакомый токарь мог выточить деталь любой конфигурации. В современных условиях, такое сделать тяжело – легче купить.Любые пилорамы нецелесообразно покупать или собирать для маленького объема работ. Они зачастую покупаются в коммерческих целях. Период окупаемости любой пилорамы очень мал, потому что актуальность такого оборудования в сельской местности всегда высока. Очень просто за лето заработать сумму денег за счет предоставления услуг пилорамой. Пилорама послужит не только в заготовке дров, но и в распиле досок или других деревянных материалов.В этой статье мы приблизили вас к сборке ленточной пилорамы своими руками, попытались рассказать и на примерах показать, какие варианты сборок пилорам есть. Надеемся, данный материал поможет вам облегчить работу при создании пилорамы.
Читайте также Ручные культиваторы своими руками, Самодельные дисковые пилорамы
nashprorab.com
Ленточная пилорама своими руками
11 ноября 2015
Просмотров: 2905
Как изготавливается пилорама ленточная своими руками? Этот вопрос интересует многих домашних мастеров.

Самодельная пилорама: Вид с лицевой стороны:1 — стойка, 2 — ролик, 3 — пластина, 4 — винт, 5 — цепь, 6 — направляющий утолок, 7 — подвижная гребёнка, 8 — винт, 9 — неподвижная гребёнка, 10 — пульт.
В наше время все чаще можно встретить людей, которые отдают предпочтение деревянным домам. Поэтому строительные бригады и используют в процессе работы разные виды пилорам. Но в последнее время самыми востребованными становятся именно ленточные пилорамы, так как они обладают массой положительных качеств.
Особенности обработки дерева станком
Дерево испокон веков считается природным материалом, который использовали даже наши предки. Но технический прогресс не стоит на месте, и люди придумали большое количество станков для обработки деревянных материалов. Одним из таких станков и считается ленточная пилорама, кстати, она является незаменимым атрибутом для тех, кто хочет возвести деревянный дом или работает с таким материалом постоянно. Так, пилорама отлично заменяет всем привычный рубанок.
Чертеж пилорамы.
Даже если после постройки деревянного дома она будет вам не нужна, то станок может приносить доход. Ведь можно принимать заказы по распилке древесины, выполнять распиливание бревен и изготовление различных деревянных заготовок. Специалисты изобрели такую пилораму, которая может работать с различными видами дерева, а именно лиственными и высокосмолистыми. Она перерабатывает их так, что получаются доска, брус, шпон, лафет и другие виды заготовок.
Самодельная ленточная пилорама нередко используется для изготовления заготовок, которые в дальнейшем будут применяться для производства мебели, создания щитов и клееного бруса. Сам по себе станок достаточно тяжелый, его масса в 2 раза превышает массу древесины, поэтому можно произвести более качественный пиломатериал и пользоваться станком дольше.
Распиливание бревен на самодельной ленточной пилораме отличается большим преимуществом, чем на других, так как происходит облегчение работы. На других ленточных станках, прежде чем перейти к процессу распиливания дерева, необходимо учесть особенность каждого бревна. А если распиливание происходит на ленточной пилораме, то потеря древесины является минимальной.
Преимущество такого станка заключается в высококачественной обработке дерева, компактности, приемлемой цене, легкой конструкции, незначительном весе, простоте установки и транспортировки, экономичности в эксплуатации. А главное, что он потребляет малое количество электроэнергии.
Принцип работы ленточной пилорамы
Схема крепления кронштейнов и штанги пилорамы.
Весь процесс работы заключается в выполнении трех этапов, а именно:
- Подготавливаем материал, то есть бревна. Можно взять бревна разного размера, но тогда их необходимо предварительно подготовить, чтобы после обработки весь материал выглядел одинаково.
- Теперь приступаем к процессу обрабатывания дерева. Для этого нужно настроить станок, придерживаясь инструкции, а потом задать программу, и техника выполняет все за вас.
- Завершающий момент: если увидели какие-нибудь погрешности, то обрабатываем самостоятельно.
Принцип работы такого станка заключается в том, что происходит распиливание деревянного бруса в неподвижном состоянии под действием движущей пильной ленты. Она зафиксирована на ведущем и ведомом шкивах и натянута с усилием, которое обеспечивает прямолинейную резку.
Бревно укладываем на станок между двумя направляющими и закрепляем его подвижными опорами.
Толщину дерева устанавливаем сами, для этого на помощь придет электронная линейка или гидравлический механизм на станке.
А вот распиливание, укладку, зажим и переворот материала вы выполняете самостоятельно.
Для того чтобы подготовить пилораму к работе, необходимо заточить пилу и развести зубья. Важно запомнить, что для разного дерева нужно самостоятельно провести процесс установки скорости работы.
Вся конструкция выполнена с помощью рейсового пути и направление осуществляется в одну сторону, тем самым происходит регулирование процесса, даже посредством механической деформации. Чтобы обеспечить необходимый размер, нужно следить за габаритами обрабатываемого материала.
Стабильность расположения пильной ленты обеспечивается благодаря креплениям стабилизирующих роликов. Первый ролик отвечает за неподвижность ведущего шкива, а второй двигается вдоль направляющего, тем самым обеспечивая свободный участок пилы. В такой момент происходит подача пилы и распиливание бревна вдоль.
Изготовление ленточной пилорамы своими руками
Схема подключения электромотора пилорамы.
Материалы и инструменты:
- швеллеры;
- уголки;
- болгарка;
- электродвигатель;
- трубы;
- болты;
- стойки;
- раскосы;
- доски;
- бруски;
- тележка из стальной плиты;
- ролики;
- цепь;
- звездочки.
Как изготавливается ленточная пилорама своими руками?
Если вам необходима срочно ленточная пилорама, а фабричная по цене вас не устраивает, то вы можете собрать ее самостоятельно.
Устройство ленточной пилорамы.
Для этого необходимо знать несколько нюансов:
- Основу такой конструкции составляют два швеллера, которые должны иметь длину 8 м и высоту от 140 мм. Для такой цели можно использовать два рельса, но они должны быть подошвой вверх, или уголки 50х100 мм. Неважно, какой материал вы возьмете, необходимо, чтобы он был прямым.
- После того как определились с материалом, необходимо просверлить отверстия, их делают на одинаковом расстоянии — с шагом примерно в 1,5 м. Затем приступаем к выполнению стяжек, то есть берем отрезки труб соответствующего диаметра, длина которых должна быть 250 мм. Чтобы соединить все, дополнительно берем резьбовые шпильки или болты, диаметр которых составляет 290-340 мм.
- Как только все собрали, переходим к установке на стойки. Количество стоек определяем исходя из длины станины. Например, если ее длина 8 м, то их количество составляет примерно 4 шт. Крайние стойки нужно устанавливать на расстоянии 800-1000 мм от края.
- Дальше ленточная пилорама своими руками изготавливается следующим образом. Чтобы станина была жесткой, нужно дополнительно установить раскосы. Но помните, что все это весит немало, и устанавливать необходимо на месте. Для того чтобы обеспечить горизонтальное направление, можно дополнительно подкопать грунт или просто положить доски или бруски.
- Теперь необходимо установить подвижную тележку, которую обычно изготавливают из стальной плиты. Ее толщина должна быть 46 мм, а длина — 600 мм. Правда, такие параметры напрямую зависят от размеров электродвигателя.
- А теперь, вам необходимо обратить внимание на зазор — он должен получиться минимальным. Толщина прокладок должна быть больше, чем толщина полки швеллера. Пластины и прокладки зажимаем с помощью болтов М8 в количестве 8 шт. Тележку по возможности следует установить на подшипники или ролики. Сверху обязательно устанавливается два уголка — это необходимо для крепления электрического мотора.
- Чтобы тележка перемещалась вместе с дисковой пилой и двигателем, нужна дополнительно цепь. Ее натягивают так, чтобы свободного хода у штурвала не существовало. И последний этап — это монтирование звездочек у одной из втулок, которые расположены по краям направляющих.
Главными элементами ленточной пилорамы являются мотор и пила. Поэтому постарайтесь приобрести мотор, мощность которого будет не меньше 10 кВт, а пилу — с диаметром в 1 м. Если не сможете приобрести такой мотор и пилу, то станину делаем меньших размеров.
Работать на ленточной пилораме несложно. Для этого возьмите бревна и уложите их на ложе, а потом зафиксируйте зажимами.
После этого включите двигатель и поверните штурвал, и можно приступать к перемещению тележки, ее обычно двигают в обе стороны.
Но старайтесь проверять, чтобы пила была постоянно острой и при работе соблюдались все правила техники безопасности.
Автор:
Иван Иванов
Поделись статьей:
Оцените статью:
Загрузка...Похожие статьи
masterinstrumenta.ru
Самодельная ленточная пилорама
Доброго времени суток! Не будем долго говорить и сразу перейдем к делу. В данном материале вам представлено руководство, при помощи которого делается ленточная пилорама своими руками. Итак, приступим к описанию.
Шкивами, которые используются в данном устройстве, раньше обладал комбайн похожий на «Неву», они обладают диаметром 300-320 мм. Шкивы немного стачиваются, это делается для того, чтобы добиться небольшого выступания ремня. В дальнейшем, ремни могут быть сняты совсем, это позволит устройству работать более тихо и продуктивно.

Токарные работы тут задействованы по минимуму. Это стало возможно, благодаря тому, что как направляющие используются полдюймовая труба и труба, которая надевается на нее сверху с зазором 1- 2 мм.
Для начала ,рассмотрим «рельсы»
В качества рельсы, пользуемся уголком 5 см, который устанавливается так, чтобы сторона была сверху, чаще всего, устанавливают, чтобы ребро угла было вверху. Это дает возможность колесу не стереться.

В качестве «Шпал» пользуемся профильной трубой 2,5 на 2,5 см. Тоже приваривается как шпалы, меж профильных трубок, и труба на полдюйма, которая оснащена крепежами когтями. Передвижение и наклон крепежей осуществляется в свободном режиме, дерево зажимается при помощи ударов молотком по зажиму, который, благодаря этому заклинивается.

Реализовано и выступание профильных трубок за пределы рельс. Эти выступы оснащаются регулировочными болтами (М14 на 100 мм).
Профильные трубки обладают «мостиками», поверх которых укладывают палено. Расстояние от одного мостика до другого — 500 мм (под короткие заготовки).

Шкива своими корпусами (ступицы от автомобиля «Москвич») привариваются на трубки, и вся конструкция в целом передвигается вдоль горизонтальных трубок-направляющих (полдюймовых трубок) и фиксируется при помощи болтов.
- Натяжка правого (ведомого) шкива производиться автоматом при помощи пружины (взятой в амортизаторе «КаСики»).
- Положение левого (ведущей) — фиксированное, но есть возможность передвижения, когда меняется размер в ленточной пиле.
Ленточная пилорама своими руками не может быть сделана без роликов. Разрабатывая ролики, стоит помнить, что они должны быть закаленные. Вся пилорама может быть произведена в гараже, проблемы могут быть только с токарными работами.

Исходя из соображений простоты, осуществляем выполнение «роликового узла», используя для этого набор подшипников, пара одинаковых и сзади немного больше.

Установка «Роликов» выполняется на выточенный вал, чтобы имелась возможность для установки шайб между подшипниками (если меняется ширина пилы). Установка вала осуществляется в той же пара труб, что описывалась ранее, вал и полдюймовка свариваются так, чтобы оси были смещены (показано синим).

Вся конструкция прикрепляется поверх направляющих трубок таким образом, чтобы можно было осуществить регулировку узла по вертикали и перемещение из стороны в сторону с возможностью фиксации (чтобы регулировать проем в соответствии с диаметром полена). К ролику, который установлен там, где ведомый шкив, крепим капельницу для СОЖ. Для изготовления рамы используется швеллер (100) высота которого составляется 150 см. Ужесточение рамы производиться при помощи косынок. Рама может слегка «играть», это не страшно. Люфт присутствует даже в пилорамах заводского производства.
Перемещение «Режущего блока» осуществляется поверх швеллеров с помощью винтов-шпилек. Чтобы установка «режущего блока» была жесткой, пользуемся болтами с контргайками. Детали механизма подъема на изображениях.
Немного про установку шкивов

В теории, их расположение должно быть параллельным. Однако, здесь они устанавливаются под углом (2-4градуса). Это делается для того, чтобы лента «оттягивалась» к роликам, в противном случае, может слетать.
https://www.youtube.com/watch?v=T96rO6aXFfI
Данная ленточная пилорама своими руками должна использоваться с учетом того, что будет происходить сушка, и соответственно деформация. ПО этой причине, резать стоит с запасом.
Вариант с колесами:




sdelaj-sam.com
Как сделать ленточную пилораму самому (чертежи)?
Ленточная пила, изготовленная собственными силами, обойдется дешевле покупной. На изготовление обычно используют дешевые материалы, поэтому при интенсивной эксплуатации ее хватит на несколько месяцев.
Эскиз ленточный пилорамы приведен ниже. Размеры на чертеже справочные, их можно менять, если правильно понимать принцип действия агрегата.
Рисунок 1
1 нижний шкив
2-каркас
3-лента (пила)
4-клиновой ремень
5-демпфер
6 - направляющая
7-штанга
8-верхний шкив
9–стол
10-двигатель
11-шкив
12-упор
14-опора
15-регулировочный винт
16-ползун
В данной конструкции бревно разрезается пилой в идее гибкого полотна. Такой режущий инструмент дает меньше отходов, чем при использовании бензопилы. Электродвигатель рекомендуется использовать мощностью 2,5-3 кВт, но на выбор силовой установки может повлиять сорт дерева и конечный продукт - доска или брус.
Требования к основным элементам
Габариты стола (поз 9) и каркаса (поз. 2) пользователь выбирает произвольно. На рисунке 1 размеры справочные.
На рисунке 2 показаны размеры штанги. Ее можно изготовить из швеллера №8. К столу штанга крепиться уголком.
Рисунок 2
Верхний и нижние шкивы (поз. 68, 1, рисунок 1) должны быть одинаковых размеров. Верхний шкив должен быть накрыт защитным кожухом.
Демпфер (поз. 5, рисунок 3) снижает амплитуду колебаний.
Рисунок 3
Направляющие (поз 6) обеспечивают правильное положение бревна при разрезании. Изготавливают из уголка (рисунок 4).
Рисунок 4
Режущий инструмент (лента, поз. 3) лучше купить. Толщина зависит от сорта дерева (рисунок 5).
Рисунок 5
Механизм натяжения обеспечивает правильное расположение ленты во время работы. Составные части показаны на рисунке 6.
Рисунок 6
Все подвижные части устанавливаются на валах с подшипниками.
www.remotvet.ru
описание ленточной конструкции, изготовление своими руками и советы
У любого специалиста, которому приходится выполнять операции, связанные с обработкой древесины, должен быть специальный деревообрабатывающий инструмент. Это должно быть довольно функциональное оборудование, которым является ленточная пилорама. Можно, конечно, поискать и альтернативные пути, например, купить уже обработанные заготовки или приобрести промышленную пилораму.
Однако, любое из этих решений является довольно затратным. Наиболее экономичным представляется изготовление ленточной пилорамы своими руками. С этой задачей может справиться любой мастер, который имеет хотя бы минимальный опыт работы с инструментами. А для того чтобы всё получилось, нужно просто быть очень внимательным в процессе работы.
Ленточная пилорама дома
Дерево является наиболее популярным в строительстве материалом, который использовали ещё наши предки. И, надо заметить, что он по-прежнему остаётся востребованным. Находится много желающих построить дома именно из дерева, а не из бетона.
Даже неспециалисту понятно, что работа по строительству подобных объектов занимает много времени и является довольно затратной. Именно для того, чтобы добиться экономии на этих операциях, и были придуманы деревообрабатывающие станки.
Хотя сегодня компании предлагают различные виды пилорам, каждая из них предназначена для решения одной задачи — обработки лесозаготовок. Но делает это каждая по-своему.
Если в вашем распоряжении будет ленточная пилорама, которую вы можете сделать своими руками, то вы можете не только заниматься обработкой древесины для личных целей, но и извлечь из этого дополнительный доход.
Вы можете договориться с заинтересованными лицами о производстве необходимого объёма продукции и легко справитесь с этой задачей. Вам по силам будет выполнить любой заказ вне зависимости, что это будет — беседка или баня. Всё, что вам для этого нужно сделать — взять заготовку и обработать её, после чего вы можете использовать её по назначению.
Что можно изготовить на ленточной пилораме
Этим вопросом задаются многие мастера, которые хорошо наслышаны о популярности ленточных пилорам. Ещё раз напомним, что сегодня подобные устройства представлены в большом количестве, но неслучайно именно ленточная пилорама пользуется наибольшей популярностью.
Объяснить сложившуюся ситуацию можно наличием у этого оборудования множества актуальных для мастеров преимуществ. Прежде всего, пилорама подобной конструкции может обрабатывать заготовки из любых пород древесины, в том числе лиственные и высокосмолистые.
Ещё одна особенность ленточной пилорамы заключается в том, что она может производить довольно широкий ассортимент изделий:
- Обрезные и не обрезные доски.
- Брусья.
- Шпон.
- Лафет и др.
При желании вы можете создавать заготовки для последующего их использования в изготовлении мебели, клеёного бруса, щитов и другой продукции. Имея в своей мастерской ленточную пилораму, вы намного упростите процесс обработки древесины.
Конструкция подобного типа многими ценится в том числе тем, что позволяет свести к минимуму потери бревна на опилки. Поэтому, если вы сможете сделать ленточную пилораму своими руками с соблюдением всех правил, то можете быть уверены, что после обработки заготовок на них не появится неприятных волн или щетины.
Ленточная пилорама своими руками: чертежи и конструкция
Не стоит торопиться и сразу же переходить к практической части изготовления ленточной пилорамы своими руками. Прежде вам необходимо изучить конструкцию и составить простенький чертёж. Это нужно сделать и в том случае, если вы хотите изготовить дисковую или шинную пилораму.
Конструктивная схема этого оборудования является достаточно понятной и простой. Поэтому вы легко сможете добавить в неё необходимые вам компоненты для выполнения дополнительных операций, которые у вас будут возникать в процессе работы.
Иными словами, у вас есть возможность изготовить самый простой вариант пилорамы, предусматривающий возможность ручной подачи заготовки. Или же вы можете остановить выбор на более сложной версии, создав по индивидуальному чертежу высокопроизводительное устройство, оснащённое автоматикой и специальными датчиками, упрощающими работу по обработке заготовок.
Основным элементом пилорамы как дисковой, так и шинной, является рама с направляющими. Для её изготовления используются сварные подошвы, в которых размещаются передвижные ролики. При любом варианте ленточной пилорамы станина всегда получается П-образной, а изготавливается она путём сварки двух швеллеров между собой.
При этом ведущий шкив приваривают на одной стороне рамы в неподвижном состоянии, а второй крепится на другом конце в подвижном положении. Установка направляющих осуществляется строго по центру и сами они являются разборными.
Об этом обязательно нужно подумать в том случае, если вы собираетесь в будущем перевозить оборудование. В общем, изготовление этой ленточной конструкции своими руками — процесс довольно длительный по времени. Однако, если вам удастся всё сделать правильно, то вы получите очень полезного помощника в свою мастерскую.
Ленточная мини-пилорама своими руками
Какую бы версию самодельной пилорамы вы ни сделали, она в любом случае будет иметь уникальную конструкцию. Это объясняется тем, что при соблюдении правил её изготовления это оборудование не допустит повреждения станины в случае падения тяжёлой заготовки.
Такое возможно, из-за особой конструкции пилорамы, в которой направляющие подвешены и располагаются независимо друг от друга. С особой внимательностью вы должны подойти к выбору режущего инструмента.
В рассматриваемой ситуации это будет ленточная пилорама, что, впрочем, и так понятно, если вспомнить, какое именно оборудование мы собираемся изготавливать своими руками. Самодельная ленточная или дисковая пилорама может иметь ширину порядка 60 мм.
Для натяжения в конструкции предусмотрен специальный пружинно-винтовой механизм. Это довольно удобное решение, поскольку сама процедура натягивания не занимает много времени. После установки пильной ленты её необходимо закрепить посредством двух замков.
Эти запорные механизмы должны отличаться высокой надёжностью. Об этом нужно помнить каждому, кто собирается изготавливать ленточную конструкцию своими руками. Не стоит пытаться экономить на замках и делать их самостоятельно. Вы избежите многих неприятных ситуаций, если просто купите их в магазине.
Принцип действия устройства
Работу на ленточной пилораме можно описать в виде следующих последовательных действий:
Начальным этапом деревообработки является подготовка заготовки. Заранее подготовленное бревно обрезают для придания необходимой формы, которая должна быть одинаковой со всех сторон.- После этого наступает этап обработки заготовки. Перед ним необходимо настроить пилораму. Если присутствует в конструкции автоматика, ей задают нужные параметры, а всё остальное выполнит само устройство.
- Обычно вторым этапом и заканчивается процесс обработки заготовок из древесины. Но в случае если были обнаружены погрешности, то оператору предстоит самостоятельно их устранить.
Суть работы пилорамы заключается в следующем: вначале заготовка фиксируется в неподвижном состоянии, после чего приводится в действие подвижная лента, которая разрезает древесину.
Во время работы она перемещается строго горизонтально и закреплена на ведущем и ведомом шкивах. Чтобы рез получился прямым, необходимо постоянно контролировать натяжение ленты. Бревно, должно быть, закреплено между направляющими посредством специальной опоры.
В оснащении этого оборудования может присутствовать электронная линейка или гидравлика, которая помогает изготовить заготовки определённой толщины. В процессе обработки древесины оператору приходится выполнять небольшое количество ручных операций — укладка бревна, переворот и его зажим.
Самодельная пилорама своими руками — видео
Потребность в наличии специального деревообрабатывающего оборудования испытывают не только мебельные производства, но и многие домашние мастера. Особенно если они собираются обрабатывать заготовки из древесины в больших количествах.
Для выполнения стоящих перед ними задач лучше всего подойдёт ленточная пилорама. Хотя при желании вы можете сделать дисковую или шинную пилораму своими руками. Конечно, лучше всего сделать пилораму сложной конструкции, у которой будет возможность установить дополнительные элементы, делающие её более функциональной.
Однако, если вам предстоит впервые заниматься этой работой, то лучше всего остановиться на простой версии ленточной пилорамы. Тогда у вас будет больше шансов, что вы сделаете всё правильно и ваша самодельная пилорама прослужит вам долго и на протяжении всего времени службы будет эффективно выполнять операции по обработке древесины.
Чтобы изготовить основу ленточной или дисковой пилорамы своими руками, нам понадобятся два швеллера. При этом они должны иметь определённые размерные характеристики:
- длина должна составлять восемь м;
- высота — 14 см.
К сожалению, не всегда есть возможность найти швеллер необходимых габаритов. Если вы оказались именно в такой ситуации, то вы можете поступить иначе и использовать под эти цели рельсы или уголки размерами 50 x 100 мм. Но обращайте внимание на то, чтобы основа была ровная и у неё отсутствовали изгибы.
Далее, можно переходить к следующему этапу подготовки швеллеров. По их длине необходимо проделать ряд отверстий, соблюдая заданный шаг. После того как отверстия будут готовы, можно переходить к этапу изготовления стяжки.
В качестве материала для неё можно использовать куски трубы диаметром 3/4 дюйма и длиной около 25 см. Крепление стяжки выполняется при помощи шпилек или болтов длиной 29–35 см.
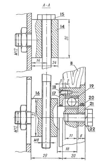
После того как основа ленточной мини-пилорамы будет готова, её устанавливают на специальные стойки. Чтобы сборка была выполнена надёжно, необходимо использовать болты диаметром М 12. Материалом для неё могут послужить трубы, уголки или швеллера. Особое внимание нужно обращать на длину станины устройства: чем она больше, тем больше стоек вам понадобится.
instrument.guru













