Этапы создания и монтажа своими руками перил из дерева. Как сделать перила для лестницы своими руками видео из дерева фото
как сделать и установить (с фото)
Подчеркнуть убранство собственного дома своими руками можно, сделав перила для лестницы из дерева.
При этом деревянные ограждения являются более доступным материалом, чем, например, кованые.
Ограждения состоят из балясин и поручней.
Балясина представляет собой декоративный столбик ограждения, на котором удерживается поручень.
Еще одним важным элементом следует назвать тумбу, установка которой производится в конце или начале лестничного проема.
Какие материалы используются?
Самыми прочными и долговечными считаются бук, дуб, ясень. Цена на данный материал достаточно высокая.
Более доступными материалами являются сосна, ель, лиственница, то есть хвойные породы, древесина которых более мягкая.
Лиственные породы. Особенность таких деревьев в том, что по сравнению с предыдущими они являются самыми мягкими, использовать их можно, но они могут давать большую усадку.
Очень важно, чтобы при изготовлении ограждения древесина была сухая, допустима максимальная влажность 10-18 процентов.
При несоблюдении этого условия все устройство конструкции может деформироваться и начать трескаться.
Также популярны кованые лестницы или сочетание кованых перил и деревянной лестницы. См. фото.
Фото:
Особенности устройства
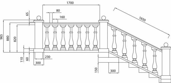
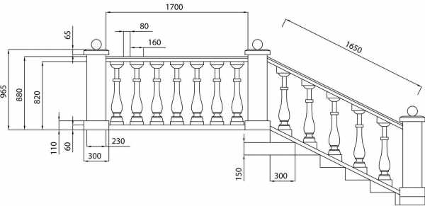
Для создания удобства при подъеме или спуске с лестницы, высота конструкции устанавливается на отметке 90-100 см.
При монтаже своими руками не стоит забывать о том, что это – высота всей конструкции, то есть с учетом проступи.
Толщина балясин зависит от длины лестницы: чем она больше, тем крупнее и толще должны быть стойки.
Изготовление всех элементов лестницы подразумевает использование одной породы дерева. Таким образом, исключается возможность деформации конструкции.
Прежде чем приступить к установке ограждения лестницы, необходимо произвести расчеты, составить смету материалов. Количество балясин зависит от длины конструкции и от шага.

Расстояние между стойками не должно превышать 20 см, в противном случае, маленький ребенок сможет пролезть, что приведет к несчастному случаю, а высота ограждения должна быть удобной для взрослого человека.
Изготовление балясин
При желании сделать перила полностью своими руками, необходимо обзавестись токарным станком:
- Изготовление начинается с чертежа, все детали лучше пронумеровать, чтобы в дальнейшем не сделать ошибки;
- Далее по размерам будущих балясин подгоняются доски, после чего они обтачиваются на станке, обретают форму;
- При создании конструкции своими руками могут возникнуть трудности в плане крепления, причина тому – неопытность, поэтому заготовок лучше сделать чуть больше необходимого;
- Сделать деталь круглой можно, предварительно сформировав ее в виде восьмиугольника;
- Чтобы стойки были красивые, с помощью резцов им придают необходимую форму согласно чертежу;
- Крепить балясины надежнее всего на шипы, поэтому сверху сверлится небольшое углубление;
- В завершение работы все деревянные изделия тщательно шлифуются.
Изготовление поручней
Устройство перил предполагает наличие поручней, сделать которые нужно правильно, соблюдая технологию:
- Поручень создается из деревянного бруска с сечением, равным сечению балясин, размеры которого не должны быть меньше 6 см. Важно, чтобы поверхность изделия была закругленной формы;
- Если размеры самой лестницы небольшие, то для создания поручней подойдет одна доска размером 1,5 м;
- Будущий поручень необходимо обработать на токарном станке, затем отшлифовать;
- Для упрощения крепления балясин к поручню, в последнем можно сделать специальные пазы.
Существует и другой вариант создания поручней с применением клея, он больше подойдет для винтовой лестницы.
Общими словами, данный метод заключается в склеивании досок одной на другую, предварительно отшлифованных, можно использовать болгарку.
Основанием будущего ограждения будет являться фанера. Она крепится к перилам, и на малярный скотч укладывается бумага.
Основание в последствии убирается, а бумага необходима для того, чтобы основной материал не прилипал к фанерному листу. Размеры основания и перил должны совпадать.
Чистовой слой укладывается своими руками на базис, который необходимо закрепить струбцинами.
Торцевой пилой подрезаются доски для более плотной укладки. Проделывается такая процедура по всей длине конструкции.
Видео:
Аналогично укладывается второй чистовой слой, доски также подрезаются, при этом швы второго слоя должны перекрыть швы первого на 5 см.
Далее следует закрепить оба слоя между собой при помощи клея (подойдет ПВА). При этом расход клея должен быть небольшим, в противном случае он будет виден на стыках.
Распределять клей по поверхности удобнее кисточкой, хранить которую нужно в емкости с водой.
Необходимо обеспечить плотное соединение друг к другу струбцинами, можно использовать деревянные бруски, которые крепятся на саморезы.
Сборка поручня продолжается аналогичным способом. Высота перил в целом и высота поручня выстраивается в зависимости от количества слоев.
Процесс склеивания перил – трудоемкий. Необходимо отвести время на то, чтобы все слои просохли, это может занять около 12 часов и более.

После высыхания все стыки обрабатываются, шлифуются, лишние края срезаются. Готовые перила обрабатываются фрезеровочным станком с полукруглой насадкой.
Основание аккуратным образом убирается, саморезы откручиваются. Готовые поручни крепятся к перилам через образовавшиеся отверстия. Установить конструкцию нужно строго по центру.
Соединение элементов
После того как были подготовлены поручни, балясины, тумбы, выполняется сборка всех элементов воедино.
Монтаж должен быть прочным, позволяющим обеспечить безопасность и красоту конструкции.
Для надежности крепления используются узлы деревянной лестницы. Они обеспечивают соединение ступеней и балясин, а при правильном обращении с ними позволяют избежать скрипа.
Узлы также используются тогда, когда необходимо соединить резную часть поручня с изогнутой «стык в стык». Монтаж, на самом деле, очень простой.
Видео:
По завершении крепления всей конструкции следует произвести шпаклевание. Таким образом убираются все неровности, дефекты. После этого ограждения шлифуют, используя мелкую наждачку.
Далее наносится декоративное покрытие — это может быть лак или краска, в зависимости от создаваемого интерьера.
Варианты изготовления перил
Мы рассмотрели классический монтаж лестничных ограждений.
Перила изготавливаются в зависимости от интерьера, типа лестницы: винтовой или маршевой, материала: кованые, деревянные, пластиковые, стеклянные.
Устройство винтовой лестницы отличается своей компактностью. Монтаж также не содержит в себе ничего сложного.
Как и в классическом способе, на ступенях необходимо установить балясины также двух типов: большие – на углах, маленькие – на ступенях.
На верхушках маленьких стоек отмечается угол наклона лестничного марша и отрезается. Снизу необходимо просверлить отверстие, высота которого зависит от величины шканта.
Шканты следует установить на винтовой лестнице, можно для прочности добавить клей. Далее производится монтаж балясин и поручней.
Для винтовой лестницы необходимо создать изогнутую тетиву. Сделать это можно своими руками. Для этого деревянную заготовку вымачивают в кипятке, чтобы она стала мягкой.
После чего заготовка фиксируется в необходимом положении и просушивается. Перила также могут быть и кованые. Далее осуществляется соединение всех элементов винтовой лестницы.
Кованые перила все чаще можно встретить в интерьерах загородных домов.
Фото:
Их используют как для винтовой, так и для обычной маршевой лестницы. Кованые перила и деревянные лестницы – сочетание красивое, здесь главное обеспечить правильное и надежное соединение.
При такой конструкции используется система пазов и монтажный клей. Также можно использовать систему специальных крепежных элементов и саморезов.
При сочетании дерева с коваными балясинами, необходимо обработать соединение антикоррозийными средствами. Создание кованых ограждений требует определенных навыков и инструментов.
Самостоятельно сделать их будет сложно, установка также потребует усилий, но не следует забывать о том, что кованые или металлические изделия необходимо обрабатывать от коррозии.
stroyremned.ru
Перила для лестницы из дерева своими руками
Перила на лестницах служат для предотвращения падения людей при подъеме или спуске с лестниц. Обычно человек, поднимаясь по лестнице, помогает себе, держась за перила. Исключение – это молодые люди и дети, которым перила практически не нужны. Они взлетают и спускаются на бегу.
Виды деревянных перил
Лестницы для подъема размеренным шагом появились за много тысячелетий до нашей эры. Остатки их находят в самых разных уголках планеты. Особый интерес вызывают способы, к которым прибегали наши предки, чтобы обезопасить движение по лестницам. Так, например, в Китае большинство лестниц с богатой историей выполнены совсем без перил. Китайская стена, растянувшаяся на несколько тысяч километров, через каждые пять-десять километров имеет внутренние входы, с лестницами. Но там не думали о безопасности подъема. Наоборот, оборонять легче, когда наступающему на за что опереться.
Перила для лестницы из дерева своими рукамиВ замках Европы ограждения лестниц служили дополнительной защитой от наступающего противника. Там марш делали так, чтобы легче было махать правой рукой, отражая натиск противника. Балясины и перила делали высокими, чтобы создать дополнительные трудности наступающему врагу. Но это история. В реальности нужно помочь человеку, дать ему опору для рук.
Ограждение лестницы в замке AugustusburgПерила бывают:
Крепления настенных конструкций выполняется так:
- Приобретается поручень и промежуточные настенные опоры.
- Отпиливается поручень так, чтобы его длина соответствовала длине лестницы. Замер выполняется от кромки первой ступени до порожка на верхней части марша.
- Промежуточные опоры настенного крепления. Обычно принято использовать на каждые три ступени лестницы по одной промежуточной опоре. Чтобы сверху и снизу поручень фиксировался без особых проблем, прибавляют еще одну опору.
- Размечают стену так, чтобы высота поручня составляла 950…1020 мм над серединой ступеней лестницы. Потом сверлят отверстия под анкерные болты.
- Устанавливают промежуточные опоры, а к ним фиксируют поручень.
По профилю поручни бывают:
Каждый тип профиля охватываются пальцами по-разному. Наиболее распространены сегодня поручни сложной формы, фрезеруемые специальными фасонными фрезами.
Как изготовить балясины для лестницы своими руками
В составе лестничного ограждения присутствует несущая рама или балясины. Они бывают разных форм и видов. Многие предпочитают использовать балясины круглой формы. Они не имеют острых углов, поэтому вероятность повреждения о них сведена к минимуму.
Балясины круглой формыКруглые балясины изготавливаются из древесины твердых пород. Сюда идут бук, дуб, клен, береза и другие. Наиболее простым является:
- при необходимости изготовления большого количества балясин применяют копиры, которые заставляют резец перемещаться в пространстве в зависимости от конкретного положения на той или иной высоте;
Домашний мастер, не имея токарного станка, может изготовить круглые балясины. Но потребуется приложить усилия и сноровку. В качестве заготовки используются черенки от садовых инструментов. Цена в розничной сети сравнительно невысока, а из одного черенка легко получить сразу две балясины. Порядок работ простой:
- Уточняется требуемая высота. Принято считать, что высота перил должна составлять 900…950 мм. Тогда составляя размерную цепь из деталей, входящих в состав готового изделия несложно рассчитать высоту балясин. Примерно 800 мм – это тот размер, который устроит по своим параметрам практически любую лестницу.
Рекомендуемые размеры перил
- Напиливаются стойки принятой высоты.
- Шлифуются шкуркой, чтобы устранить имеющиеся шероховатости.
- Покрываются морилкой и лаком. При необходимости создания непрозрачного покрытия окрашиваются эмалями для дерева.
Разнообразие окрашенных балясин
Задачу можно решать еще проще, но тут балясины будут представлять деревянные столбики прямоугольного или квадратного сечения:
- Для них приобретаются квадратные бруски с сечением 50*50 мм (60*60 или 70*70 мм). Обычно они реализуются хлыстами длиной 3 или 6 м. Нетрудно подсчитать, сколько же понадобится таких хлыстов.
Бруски квадратного сечения
- Готовые столбики нужно хорошо ошкурить и обработать антисептическими растворами. При желании мастер может украсить их незамысловатой резьбой по шаблону, который нетрудно найти в интернете. Тогда столбики будут неповторимым, свойственными только данному дому.
Ошкуривание брусков
- Покрываются морилкой и лаком. При необходимости создания непрозрачного покрытия окрашиваются эмалями для дерева.
Еще один путь – это выпиливание балясин из досок. Конечно, затраты времени будут значительными, но будет достигнута оригинальность внешнего вида. Мастера на Руси издревле для каждого дома разрабатывали свой шаблон, чтобы каждая лестница и ее перила имели свой неповторимый вид.
Перила с балясинами из досок
При изготовлении балясин следует определиться со способом крепления их лестнице. Часто они устанавливаются на ступенях с небольшим отступом внутрь. Иногда столбики располагают на ложных косоурах, что дополнительно усиливает всю лестничную конструкцию.
Крепление балясин к лестницеЧасто деревянные поручни устанавливают на рамную конструкцию, выполненную из металла. Здесь в качестве балясин используются металлические трубы круглого или прямоугольного сечения. Применение подобных конструкций позволяет быстро подготовить нужное количество ограждающих рам, а в дальнейшем произвести их монтаж на месте.
Стиль High Tech пришел и к нам. Его отличительной чертой является изготовление несущей части перил из нержавеющей стали с применением стекла, в качестве ограждающих панелей. Только поручни остаются деревянными. Этот стиль придает даже самой неказистой лестнице современный стремительный вид. Его легко увидеть в разных проходных местах: торговых точках, офисных зданиях, кинотеатрах, гостиницах и т.п. В глаза бросаются именно перила. Блеск от нержавейки и стекла заглушает все вокруг.
Перила в стиле High TechДля домашних мастеров некоторые фирмы изготавливают наборы «Сделай сам», используя которые домашний мастер сумеет легко установить перила в стиле High Tech у себя дома. Потребуется только набор ключей и простейший шуруповерт.
Как изготовить поручни своими руками
Для изготовления поручней потребуется рубанок. В качестве заготовок используются бруски или доски подходящих размеров. Многие столяры применяют ореховые заготовки, которым и придают нужный профиль. Домашнему мастеру довольно сложно конкурировать с профессионалами, но есть варианты.
Сравнительно недорого можно приобрести электрорубанок, а также ручной фрезер.
Порядок работ:
- С помощью рубанка выполняется черновая подготовка брусков. Им придается форма и размеры, близкие к параметрам готового изделия.
Работа с рубанком
- Для фрезерования нужного профиля приобретаются фасонные фрезы. Сам фрезер устанавливается жестко, чтобы вокруг него можно перемещать длинную заготовку.
- Затем выставляются высота фрезы и направляющие, относительно которых перемещается деталь. За два-три прохода вдоль направляющих заготовка приобретает нужную форму профиля.
Резьба балясин
- Чтобы устранить заусенцы, наждачной бумагой выполняется финишная шлифовка поверхностей.
Некоторые мастера используют в качестве поручней черенки от садовых инструментов. Можно ли поступать подобным образом? Конечно, можно. Только внешний вид лестницы не будет презентабельным, но свою функцию поручни выполнять будут. Что привлекает в этом случае? Диаметр заготовок позволяет пальцам рук человека охватывать и удерживать такой поручень довольно легко.
Окончательно поручни приобретут нужный вид после окрашивания. Некоторые домашние умельцы выполняют прозрачное окрашивание, используя алкидные лаки без цвета. Обработка морилками разного типа позволяет придать поручням вид, будто они изготовлены из ценных пород древесины. Лак наносится в несколько слоев с просушкой. После нанесения первого слоя выполняют повторную шлифовку, так как слой алкидного покрытия приподнимает заглаженные заусенцы. Иногда требуется дополнительная шлифовка и после нанесения второго слоя (использование сосны в качестве материала для поручней). Обычно трех слоев достаточно для получений качественной детали.
Как собрать перила своими руками
Сборка перил не представляется такой уж сложной операцией. Нужно иметь:
Если в конструкции предусмотрено использование клея, то понадобится и клей. Мастера любят казеиновый клей, но сегодня на рынке можно встретить удобные в обращении моментальные клеи, которые продаются в тубах. Такие клеи характеризуются начальным усилием схватывания деталей, цифровое обозначение показывает минимальное разрывное усилие в первые секунды нанесения клея между деталями.
Сборка перилКраткий порядок работ по монтажу перил лестницы (способ монтажа на анкерные болты):
- Начало работ по монтажу перил следует отвести на ознакомление с конструкцией, а также разметкой.
- К стойкам (балясинам) присоединяют опорные площадки.
- Выполнив разметку, сверлят нужные отверстия на ступенях лестницы для установки анкерных болтов.
- Устанавливают стойки, сориентировав отверстия в ступенях с отверстиями в опорных площадках.
Установка стоек
- Вворачивают анкерные болты в совмещенные отверстия.
- Выставив балясины по лестнице, натягивают нить, чтобы проверить, насколько верно выполнен первичный монтаж. Если верхушки лежат точно по нити, начинают монтировать поручни.
- Их прикручивают или приклеивают на посадочные места столбиков. Потом методом раскачки проверяют жесткость поученной конструкции. Если конструкция отвечает требованиям, проводят финишную отделку.
Краткий порядок работ по монтажу перил лестницы (клеевой способ монтажа):
- Выполняется разметка ступеней. Определяются места установки стоек.
Места установки стоек
- Коронками или перовыми сверлами высверливаются отверстия нужного диаметра.
- Проводится установка стоек на ступени. Выставив их по лестнице, натягивают нить, чтобы проверить, насколько верно выполнен первичный монтаж. Если верхушки лежат точно по нити, фиксируют при помощи клея.
Установка стоек на ступени
- Дают время на полимеризацию клея согласно инструкции к нему.
- Устанавливают тетивы ограждения между стойками. Приклеивают их согласно проекту.
- Устанавливают поручень. Выполняют финишную обработку: удаляют остатки клея, покрывают лаком.
Установка поручня
Заключение
Перила на лестницах сравнительно несложно изготовить своими руками. Главное правильно определиться с возможностями и инструментом. Важно также найти подходящие заготовки, чтобы подготовить все необходимые элементы и выполнить монтаж перил.
perilamaster.ru
Как сделать перила для лестницы
Перила необходимы для удобства и безопасности перемещения по лестнице. Но кроме этого своего прямого назначения, красивые перила могут украсить интерьер любого помещения.
Изготавливаются перила из самых различных материалов: дерева, металла, пластика, стекла, бетона и так далее.
Деревянное перильное ограждение
Перила деревянной лестницы Деревянные перила состоят из нижнего опорного элемента, ряда балясин, поручня, концевых и поворотных тумб. Для изготовления всех этих элементов могут применяться различные породы древесины, но наиболее популярны сосна, лиственница, ель, кедр, дуб и липа, реже клён и береза.
Обратите внимание! В соответствии с нормами безопасности необходимо ограждение всех лестниц, которые имеют более трёх ступеней. Минимальная высота ограждения 900 мм.
Балясины для лестничных перил Балясины могут быть прямоугольной, квадратной или круглой формы, плоскими с фигурными прорезями или ручной резьбой, объёмными с нанесением на них оригинального орнамента или другими. Отлично смотрятся балясины, обработанные на токарных станках по дереву.
Опорный нижний элемент может представлять собой сплошной брус сечением, напрямую зависящим от размеров основания балясин или брус с канавкой посередине, в которую вставляются балясины.
Обратите внимание! Деревянный поручень должен иметь закруглённые верхние кромки и гладкую тщательнейшим образом отшлифованную поверхность. Для его изготовления надо использовать брусок минимальной толщиной 60 мм.
Лестничные тумбы Перильные тумбы должны гармонично сочетаться с балясинами, но иметь более массивные размеры.
Конечно, можно перила изготовить самостоятельно, но, даже найдя качественный сухой материал, в кустарных домашних условиях его будет достаточно сложно должным образом обработать.
Для экономии времени и сил лучше все элементы заказать в столярной мастерской или приобрести в специализированном магазине. Сборку перил можно для экономии денежных средств выполнить собственными силами.
Сборка
Сборка перил Для качественного монтажа перил нужно иметь следующие инструменты:
- ножовки по дереву с мелкими зубьями для продольного и поперечного распиливания древесины;
- молоток среднего и малого веса;
- набор долото и стамесок, отвёртки;
- столярный угольник, отвес, шнурка, стусло, правило длиной около двух метров и цилиндрический уровень;
- электроинструмент – дрель с набором свёрл, шуруповёрт и лобзик.
Набор стамесок Порядок выполнения работ:
- Устанавливаем строго вертикально крайние и поворотные тумбы с креплением их к лестнице. Важно: тумбы должны быть закреплены “намертво”, не допускается даже малейшее их “шатание”.
- Устанавливаем нижний опорный элемент (тетиву) с креплением его к тумбам и лестничному маршу “в потай” при помощи шурупов.
- Протягиваем по крайним тумбам шнурку и укладываем по ней поручень. Поручень надёжно прикрепляем к тумбам. Лучшим креплением будет плотная подгонка квадратного шипа, выполненного в верхней части тумб, в выдолбленную снизу поручня выемку. Соединение сажается на клей и, для большей надёжности, на длинные шурупы, которые можно сверху прикрыть выточенными из дерева шарами. Такие шары, кроме того, дополнительно украсят лестничное ограждение и не дадут одежде зацепиться за тумбы в процессе эксплуатации лестницы.
- Устанавливаем балясины. В зависимости от вида балясин и дизайнерского решения лестницы их можно установить сплошной стенкой или с небольшими расстояниями между ними. Важно: зазор между балясинами не должен позволять пролезть детям. Крепление балясин выполняется аналогично креплению поручня с использованием шипов и выемок в поручне и тетиве.
- Зашпаклёвываем все зазоры в соединениях элементов, очищаем поверхности ограждения и покрываем их краской или лаком. В качестве прозрачного покрытия предпочтительней использовать яхтный или паркетный лак.
Видео
Посмотрев следующий видеоматериал, вы узнаете, как технологически правильно крепить лестничные перила:
Из металла
Лестница с металлическими перилами Металлические перила, особенно кованые или с использованием технологий гибки металла, прекрасно сочетаются практически с любым стилевым решением интерьера.
Все необходимые элементы можно заказать в кузнечной или специализированной мастерской. Большой выбор готовых элементов металлических перил также имеется на рынке строительных материалов. Все соединения элементов можно выполнять на заклёпках, но всё же надёжней всего сварка.
Лестница с патиной Великолепный вид перилам из металла придаёт качественная отделка с использованием специальной кузнечной патины. Получить эффект благородного металла или “эффект под старину” можно применив патину “под медь”, “под серебро”, “под золото”.
Из какого лучше материала и как сделать перила для лестницы решать вам.
Советуем:
Видео
Следующее видео будет интересно тем, кто желает самостоятельно собрать лестничное ограждение:
stroysvoimirukami.ru
Деревянные перила для лестницы: фото идеи своими руками
Перила являются неотъемлемой частью любой лестницы. На них возложена функция не только обеспечения удобства для спуска или подъема, но и создания внешне привлекательного элемента интерьера в помещении. Помимо этого, они призваны защищать против травмоопасных случаев и делать ограничение для пространства самой лестницы. На фото можно посмотреть стильные варианты перил из дерева для лестницы, сделанные своими руками.
Современные идеи в создании перил

Перила с остеклением

Перила из металлических прутьев



В настоящее время существует огромное количество решений по изготовлению поручней. Основными материалами, используемыми в подобной сфере строительства, считаются:
- древесина;
- стекло;
- пластик;
- металл.
Но если вы запланировали установку деревянной лестницы, то разумным вариантом будет являться изготовление перил из аналогичного материала. На фото можно увидеть, как эффектно могут смотреться поручни такого типа. Подобная работа не обязательно должна выполняться профессиональными специалистами. Вы вполне сможете своими руками создать красивые конструкции, которые смогут обезопасить вас и ваших близких и идеально впишутся в имеющийся в доме интерьер. Деревянные перила для лестницы на фото представлены в различных вариациях.
Подготовка к созданию перил своими руками
Первый этап при планировании подобной работы должен включать в себя:
- Получение сведений о строительных требованиях.
- Проведение расчетов относительно необходимого количество дерева.
- Подготовка соответствующего оборудования и инструмента.
- Разработка эскиза готового изделия.
- Проведение расчетов местонахождения балясин и ширины шага лестницы.
В качестве основы для опорных элементов рекомендуется применять более прочные и красивые породы дерева, такие как бук, клен или же дуб. Отделочные детали могут быть представлены орехом, ясенем или другими породами. Для придания более естественного внешнего вида лучше воспользоваться морилкой и лаком для покрытия деревянных перил.
Как сделать перила для деревянной лестницы?
Установка элементов опоры для лестницы является не самой простой, но для создания обычных деталей можно применить стандартные балясины. Весь необходимый материал вы сможете приобрести в строительном магазине, что существенно ускорит всю процедуру.
Для получения желаемого результата вам необходимо будет выполнить следующие действия:
- Подготовить брус и сделать из него 2 стойки. Их размеры должны составлять 100 на 75 мм.
- Прикрепить получившиеся детали к тетиве (внешней стороне), а также к верхней и нижней части лестничного марша.
- Проверить вертикальность стоек посредством строительного уровня.
- Установить третью стойку в центральной части пролета, на базе которой будет производиться монтаж остальных поручней.
- Создать три заготовки при помощи электроинструмента. Параметры каждой из них – 150 на 40 мм.
- Округлить кромку заготовок при помощи рубанка.
- Произвести крепление деревянных досок с соблюдением одинакового промежутка.
- Шлифовка всех элементов и покрытие лаком/краской/морилкой.
Как сделать красивые деревянные перила для лестницы своими руками?





Если вы хотите создать что-то необычное и изящное, то идеальным вариантом станет установка декоративных балясин. На фото вы можете посмотреть готовые работы по изготовлению таких поручней для деревянных лестниц. При отсутствии соответствующих навыков по профессии плотника, лучше приобрести готовые деревянные элементы или обратиться к мастеру с подобным заказом. На видео показано, как выполняются такие работы.
У готовых деталей имеется три составные части. Основой для балясины в данном случае является трапеция, установка которой должна осуществляться посредством шипов. Монтаж должен осуществляться к тетивам. Для крепления опорной стойки купленные деревянные элементы в обязательном порядке должны обладать соответствующими пазами в верхней части.
Последовательность действий будет выглядеть следующим образом:
- Установка балясины на основную опору при помощи шипов.
- Осмотр конструкции и соединение деталей с использованием столярного клея (должен высыхать в течение 1-2 дней).
- Последовательный сбор элементов, расположенных посередине.
- Крепление деталей к лестничной тетиве посредством шкантов. Для этого действия также понадобится столярный клей.
- Монтаж базовой части балясины к напольному покрытию. Для более надежного крепления рекомендуется применять анкеры.
После завершения основных работ потребуется установить рейку с пазом, параметры которой должны совпадать с размерами базовой части промежуточной балясины. Изготовление деревянных перил для лестниц осуществляется к тетиве потайным способом с использованием шурупов. Со средней стойкой детали нужно проделать аналогичные действия.
Завершающим этапом в данном процессе станет установка промежуточных деревянных перил. Здесь необходимо воспользоваться столярным клеем. После его нанесения требуется вставить опоры в соответствующие пазы нижней частью. В завершении нужно установить для каждой балясины верх.
lestnica-info.ru
Перила для лестницы своими руками
Перила — это элементы оградительной конструкции на лестнице. Перила обеспечивают безопасность передвижения при спуске или подъеме по лестнице. Перила отличаются вариативностью форм и материалов. Некоторые конструкции — простые на вид, безопасные и удобные. Некоторые же могут стать самым настоящим дизайнерским украшением, особенно, если лестница расположена в помещении.

Перила для лестницы своими руками
Сделать перила для лестницы можно из различных материалов: металл, дерево, бетон, пластик. Своими руками проще всего изготовить заградительные конструкции из металла и дерева. В статье можно найти подробную информацию о том, как правильно выбрать материал, обработать его и сделать красивые и надежные перила для лестницы.

Перила
Требования к конструкции перил
-
Высота оградительной конструкции должна быть не ниже 90 см.
-
Поручни должны быть гладкими и не слишком широкими.
-
На узких лестницах, одной стороной примыкающих к стене, устанавливается один пролет ограждения. Если лестничный пролет широкий, то рекомендуется устанавливать две оградительные конструкции.
-
Если крутая или высокая лестница монтируется в доме, где есть маленькие дети, предпочтительно смонтировать дополнительное низкое ограждение, за которое ребенку будет удобно держаться.
-
Расстояние между балясинами должно быть таким, чтобы ребенок не смог пролезть в проем. Оптимально -15-20 см.
Элементы оградительной конструкции

Элементы оградительной конструкции
-
Поручни. Это верхняя планка, расположенная над конструкцией перил. Именно за поручни люди держатся, когда спускаются вниз. Поручни должны быть гладкие, монолитные, чтобы за них было удобно держаться.
-
Балясины. Это стойки, которые прикрепляются к ступенькам или тетиве (несущий элемент под наклоном, находящийся на краю лестницы). Балясины крепятся к конструкции через определенную длину.
-
Тумба. Это концевая мощная стойка, находящаяся в конце лестницы. К тумбе крепятся поручни.
Выбор материала
Алюминий. Конструкцию из этого металла сделать своими руками достаточно сложно. Чаще всего различные крепежи и элементы ограждения продаются в готовом виде. Собрать перила своими руками из набора деталей достаточно просто, главное, выбрать конструкцию и рассчитать количество требуемых деталей. Сам материал не обладает высокими эксплуатационными свойствами, гнется при ударах, царапается, тускнеет, покрывается пятнами коррозии.

Алюминиевые перила
Хромированные ограждения также продаются в готовом виде, главное, правильно рассчитать и приобрести все нужные элементы. Недостаток хромированных деталей — быстрое истирание покрытия, особенно, если лестница расположена в людных местах.

Хромированные перила
Кованые ограждения. Горячая ковка — это преимущественно заводская работа, изготовить элементы ограждения из горячей ковки в домашних условиях весьма сложно. Холодная ковка — более выполнимая работа, при наличии специальных инструментов можно сделать перила своими руками. Плюсы — многовариативность оформления ограждения, минусы — достаточно высокая стоимость материала, специальный инструмент, сложность техпроцесса.

Кованые перила
Нержавеющая сталь. Металл обладает блеском, который не тускнеет. Ограждения для лестницы из нержавейки крепкие, надежные, но для их возведения своими руками требуются навыки сварочника и резчика по металлу.

Перила из нержавейки
Видео — Монтаж ограждения из нержавеющей стали
Простые перила из металлопрофиля своими руками

Простые перила из металлопрофиля своими руками
Набор инструментария и материал
-
Сварочный аппарат, пачка электродов, доступ к электричеству, защитный костюм и маска.
-
Угловая шлифмашинка с кругами для резки и полировки металла.
-
Уровень.
-
Место для сварочных работ.
-
Металлический профиль и металлопрокат. Желательно, чтобы профиль имел небольшое сечение, так его легче нарезать.
Порядок работ
В первую очередь определяется высота перил и расстояние между балясинами. На самой верхней ступеньке, как и на нижней, устанавливаются тумбы — элементы, которые фиксируют всю конструкцию ограждения. Тумбы должны быть толще по диаметру, чем балясины.
Размеры поручней
Рассчитывается высота ограждения. Стандарт — 95 см. Но рама перил должна быть приподнята над ступеньками на 10 см. Также стоит учесть 5 см на поручень. Итого, от 95 см отнимается 15 см и получается 80 см. Именно на такой размер раскраивается металлопрофиль на тумбы и балясины.

Лестничные ограждения. Чертеж
Если длина рамы составляет 3 метра, то поперечный верхний и нижний профиль, на который прикрепляются балясины между тумбами, также должен раскраиваться на 3 метровые элементы.
Сварка рамы. Из раскроенного профиля выкладывается рама и слегка прихватывается сваркой. Не нужно сразу намертво приваривать элементы, в случае брака или перекоса придется выполнить лишнюю работу. Сваренная рама армируется: через 10 см навариваются балясины. Стоит учесть, что крайние тумбы должны быть минимум в два раза толще, чем внутренние металлические вертикальные перемычки.
Если конструкция полностью соответствует стандарту и не имеет перекосов, можно приступать к финишной сварке всех элементов. Рекомендуется сваривать швы с двух сторон, чтобы ограждение было максимально прочным.
После того, как рама готова, к нижнему профилю нужно приварить столбы с круглыми или квадратными пластинами, имеющие высоту 10 см. В пластинах высверливаются отверстия для крепежа к ступенькам.
Облагораживание внешнего вида конструкции
Для этой цели нужна угловая шлифмашинка с зачистным кругом. Нужно тщательно отполировать все остатки сварки: капли, наросты.
Специалисты рекомендуют придать самодельному изделию красивый и необычный вид с помощью покупных кованных элементов. Специализированные магазины предлагают множество кованных аксессуаров, которые можно приварить к обрешетке рамы: вьющаяся лоза с листиками, цветы, орнамент.

Деревянные поручни
Также требуется продумать вид поручней. Чаще всего их изготавливают из древесины. Деревянные заготовки закругляют с трех сторон и тщательно полируют.
Покраска перил из металлопрофиля

Покраска перил из металлопрофиля
Первый слой — грунтовка, которая защитит от коррозии. Затем нужна краска по металлу. Цвет зависит от индивидуальных предпочтений, но чаще всего используется черный. Дизайнеры рекомендуют придать шик самодельному ограждению. Для этой цели используется патина — материал, придающий металлу старый и благородный вид. Металлические перила своими руками готовы.
Деревянное ограждение лестницы своими руками

Деревянное ограждение лестницы своими руками
Выбор древесины для конструкции
Сосна. Этот материал довольно доступный по цене и очень часто используется в строительстве. Сосна мягкая, ее древесина имеет неравномерную структуру, за счет чего при покраске укрывной материал впитывается с разной интенсивностью. Хорошо поддается обработке, выдерживает перепады температуры и влажности.
Дуб. Это один из самых прочных и долговечных видов древесины. Обработанные дубовые элементы не деформируются, не растрескиваются, не гниют и устойчивы к паразитам. Но, это довольно дорогой по цене материал.
Береза. Плотный и прочный материал, практически не имеющий суков. Хорошо обрабатывается, полируется. Но, древесина имеет целый ряд недостатков: подвержена гниению, при изменении температуры и влажности трескается.
Бук. По физическим характеристикам эта древесина ничем не уступает дубу. Но, пересушивать бук не рекомендуется. Пласт дерева при низкой влажности разрывает по волокнам, что приводит к порче элементов.
Элементы деревянной конструкции перил

Элементы деревянной конструкции перил
Как и в металлических, в деревянных конструкциях различают поручень, балясины и тумбы. Но, в изделиях из дерева балясины являются не только опорным элементом, но и украшением конструкции. Чаще всего они выполняются из клееного бруса и вытачиваются в виде различных по форме столбиков.
Фрезерная обработка балясин заключается в нарезании винтовых узоров на поверхности элементов.

Фрезерная обработка балясин
При токарной обработке на элементах можно увидеть несколько совмещенных геометрических фигур: шары, квадраты, прямоугольники и т.д.
Видео — Перила для лестницы своими руками. Установка фигурных балясин и монтаж поручня
Ручная резка балясин — это настоящее произведение искусства. На поверхности деталей вырезаются узоры, орнаменты и многое другое. Некоторые резчики по дереву выполняют эти элементы в виде фигур животных.

Ручная резка балясин
Плоские балясины — это досточки, на которых прорезаны узоры. Это самый простой способ украсить лестницу своими руками.

Плоские балясины
Перила из плоских балясин своими руками
Как описывалось выше, стандартная и безопасная высота конструкции должна быть не меньше 95 см. Ширина поручня — 5 см, расстояние между ступеньками и ограждением — 10 см. В итоге, высота балясин — 80 см. Для этих элементов нужны деревянные дощечки, шириной 10-15 см, толщиной 30-35 мм.

Перила из плоских балясин своими руками
Чтобы создать резное и красивое ограждение, дощечкам нужно придать форму. Специалисты, освоившие токарный станок, могут выпилить резьбу по торцам доски с помощью оборудования. Если же станка в наличии нет, то в ход идет ручной электроинструмент, например, лобзик.
Для этого на бумаге или картоне нужно нарисовать шаблон, имеющий реальные размеры. Затем с помощью карандаша обвести шаблон на каждой дощечке и выпилить форму по меткам. После того, как все балясины приобрели нужную форму, требуется тщательно обработать торцы, зачистить их мелкозернистой наждачкой и отполировать до блеска.
Установка балясин
Плоские балясины, в отличие от деревянных фигурных столбиков, не рекомендуется крепить к ступенькам. Ограждение получится ненадежное и шаткое. Элементы нужно монтировать на поперечный брус, который расположен на 10 см выше тетивы. Получается, что поручень, нижний брус и верхняя и нижняя тумбы образуют раму, в которую требуется вставить плоские балясины.
Балясины деревянные резные
Крепить перекладины нужно через 15 см, но не более. Можно использовать два типа соединения — в пазы и на металлические шпильки. Если балясины будут вставляться в пазы, то на нижней части поручня и на верхнем торце поперечного бруса нужно вытачивать пазы, на 2 см в глубину. Длина углубления должна равняться ширине балясины.

Установка балясин
Не стоит забывать о наклоне лестницы. Стоит знать, что нижние торцы балясин должны быть ровные, а вот верхние — срезаны под угол наклона лестницы. Именно на срезанные торцы будет крепиться поручень.

Вариант крепления балясин
На металлические шпильки балясины прикрепляются в том случае, если нет возможности монтировать поперечный брус. В этом случае не будет зазора в 10 см, между поперечным брусом и ступеньками. Высота балясин в этом случае должна равняться 90 см. Прикрепляется балясина к ступеньке одной шпилькой, в процессе работы важно прикрепить элемент ровно, без перекосов. Для этих целей можно использовать угол.

Монтаж ограждения лестницы с помощью струбцин
После того, как все оградительные элементы прикреплены к ступенькам, можно монтировать поручень. Для него используется брус, который с трех сторон закруглен и тщательно отшлифован.
Последний этап создания деревянных перил для лестницы — финишная отделка. Для этого можно использовать акриловые краски, лак, морилку.
Красивая лестница своими руками готова.
tolkostroyka.ru
конструкция, изготовление и установка своими руками, фото
Деревянные перила используются в строительстве ещё с тех времен, когда основными материалами, применяемыми человеком, были дерево и камень, а о пластмассе и нержавеющей стали никто ничего не знал.
Но если в те времена использование дерева было насущной необходимостью, то сейчас его используют из-за имеющихся у него преимуществ.
Плюсы и минусы конструкции
К достоинствам принято относить:
- Эстетичность. Дерево красиво выглядит, приятно пахнет и оставляет огромный простор для резных узоров. Если нанять мастера, можно превратить балясины в настоящее произведение искусства, достойное лучшего скульптора. Да и без резьбы материал выглядит красиво и навевает приятные ассоциации.
- Экологичность. Дерево не вредит экологии – прослужив свой срок и будучи выброшенным, оно очень быстро разложится. Кроме того, оно не токсично, не выпускает вредных для человека веществ и не может послужить причиной отравления.
- Простота обработки. Сделать простейший узор на стойках сможет человек, потренировавшийся перед этим всего пару часов – а выглядеть украшение все равно будет превосходно.
- Долговечность. При правильном уходе дерево способно служить долгие годы, не рассыхаясь и не разбухая.
Из недостатков можно выделить:
- Горючесть. Если случится пожар, перила загорятся от первой же искры.
- Требовательность к условиям. При больших перепадах температур, высокой влажности, нечастой уборке, материал имеет свойство рассыхаться или разбухать и терять всю красоту.
- Дороговизна. Благородные породы, которые могут прослужить долго, стоят приличных денег.
Однако в тех случаях, когда дизайн сильно выигрывает от использования таких перил и в доме не ожидается перепадов температуры и влажности, плюсы перевешивают минусы.
Элементы конструкции
Как и любые другие, деревянные лестничные ограждения состоят из двух основных частей:
- Поручня, представляющего собой длинный брусок, на который человек опирается при подъеме или спуске.
- Столбики (балясины), на которые опирается поручень.
В этой нехитрой конструкции есть свои правила, которые обязательны к выполнению:
- Высота перил не должна быть меньше 90 см (для внутренних лестниц в жилом доме).
- Ширина расстояния между опорами не должна быть больше 20 см.
- Расстояние от поручня до стены не должно быть больше 4 см.
- Крайние опорные столбики должны быть более толстыми, чем все остальные, поскольку именно на них приходится основная нагрузка.
Если нарушать эти правила, может произойти несчастный случай – например, маленький ребенок способен просунуть голову между опор, которые расположены дальше 20 сантиметров друг от друга.
Как самостоятельно изготовить кованые перила для лестниц — читайте в этом материале.
Какие бывают варианты перил для лестницы из металла — смотрите тут.
Какое дерево лучше выбрать?
- Твердые породы. К ним относятся, например, бук и дуб, которые показывают наилучшие показатели по долговечности и стойкости к внешним воздействиям. Однако и стоят они соответственно своему качеству.
- Хвойные породы. Сосна и ель приятно пахнут, служат меньше, чем твердые породы, но дольше, чем мягкие. Цена их также меньше, чем у твердых пород, и на рынке они считаются «золотой серединой».
- Мягкие породы. Береза или ольха дают большую усадку и служат относительно недолго, но и стоят мало.
Выбирать следует, руководствуясь финансовым положением и перспективами. Для дачи, например, вряд ли стоит покупать дуб, который считается очень престижным материалом.
Необходимые инструменты
Для изготовления перил понадобятся:
- Шлифовальная машинка или большое количество наждачной бумаги.
- Болгарка.
- Шуроповерт – лучше всего электрический.
- Лобзик.
- Пила.
- Линейка и карандаш.
- Клей.
- Шканты.
Все инструменты должны быть в рабочем состоянии и всегда под рукой.
Изготовление своими руками
Прежде чем приступать к работе, следует подготовить все необходимые детали. Для этого поблизости должен быть токарный станок или столярная мастерская, в которой он есть. Затем:
- Нужно подготовить бруски для перил. Померить длину и распилить доски так, чтобы они получились одинаковой длины и толщины. В зависимости от того, какое подразумевается количество крайних опор, следует приготовить такое же количество больших брусков.
- Придать им форму – самостоятельно на токарном станке или обратившись в столярную мастерскую. Форма может быть любой – квадрат, круг, овал, можно сочетать, например, сделав крайние столбики с квадратным сечением, а остальные с круглым.
- Придать балясинам эстетичный вид. Для этого можно воспользоваться как обычным ножом, так и набором для резьбы по дереву. Самые простые узоры не требуют большого мастерства, если же хочется получить произведение искусства – можно обратиться к мастеру соответствующего профиля.
- Отшлифовать их. Можно сделать это с помощью шлифовальной машинки – так будет быстрее, а можно потратить время и отшлифовать каждый столбик вручную с применением наждачной бумаги. Главное, чтобы в результате не было торчащих щепок и шероховатостей.
- Сделать в каждой опоре отверстие под шкант.
- Спилить верхушку каждой стойки немного наискось так, чтобы она повторяла угол наклона перил.
Параллельно нужно изготовить брус для поручня. Он должен быть длиннее и более плоским, но сделать ему круглое сечение или резные узоры по бокам можно – это сделает ограждение более эстетичными.
Можно также приготовить материал для щита, который устанавливается впоследствии между столбиками.
Он может быть как защитой детей и домашних животных, так и элементом декора.
Порядок установки
Устанавливать перила нужно аккуратно и последовательно. Ошибка может привести к тому, что всю конструкцию придется переделывать:
- Следует нанести на ступени разметку для шкантов. Все они должны располагаться на одном и том же расстоянии до края и на одной линии. Делать это нужно при помощи карандаша и линейки, после измерить отдельно, чтобы не было ненужных изгибов и сбоев.
- В отметках нужно сделать отверстия, в которые вставляются шканты.
- Капнуть немного клея в отверстие на конце столбика и осторожно навинтить его на шкант. Клей поможет обеспечить дополнительное сцепление и сделает менее вероятным выход ограды из строя.
- Взять тонкую рейку и прикрепить её на опоры. Если на этом этапе рейка лежит неровно, значит стойки были подпилены неправильно и это нужно исправить.
- Когда рейка ляжет идеально, на неё с помощью саморезов крепится поручень. Вкручивать их нужно снизу, с той стороны, где ступени, чтобы их не было видно.
- После этого конструкцию следует покрыть лаком или краской. Лак хорош в тех случаях, когда в интерьер вписывается теплое очарование неизменного дерева, краска – если комнате больше подойдет подделка под серебро или бронзу. Главное — выбирать нетоксичные и долговечные материалы и при необходимости обновлять их время от времени.
Инструкцию по монтажу перил вы можете посмотреть на следующем видео:
Фотогалерея лестничных ограждений из дерева
На фото ниже вы можете посмотреть различные варианты исполнения такой конструкции:
vamzabor.net
Перила из дерева своими руками: подготовка, выбор материала, установка

Перила это неотъемлемый элемент лестницы.
Перила — это конструкция, обеспечивающая удобство и безопасность при передвижении по лестничным пролетам, балконам или террасе. Вместе с этим могут служить стильным украшением внешнего вида лестницы.

Необычный дизайн лестничных перил.
Начальный этап. Что необходимо подготовить
Прежде, чем начать работу по изготовлению и установке ограждающих конструкций своими руками, важно произвести точные расчеты количества материала и подготовить необходимый инструментарий.

Расчет деревянных перил.
Используемые инструменты должны соответствовать выбранному материалу:
- дрель и сверла для работы по дереву;
- шуруповерт и электролобзик;
- ножовка, молоток среднего размера;
- долото, отвертки, стамеска;
- отвес, уровень цилиндрический.
Составные части деревянных перил:
- концевые и опорные тумбы. Требуют тщательного закрепления, поскольку на них ложится наибольшая часть нагрузки при эксплуатации;

Опорная тумба.
- балясины. В зависимости от оформления могут иметь различные геометрические формы. Исполнение, в зависимости от стиля лестницы или террасы, может быть лаконичным, простым или резным, с объемным орнаментом;

Деревянные балясины.
- поручень. Должен быть гладким и не иметь сколов во избежании получения травм.

Перила из дерева.
Выбор древесины
Для изготовления перил для лестницы и террасы своими руками используются различные породы дерева:
- Лиственные с твердой структурой, такие как бук, дуб, ясень. Отличается своей дороговизной и прочностью, плотностью, долгим сроком службы. Структура дерева достаточно выразительна;

Перила из бука.
- Хвойные породы: лиственница, сосна, пихта, тис, ель. Структура их мягче лиственных, по цене более доступна. Имеют выраженный смолянистый запах, отличаются биостойкостью;
- Лиственные, которые имеют мягкую структуру: осина, ольха, береза. Легко поддаются полировке, хорошо режутся, но сильно усыхают и неустойчивы к гниению. Мягкая древесина подлежит обработке для предотвращения пересыхания, расслаивания. Для этой цели можно использовать лакокрасочные покрытия и антисептические пропитки.

Перила из березы.
Для ограждающих конструкций, установленных на улице, самый оптимальный материал — это сосна. Она имеет высокое содержание смолы, что является защитой от возникновения грибка и плесени, от пересыхания. Дуб, бук и лиственница также являются хорошим материалом как для лестничных перил, так и для ограждения террасы. Древесина сибирской лиственницы устойчива к различным погодным условиям, перепадам температур и влажности.

Терраса из сосны.
Если для изготовления перил предполагается использование еловой древесины, то стоит приобрести ту, которая была подвергнута термической обработке. В домашних условиях ее следует тщательно высушить, но не следует сырые доски класть рядом с отопительными приборами.
Дизайн лестниц и перил из различных пород дерева.
Требования к установке
Независимо от того, какой формы будут деревянные перильные ограждения, при их сборке и установке своими руками следует учесть следующие нормы безопасности:
- Оптимальная высота перил для лестницы составляет 90 — 100 см;
- Самая высокая нагрузка оказывается на крайние стойки опоры, их следует сделать более крупными. Их сечение лучше сделать не менее, чем 100*100 мм;
- Если лестница на террасу имеет более трех ступеней, то необходимо установить ограждающую конструкцию;

Перила для лестницы ведущей на террасу.
- Поручни следует располагать не ниже, чем в полуметре от пола террасы, независимо от целей эксплуатации;
- Нагрузка, которую деревянные перила должны выдержать — не менее 100 кг/м. В этом случае на них можно опереться без опаски. На прочность перил влияет не только материал их изготовления, но и способ крепления всех составляющих элементов;
- Поручни должны быть идеально гладкими. Для их изготовления наилучшим образом подойдет брусок, толщина которого составляет 60 мм;

Ширина поручня.
Варианты исполнения деревянных ограждений
В зависимости от общего стиля лестницы или террасы, а также от интерьера дома, элементы перил могут иметь различное оформление:
- Деревянные балясины выполняются в различных вариантах, их сечения могут иметь различные формы: круглые, квадратные, прямоугольные. В одной конструкции могут использоваться как однотипно изготовленные балясины, так и в сочетании друг с другом. К примеру, можно использовать чередование: стойка с квадратной формой сечения следует за тремя балясинами с круглой;

Различные формы балясин.
- Ограждения перил можно заполнить разнонаправленными тонкими деревянными элементами. Такой вариант придаст всей конструкции легкости и изящества;
- Стойки можно сделать фигурными или резными;

Резные стойки.
- Перемычки при заполнении перил могут располагаться как горизонтально, так и вертикально. Балясины лишь вертикально;
- Перила для террасы своими руками можно сделать открытыми и закрытыми. Второй вариант предполагает защиту от погодных явлений (осадки, яркий солнечный свет).
Перед тем, как приступить к изготовлению перил своими руками, следует рассчитать необходимое количество деревянных элементов (горизонтальных, вертикальных, опорных, декоративных). При вертикальном заполнении промежуток между балясинами не должен превышать 15 см. Расстояние между опорными брусьями может быть различно, если это не повлияет на устойчивость всего ограждения.

Расстояние между балясинами.
Этапы монтажа ограждающих конструкций из дерева
Перед созданием перил своими руками следует нанести разметку в соответствии с ранее заготовленным планом.Начать сборку следует с установки крайних опорных тумб (столбов). Поручни должны располагаться на высоте около 90 см. Этот параметр наиболее удобен для передвижения по лестнице. Промежуток между опорами не должен быть более 120 см. Это расстояние зависит от вида ограждающей конструкции и веса ее составных элементов.

Разметка и установка столбов.
Установку тумб своими руками можно произвести следующими способами
В нижней части стойки выпиливается паз с косым углом для большого болта. Такой вариант носит название «крепление глухарем». Второй способ не предусматривает выпиливание паза, для него достаточно прямоугольного выреза. Но сложность в том, что он должен быть выполнен при помощи сегментной шайбы и специального ключа. Последний вариант крепления не всегда доступен при изготовлении перил своими руками ввиду труднодоступности необходимых инструментов.

Варианты крепления стойки.
Также можно использовать способ крепления на анкерные болты (такой вариант подходит при сборке перил для деревянной террасы). Опорные столбы можно дополнительно оснастить кронштейнами для усиления крепления. На тумбах сверху закрепляется шнур, по которому прокладывается поручень. Затем нужно отметить места установки балясин, отмеряя определенные промежутки. На балясинах, по центру, карандашом наносятся линии оси.

Пример крепления балясин с помощью шкантов.
Далее деревянные балясины крепятся к основанию (для лестниц это ступени или тетива). Затем верхние части балясин отпиливаются. Угол отпиливания зависит от угла наклона лестничной тетивы. Нижние торцы должны быть установлены строго горизонтально при креплении на ступени.

Важно просчитать правильны угол для отпиливания балясин.
Наиболее простой способ крепления балясин — при помощи гвоздей. Главный минус в том, что через некоторое время вся установленная конструкция может начать скрипеть и покачиваться, поэтому такой способ крепления нельзя назвать надежным. Элементы и детали, которые крепятся на саморезы и дополнительно обрабатываются клеем, более устойчивы и надежны. Еще один способ прочного крепления перил: на торцах балясин установить шпильки, а в поручнях и ступенях (или тетивах) под них сделать отверстия. Затем их следует тщательно скрепить между собой, дополнительно для прочности можно использовать клей и саморезы.

Крепление балясины с помощью шпильки.
Важно!
Установка балясин своими руками должна проводиться при помощи строительного уровня, для их строго вертикального расположения. Для этого можно использовать также и отвес. Только после установки всех балясин можно приступать к дальнейшей сборки перильного ограждения.
Ко времени установки деревянного ограждения на террасе напольное покрытие должно быть полностью смонтировано, поскольку крепление опорных столбов происходит непосредственно к полу. Для этого необходимы анкерные болты с резьбовой шпилькой, дрель.

Монтаж деревянного ограждения к полу террасы.
После сборки перил своими руками, необходимо отшлифовать все неровности, зашпаклевать зазоры и видимые части металлических элементов сборки (саморезов), убрать пыль и опилки. Перед покраской провести подготовку: протереть влажной тряпкой и дать высохнуть. Выбранным цветом можно подчеркнуть фактуру дерева, добавить яркости. К светлым оттенкам древесины подойдут прозрачные покрытия. Цвет рябины удачно сочетается с красноватыми оттенками. Для дуба идеальны темные цвета. Для покрытия можно использовать также паркетный или яхтный лак.
Крепление балясин к основанию деревянной лестницы.
Особенности изготовления деревянного поручня
В том случае, если длина лестницы не превышает 1,5 метров, можно использовать для изготовления поручня своими руками всего одну доску. Для сборки поручней большей длины следует изготовить составную конструкцию из отдельных фрагментов.Размер сечения поручня по величине должен равняться сечению балясины, но не менее, чем 60 мм. Форма может быть любой, но верхняя часть обязательно должна быть закругленной. Обтачивание лучше всего производить на токарном станке. Шипы для крепления, если они предусмотрены, делаются одновременно с обработкой бруса. Все элементы поручня должны быть тщательно отшлифованы и не иметь шероховатостей и неровностей.
Изготовления деревянного поручная для лестницы.
Похожие статьи
metasold.com













