Содержание
Прижимное устройство для деревообрабатывающего станка
Прижимное устройство для строгального станка своими руками
Содержание статьи:
Для обработки деревянных поверхностей в станках устанавливаются пилы или валы специальной формы. Однако в некоторых моделях отсутствует прижимное устройство, которое обеспечивает максимальный контакт заготовки с зоной обработки. Для модификации подобный механизм можно сделать своими руками.
Виды строгальных станков
Строгальный станок по дереву
Конструкция прижимного механизма напрямую зависит от модели оборудования. Поэтому предварительно необходимо тщательно изучить техническую документацию, особенности элементов станка, их характеристики.
Наиболее распространенный вариант представляет собой силовую установку (электродвигатель), которая приводит в движение цилиндрическую ножевую головку. Ее верхняя часть находится выше уровня опорного стола. Последний может смещаться относительно режущей части в вертикальном направлении.
Таким образом регулируется глубина обработки деревянной заготовки. Подобную модель можно сделать своими руками.
Кроме вышеописанного деревообрабатывающего станка для массового производства применяют следующие виды оборудования:
- рейсмусовые с одной режущей головкой;
- циклевальные. Устанавливаются на линиях по сборке мебели, дверных и оконных конструкций;
- двух, трех и четырехгранные. Обработка происходит сразу в нескольких плоскостях, что повышает производительность;
- модели с несколькими ножами.
Практически все современное оборудование имеет прижимы. Исключение составляют станки, сделанные своими руками или старые модели.
При выборе конструкции фиксатора следует обращать внимание на конфигурацию оборудования. После ее монтажа эксплуатационные и технические качества не должны ухудшиться.
Назначение прижимного устройства для станка
Заводское прижимное устройство
На первый взгляд модификация деревообрабатывающего станка необходима только для фиксации заготовки.
Однако при правильном выборе схемы изготовления установленная часть может выполнять ряд других, не менее важных функций.
Во время обработки деревянных изделий можно отрегулировать их фиксацию вручную. В итоге это сказывается на качестве поверхности. В особенности это касается тонких планок, толщина которых не превышает 2-3 см. Поэтому фиксирующее устройство, сделанное своими руками, после установки на станок должно иметь следующие функции:
- плавная регулировка уровня фиксации. Осуществляется путем равномерного давления на деталь;
- качество обработки не должно зависеть от длины изделия;
- во время работы элементы оборудования не повреждают деревянную поверхность;
- безопасность. Эксплуатационные качества механизма должны отвечать современным требованиям безопасности труда.
Перед началом проектирования рекомендуется ознакомиться с аналогичными заводскими моделями. Для изготовления прижимного механизма своими руками будут применяться подручные материалы.
Поэтому при выборе оптимальной конструкции необходимо руководствоваться принципом целесообразности.
Для фуговального станка специалисты не рекомендуют устанавливать устройство для фиксации. Это может отразиться на качестве изделий.
Самодельный прижим: вариант №1
Самодельное прижимное устройство
Чаще всего для изготовления вышеописанной конструкции за основу берут деталь от старой стиральной машины, а в частности — валики для выжимания влаги. В некоторых случаях после небольшой модификации дополнение можно установить на оборудование.
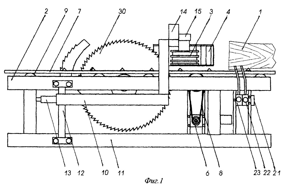
Рама состоит из четырех опорных лап, которые соединяются между собой П-образным профилем. На нем устанавливаются фиксирующиеся валы. Профили не фиксируются на основании, а свободно передвигаются по ним. В верхней части конструкции находится фиксирующая планка, соединенная с регулировочной ручкой червячной передачей. Для амортизации можно установить пружины, которые будут частично компенсировать сильное давление при обработке неровных поверхностей.
Чертеж прижимного устройства
В составе конструкции следующие компоненты.
- Винт.
-
Пластина для соединения. - Пластина, обеспечивающая надежную фиксацию.
- Опорная стойка. Для комплектации потребуется 4 штуки.
- Два валика.
- Две боковых опоры для валиков.
- Компенсационные пружины — 2 шт.
- Гайка.
- Фиксирующие оси для валиков.
С помощью верхней ручки происходит регулирование степени прижима. Недостатком подобной модели является большая массивность. Она может подойти не для всех типов станков.
Для уменьшения трудоемкости изготовления механизма для строгального станка можно использовать валики стиральной машины. Предварительно их нужно обрезать.
Самодельный прижим: вариант №2
Альтернативное прижимное устройство
Альтернативным вариантом изготовления прижима для станка своими руками является небольшая модификация оборудования. Она заключается в монтаже по бокам станины двух реек.
В основной рабочий вал устанавливаются два подшипника, которые проходит фиксирующая ось.
Сложность может заключаться в конфигурации станины. Все модели имеют ровные края, обеспечивающие монтаж проушин. Регулировка степени зажима осуществляется с помощью пружины. Она смещается по рейкам, тем самым изменяя давление на заготовку.
Элементы конструкции.
- Основной рабочий вал.
- Подшипники.
- Ось с резьбой.
- Гайка.
- Пластины.
- Тяга.
- Пружины.
- Фиксация для пружин.
- Ось эллипса.
- Две пластины.
- Стопор.
- Эллипс.
- Рукоятка.
- Ось.
- Две проушины.
- Уголок.
- Болт для крепления.
Преимуществом этой системы является увеличение производительности труда. При подаче заготовки ее торцевая часть будет упираться в вал, приподнимая его. Это позволит обрабатывать несколько деталей без предварительной регулировки самодельного прижима.
В видеоролике показан пример еще одной конструкции фиксирующего механизма:
youtube.com/embed/BAgnOQltexo?wmode=transparent&fs=1&hl=en&modestbranding=1&iv_load_policy=3&showsearch=0&rel=1&theme=dark» frameborder=»0″ allowfullscreen=»»>
Чертежи и фото самодельных устройств
Обзор и сравнение заводских моделей
| Модель | УП-2000 | УП-05 | УП-2200 | УП-2500 |
| Ширина обработки, мм | 230 | 200 | 250 | 270 |
| Толщина заготовки, мм | 8-63 | 8-63 | 8-63 | 8-63 |
| Вес, кг | 3 | 2,5 | 3,2 | 5,6 |
| Габариты, мм | 293*304*113 | 255х270х105 | 293*324*113 | 293*344*113 |
| Цена, руб | 2871 | 2871 | 3133 | 3393 |
- УП-2000
- УП-05
- УП-2200
- УП-2500
Зажимное оборудование для деревообработки | Schmalz
Вакуумная технология зажима для обработки древесины необходима для эффективной установки консольного стола, решетчатого стола, скворечника и плоских столов.
Существующие обрабатывающие центры могут быть легко модернизированы с помощью зажимной системы Innospann. Зажимное оборудование Schmalz позволяет зажимать как узкие, так и заготовки из массива дерева. Multi-Clamp — это идеальный инструмент для ручной фиксации мелких и средних заготовок.
При использовании 1-контурной или 2-контурной системы, обработки панелей или изготовления рам — консольные вакуумные блоки от Schmalz можно точно позиционировать и быстро и легко заменить при изменении заказа. Выберите из нашей обширной программы высококачественных вакуумных блоков и запасных частей в оригинальном качестве производителя оборудования.
При использовании 1-х или 2-х контурной системы, обработки панелей или изготовления рам — консольные вакуумные блоки от Schmalz можно точно позиционировать и быстро и легко заменить при изменении заказа.
Выберите из нашей обширной программы высококачественных вакуумных блоков и запасных частей в оригинальном качестве производителя оборудования.
При использовании 1-контурной или 2-контурной системы, обработки панелей или изготовления рам — консольные вакуумные блоки от Schmalz можно точно позиционировать и быстро и легко заменить при изменении заказа. Выберите из нашей обширной программы высококачественных вакуумных блоков и запасных частей в оригинальном качестве производителя оборудования.
При использовании 1-контурной или 2-контурной системы, обработки панелей или изготовления рам — консольные вакуумные блоки от Schmalz можно точно позиционировать и быстро и легко заменить при изменении заказа , Выберите из нашей обширной программы высококачественных вакуумных блоков и запасных частей в оригинальном качестве производителя оборудования.
Вакуумные блоки Schmalz для решетчатых столов обеспечивают простое и гибкое использование; без сложной установки.Нескользящие крепления позволяют надежно закреплять заготовки даже при высоких усилиях обработки. Это делает их идеальными для сложных пятиосных применений без износной пластины.
Вакуумные системы для использования непосредственно на износостойкой плите МДФ обрабатывающего центра с ЧПУ со столом для раскройщиков.
Зажимные решения Schmalz обеспечивают быструю и простую настройку обрабатывающих центров с ЧПУ с плоским столом.Сначала вакуумные блоки, а затем заготовка фиксируются для машинной обработки через два независимых вакуумных контура. Schmalz предлагает вакуумные блоки со шланговым соединением для универсальных плоских столов и версию без шлангов для плоских алюминиевых столов со встроенным распределением вакуума.
Вакуумная зажимная система Innospann позволяет модернизировать каждый обрабатывающий центр с ЧПУ независимо от производителя и типа. Модернизация способствует быстрой и гибкой модернизации после частой смены продукта — для эффективных производственных процессов, начиная с единичного производства.Таким образом, Schmalz обеспечивает экономическую альтернативу инвестициям в новую машину.
Вакуумная зажимная система Multi-Clamp является идеальным инструментом для быстрого и гибкого зажима мелких и средних заготовок. Они могут быть зафиксированы в любой позиции и обработаны всесторонне. Multi-Clamp является портативным и может использоваться в различных промышленных условиях, в мастерских и на стройплощадках.
Очень узкие и изогнутые детали можно легко и надежно зажимать с помощью механических зажимов и переходных пластин от Schmalz.
Узкие всасывающие поверхности позволяют точно позиционировать вакуумный блок по контурам заготовки, удерживая заготовку на месте. Заготовка механически крепко закреплена на месте с помощью зажима.
Сменные присоски для вакуумных блоков разных размеров для различных систем столов машин. Верхнюю и нижнюю присоски можно быстро и легко заменить.
.Вакуумные зажимные устройства
: дерево, металл и пластик Вакуумные присоски
Ассортимент нашей продукции включает в себя различные присоски различных форм, размеров и материалов, обеспечивающие подходящие присоски для каждого применения. Присоски состоят из эластомерной части и соединительного ниппеля.
Специальные захваты могут использоваться для применений, в которых обычные присоски не могут создавать вакуум. Schmalz предлагает различные специальные захваты с различными формами, размерами и принципами работы.
Системы захвата области и концевые эффекторы — это системы захвата, которые можно прикрепить непосредственно к роботу. Захваты универсальны и используются в самых разных областях применения роботов. Вакуумные концевые эффекторы легко настраиваются из модульной системы. Они особенно подходят для процессов в упаковочной промышленности.
Schmalz предлагает широкий спектр возможностей монтажа для встраивания присосок или специальных захватов в вакуумную систему.
Вакуумные генераторы обеспечивают необходимый вакуум. Вакуум создается либо пневматически (эжекторы), либо электрически (насосы, воздуходувки). Пневматические вакуумные генераторы обеспечивают короткое время цикла и могут быть интегрированы непосредственно в систему благодаря их компактной и легкой конструкции.
Эжекторы предлагают интеллектуальные функции для управления энергией и процессом. Электрические вакуумные генераторы используются в тех случаях, когда сжатый воздух отсутствует или требуется очень высокая мощность всасывания.
Клапаны используются для контроля вакуума, а также сжатого воздуха. Правильные клапаны могут повысить как надежность процесса, так и экономическую эффективность вакуумной системы.
Устройства для мониторинга системы имеют решающее значение для обеспечения безопасной работы вакуумной системы. Schmalz предлагает широкий ассортимент переключателей, измерительных и управляющих устройств, а также предупреждающих устройств.
Фильтры защищают вакуумный генератор от загрязнения.Вакуумные распределители, шлангопроводы и соединения дополняют вакуумную систему и соединяют присоски с вакуумными генераторами.
Компания Schmalz предлагает сертифицированные курсы, семинары и индивидуальные тренинги для клиентов по всем темам, связанным с вакуумными технологиями и эффективностью, и предоставляет экспертные знания, адаптированные к конкретным требованиям вашей компании.
Цифровые решения от Schmalz помогают в полной мере использовать потенциал интеллектуальных компонентов, особенно устройств IO-Link.Их можно использовать от ввода в эксплуатацию до эксплуатации и обслуживания.
.
DIYWORK Машина Зажимное Устройство Защелка Зажим Зажим Инструмент Ручной инструмент Горизонтальная сварочная арматура Деревообработка Гравировка Зажим | |
Особенности:
- Ручной инструмент с металлическими защелками, рычажный крепеж
- Применимо для быстро прессуемого листового металла или печатной платы, механической эксплуатации, сварки, сборки электронного оборудования и т.
Д. - Материал: металл + пластик
- Усилие зажима: 150 кг (4001) 250 кг (4002)
- Размер: как на картинке
Упаковка включает в себя:
- 1 х Зажимной зажим Зажимной инструмент
0
1.ДОСТАВКА ПО ВСЕМУ МИРУ. (За исключением некоторых стран и APO / FPO)
2. Заказы обрабатываются своевременно после подтверждения платежа.
3. Мы только грузим к адресам подтвержденного заказа. Ваш заказ адрес должен совпадать с адресом доставки.
4. Показанные изображения не являются фактическими и приведены только для справки.
5. ВРЕМЯ ПЕРЕХОДА ОБСЛУЖИВАНИЯ, предоставляемых перевозчиком, исключая выходные и праздничные дни. Время в пути может меняться, особенно во время курортного сезона.
6.Если вы не получили свой заказ после 30 дней с момента оплаты, пожалуйста, свяжитесь с нами. Мы проследим ваш заказ и свяжемся с вами.
Наша цель — удовлетворение потребностей клиентов!
7. Срок поставки:
1. У вас есть 7 дней, чтобы связаться с нами, и 30 дней, чтобы вернуть его с даты получения. Если товар находится в вашем распоряжении более 7 дней, он будет считаться использованным
, и МЫ НЕ ВЫДАЕМ ВАМ ВОЗВРАТ ИЛИ ЗАМЕНУ. Нет никаких исключений. Стоимость доставки несет как продавец, так и покупатель пополам.
2. Все возвращаемые товары должны быть в оригинальной упаковке, и вы должны предоставить нам номер отслеживания доставки, конкретную причину возврата,
и идентификатор вашего заказа.
3. Мы вернем ВАШУ ПОЛНУЮ СУММУ ВЫИГРЫШНОЙ ЗАЯВКИ, после получения товара в его первоначальном состоянии и в упаковке со всеми компонентами и аксессуарами
, ПОСЛЕ ОБОИХ Покупатель и Продавец отменяют транзакцию с Aliexpress. ИЛИ, вы можете выбрать замену.
4. Мы несем все расходы по доставке, если товар (ы) не рекламируется.
1. 12 месяцев Ограниченная гарантия изготовителя на дефектные изделия (за исключением предметов, поврежденных и / или неправильно использованных после получения).
Аксессуары поставляются
с 3-месячной гарантией.
2. Дефектные детали ДОЛЖНЫ БЫТЬ зарегистрированы и возвращены в течение гарантийного срока (и, если возможно, в оригинальной упаковке). Вы должны сообщить нам, что такое дефект
, и указать номер вашего заказа. МЫ НЕ РЕМОНТ ИЛИ ЗАМЕНА ИЗДЕЛИЯ с истекшим сроком гарантии. Вы соглашаетесь со всеми вышеперечисленными полисами
при оформлении заказа на Aliexpress!
1, Мы поддерживаем высокие стандарты качества и стремимся к 100% удовлетворенности клиентов! Обратная связь очень важна.Мы просим вас немедленно связаться с нами по номеру
, ПРЕЖДЕ ЧЕМ вы дадите нам нейтральный или отрицательный отзыв, чтобы мы могли выполнить ваше удовлетворение.
2. Невозможно решать вопросы, если мы не знаем о них!
Прижимное устройство для строгального станка — Деревоперерабатывающий завод Династия Древ
Почти во всех деревообрабатывающих станках прижимное устройство предусмотрено в заводской сборке.
Если данное устройство отсутствует на вашем станке, то эту ситуацию можно исправить своими руками. Давайте рассмотрим, каким способом можно модифицировать механизм ради удобства и качества работы. http://www. stankograd. com/
Виды деревообрабатывающий строгальных станков
Чтобы сколотить прижимное устройство с правильной конструкцией, нужно разобраться, для какого вида станка мы его будем делать. Самый распространенный деревообрабатывающий станок являет из себя цилиндрическую ножевую головку, приводимую в движение силовой установкой. В таком механизме предусмотрена регулировка глубины обтачивания заготовки. Подобный станок, кстати, тоже реально смастерить своими руками. Кроме него различаются следующие виды станков:
Рейсмусовые станки, которые имеют одну режущую головку
Циклевальные. Обычно используются для создания мебели.
Двухгранные станки
Трехгранные станки
Четырехгранные станки, которые дают максимальную эффективность и скорость
Устройства, имеющие несколько ножей.
Практически все современные станки выпускаются сразу с прижимным устройством. Широкий выбор представлен на сайте. Однако старым станкам необходима модификация.
Функция прижимных устройств
Может показаться, что единственная полезная функция, выполняемая прижимным устройством – это удержание заготовки на станке. Однако, данная модификация имеет ряд других немаловажных функция. Разработка устройства своими руками позволяет выполнять более плавную регулировку, что дает ему еще больше преимуществ. К таким преимуществам можно отнести:
Качественная обработка, не зависящая от длины устройства
Возможность более плавно регулировать уровень фиксации, путем равноценного давления
Сохранность деревянной поверхности от элементов оборудования
Все качества отвечают нормам безопасной эксплуатации устройства
Перед тем как приступить к разработке собственного прижимного устройства, лучше ознакомится с заводскими моделями, для того, чтобы правильно оценить необходимость подручных материалов.
Если вы работаете на фуговальном станке, то лучше вам не устанавливать прижимное устройство. Данная модификация, в таком случае, может навредить качеству обработки.
Теперь давайте рассмотрим два варианта прижимного устройства, которое можно сделать своими руками из подручных материалов.
Первый вариант
В качестве основы прижимного устройства чаще используют детали старой стиральной машины. Это касается выжимного валика. Рама устройства представляет собой два П-образных опоры, соединенные между собой. Профили не следует фиксировать. Они должны свободно передвигаться. Регулировочная ручка червячной передачи должна соединяться с фиксирующей планкой. Можно установить пружины, которые добавят амортизации.
Второй вариант
Альтернативой прижимного устройства первого варианта, можно сделать модификацию самого станка. Для этого по бокам станины монтируются две рейки. Фиксирующая ось проходит через два подшипника, установленных в основной рабочий вал.
Применение прижимного устройство позволит значительно увеличить производительность труда.
Не стоит пытаться смастерить подобное устройство, если вы не имеете опыта в сфере работы со станками, поскольку разработка требует привыкшей руки мастера. Если вы регулярно работаете на деревообрабатывающем станке, что такая модификация точно для вас, ведь она сделает вашу работу более продуктивной.
размещено в: Как сделать прижимное устройство к деревообрабатывающему станку ⋅ Помечено: машины, мебель, оборудование, устройства
Топ 5 самодельных деревообрабатывающих зажимов! Лучшее видео для вашего следующего проекта!
Привет, ребята, я Сара. Каждую неделю я просматриваю сотни самодельных видео, готовящих проекты для нашего еженедельного шоу Maker Break. Попутно я нахожу несколько хороших проектов… и несколько ОТЛИЧНЫХ, и прямо сейчас я поделюсь ими с вами! Это 5 лучших деревообрабатывающих зажимов от Сары!
#5 – Mazay DIY
Mazay DIY известен своими собственными приспособлениями, салазками, ленточно-шлифовальными станками… и, если вы используете его в деревообрабатывающей мастерской, он сделал свою собственную версию одного из них.
Поэтому, когда я пошел искать струбцины для деревообработки, я не удивился, обнаружив, что у него также есть струбцина для прутков! Он проделывает большую работу, показывая вам каждый шаг этого проекта, и даже предлагает бесплатные планы и 3D-модели, если вы хотите построить их для себя! Это сладкие Мазай!
#4 – Мастерская Adwoods
Алекс сделал свои деревянные зажимы из ясеня, фанеры и нескольких гаек и болтов. Довольно просто, верно? Ясень — довольно прочная древесина, что делает его идеальным для того, чтобы выдерживать давление зажима. Он начал делать все маленькие кубики, которые будут удерживать гайки и болты. Через некоторое время они будут прикреплены к деревянному «бару». После того, как он обрезал прутья по длине, отшлифовал и сделал их гладкими, пришло время все собрать.
(3:45) Плюс немного персонализации никогда не помешает! Посмотрите, какие они крутые!
#3 – Pask Makes
Нил решил сделать самодельные зажимы для стержней, и в них все еще есть металлические стержни! Но не волнуйтесь, их все равно легко сделать, и они дешевле, чем стальные. Он использовал несколько квадратных трубок и приклеил к ним стержни с резьбой для стержней, а пока клей сохнет, он занялся вырезанием всех частей сосны, необходимых для ножек. Он использовал шаблон, который сделал для них, чтобы все они были одеты в форму. Затем он разрезал гайки пополам, чтобы они служили направляющей для резьбового стержня, который перемещался вверх и вниз по стержню при зажиме объекта. После шлифовки и окончательной сборки эти самодельные зажимы готовы к работе!
№2 — Иззи Свон!
youtube.com/embed/EgYPMeTEfDk?feature=oembed» frameborder=»0″ allow=»accelerometer; autoplay; encrypted-media; gyroscope; picture-in-picture» allowfullscreen=»»>
Он начал с того, что вырезал фанеру, чтобы сделать ножки, которые будут скользить по Т-образной направляющей, которую он также сделал из фанеры. Затем он сделал «Дырявый компонент», вырезав больше фанеры и просверлив в ней множество, как вы уже догадались, отверстий. Это ваши лучшие бары. Последним требованием для создания собственных зажимов являются элементы, которые фактически будут зажимать материал. Для этого он просто использует дюбель, болт и гайку. Так просто! После того, как он собрал их вместе, все, что осталось, это покрыть дерево восковой пастой, чтобы ваш проект не приклеился к зажимам. Виала! Готов к склеиванию!
#1 – Джон Хейс – Я построил!
Обычно Джон занимается подобными постройками, используя инструменты и материалы, которые довольно распространены у большинства столяров, но в этой постройке он хотел сделать наилучшую версию, которую он мог, с инструментами и расходными материалами, к которым у него есть доступ, поэтому, если вы не не иметь всех этих материалов и оборудования, это нормально! Он сделал эти зажимы, используя в основном древесину ясеня, но также использовал немного вишневого дерева, что мне очень нравится! Мне нравится, что он обратился к вам, вероятно, вам понадобится зажим, чтобы сделать зажим, но он также сделал свою собственную мини-версию! Джон проделывает невероятную работу, сопровождая вас на каждом этапе своего процесса и дает отличные советы по пути.
Если вы хотите построить мощные зажимы, это видео — то, что вы не захотите пропустить!
Так что я надеюсь, что это поможет, если вы собираетесь построить несколько собственных зажимов. Если нет, надеюсь, вам все равно понравилось! Хорошо, сделайте мне одолжение и поставьте лайк этому видео, и если вы еще не подписаны на Belts and Boxes, сделайте это сейчас и нажмите на колокольчик, чтобы не пропустить ни одно из наших шоу, которые выходят в течение недели! Вы можете видеть меня каждую пятницу в 17:00 на обзоре Недели электроинструментов с Робом и каждую субботу в 18:00 на следующем выпуске Maker Break! Тогда увидимся!
CGTK — Зажимы для стержней
Вот несколько зажимов для стержней, которые я сделал по идее Нила Паскина.
Они основаны на некоторых длинах коробчатого сечения 25 мм × 25 мм × 2 мм. Каждая часть коробчатого сечения имеет отрезок резьбового стержня M12, приваренный к нижней стороне. Скользящая губка (самая левая на изображении в верхней части страницы) свободно скользит по стержню при наклоне вперед, но внизу есть половина гайки M12, которая входит в зацепление с резьбовым стержнем при наклоне назад.
Давление затягивания винта на другой губке и прижатие к скользящей губке вдавливает полугайку M12 в резьбу.
Здесь показан другой вид зажимов. Я сделал восемь зажимов. Четыре основаны на 800 мм стержнях и имеют максимальную длину зажима 620 мм. Четыре основаны на стержнях длиной 1,2 метра и имеют максимальную длину зажима 1020 мм. В отличие от конструкции Нила Паскина, головки на моих стержневых зажимах удерживаются на месте с помощью установочных винтов с шестигранной головкой M12 (Нейл приварил концевые пластины своих винтовых зажимов на месте). Это позволяет снимать губки и устанавливать их на разные стержни; Я сделал четыре стержня по 1880 мм, которые можно использовать, когда мне нужна длина зажима до 1700 мм. Помимо изменения размеров, я не вносил много существенных изменений в конструкцию Нила Паскина (или, по крайней мере, то, что я мог сделать из конструкции Нила Паскина на основе видео), но я добавил несколько усиливающих пластин по бокам торцевых пластин и некоторые упорные подшипники между губкой винта и гайкой, которая его толкает.
Регулировка положения подвижной губки осуществляется очень быстро: при наклоне головки вперед она освобождается от резьбового стержня в нижней части стержня и может перемещаться вверх и вниз по стержню в желаемое положение. . Одно из преимуществ стержневого зажима этого типа заключается в том, что скользящую губку можно регулировать с шагом 1,75 мм (шаг резьбового стержня M12). Это означает, что вам не нужна очень быстрая (крупный шаг) резьба на винтовой губке, так как она никогда не должна перемещаться очень далеко.
Наличие съемных головок и торцевых заглушек также означает, что несколько стержней могут быть соединены вместе. Здесь я использовал короткий стержень с резьбой M12 (с гайкой, чтобы он не вращался после вставки в первый стержень), чтобы соединить два стержня вместе. Я использовал один из самых длинных стержней и один из средних стержней, чтобы сделать зажим, способный зажимать снаружи ширину моего единственного гаража.
Поэтому при выборе оптимальной конструкции необходимо руководствоваться принципом целесообразности.
Д.