Ленточная пила по дереву: типы, шаг зубьев и сборка своими руками. Как сделать ленточную пилу самому
Ленточная пила своими руками для работы по дереву (фото) | Своими руками
Реклама
При подборе оборудования для домашней мастерской ленточную пилу редко включают в разряд первоочередного инструмента: большинство операций можно выполнить и без неё. Я долгое время обходился тем, что у меня было, но в результате созрел для изготовления ленточной пилы. В результате поисков я наткнулся на сайт канадского изобретателя Маттиаса Вандела. Он предлагал сделать ленточную пилу практически полностью из дерева. При этом характеристики её были очень приличными, а любую запчасть потом несложно сделать самому.
Основные характеристики моей самодельной ленточной пилы
Моя пила отличается от той, что была в чертежах разработчика, но я и не стремился повторить проект один в один. Многое зависит от выбранного двигателя, пильных лент и заготовок. Я использовал те полотна, что смог найти. Асинхронный электродвигатель подходящей мощности тоже завалялся в закромах. Пильные полотна оказались чуть короче рекомендованных — я решил не рисковать и уменьшил внутренний размер рамы на 10 мм.
Конструкция ленточной пилы. Большая часть деталей — из дерева.
| Характеристика | Моя пила | Пила автора |
| Высота (без тумбы), мм | 1 200 | 1220 |
| Ширина (со столом), мм | 900 | 720 |
| Глубина (со столом), мм | 500 | 460 |
| Диаметр колеса | 16м (400 мм) | |
| Стол (ширина х глубина), мм | 510 х 470 | 490 х 460 |
| Наклон стола, градусы | 0-45 | |
| Масса (без тумбы), кг | 50 | 45 |
| Максимальная толщина заготовки, мм | 260 | 270 |
| Отступ полотна от рамы, мм | 400 | 394 |
| Длина полотна, мм | 2 667 | 2 700 |
| Ширина полотна, мм | 6-16 | 4-18 |
Изготавливаем раму ленточной пилы
Это основной элемент станка. Я использовал сосновую дюймовку, простроганную на рейсмусе до толщины 19 мм. Рама склеена из нескольких слоёв досок с перехлёстом. Нельзя использовать для рамы ДСП, МДФ, фанеру или мебельный щит. Рама имеет С-образную форму, где сверху монтируется основа для направляющей механизма натяжения с верхним колесом, а снизу крепятся две ноги, соединяемые с основанием. Рама состоит из шести основных слоев и дополнительных накладок. Для увеличения жёсткости предусмотрены диагональные элементы. При поэтапном склеивании необходимо контролировать перпендикулярность элементов, чтобы рама получилась плоская (без скручивания). Раму склеивал без основания, оставив под него пустые пазы. Вклеить основание удобнее уже после установки блока оси нижнего колеса. Моего запаса струбцин не хватало, и я дополнительно использовал саморезы. Поверхности готовой рамы отшлифовал и покрыл лаком в два слоя.
На фото:
1. Склеивание первого слоя рамы. Эта операция задаёт форму рамы. 2.При приклеивании следующих слоёв нехватка струбцин компенсируется саморезами. 3.К готовой раме прикручены направляющие для подвижного блока верхнего колеса. 5. Пропиливание пазов в подвижной рамке блока верхнего колеса под вставки. 5. Теперь треугольные вставки можно вклеить в пазы подвижной рамки… 6. выбрать четверти по бокам. 7. Устройство натяжения пильного полотна. 8. В этом положении виден упор собрано пока без рукоятки вращения. Три регулировочного винта блока регулировки дубовые пластины выполняют роль пружины. верхнего колеса. 9.Склеивание колеса из трёх фанерных кругов. 10.Фланцы (часть – с подшипниками) с подкладками подогнаны к заготовкам колес и промаркированы. 11. Шкив двигателя точил непосредственно на самом двигателе.
Блок крепления верхнего колеса
Следующий этап — сборка и установка подвижного блока крепления верхнего колеса. Он должен перемещаться в вертикальном направлении и обеспечивать натяжение пильного полотна. Для этого на подготовленных «рогах» рамы закрепил профиль из дуба, который формирует направляющий паз. Блок — это прямоугольная рамка с вставленным в неё подвижным держателем вала верхнего колеса. Рамку изготовил из древесины дуба. Для усиления угловых соединений использовал дополнительные вставки. Склеив рамку, пропилил в углах пазы. Затем вырезал треугольные вставки и вклеил их в пазы. В завершение по бокам рамки выбрал четверти под направляющие в основной раме. Рамка должна перемещаться в пазах без ощутимых люфтов. В верхней части рамки установил длинный болт для её перемещения и регулировки натяжения пильного полотна. На держателе (бруске с отверстием и выбранными четвертями с противоположных сторон) вала колеса вверху установлен винт для регулировки наклона колеса. Крепится держатель к рамке двумя саморезами, а за счёт люфтов достигается его подвижность для регулировки. Под винт установлена металлическая подкладка. Вал в держателе после настройки пилы фиксируется саморезом. Пружинящий эффект при натяжении полотна создают три дубовые пластины.
Читайте также: Стол для циркулярной пилы своими руками
Изготовление колёс пилы
Колеса пилы имеют диаметр 400 мм. Их как раз нужно делать из фанеры или МДФ. Колёса у меня вышли толщиной 29 мм. Склеил их из трёх фанерных кругов. Самый ответственный участок здесь — центральная часть колёс. Заготовки вырезал с помощью фрезерной машинки. В центре круга сверлил отверстие 0 6 мм и в него устанавливал центр фрезерного циркуля. Потом это отверстие использовал для совмещения заготовок и склеивания. Вырезал круги с припуском 10 мм под чистовую обработку. Валы 0 25 мм (под приобретённые подшипники) мне изготовил токарь. Они имеют с одной стороны ограничитель, а с другой — внутреннюю резьбу М12. Для изготовления фланцев использовал фанеру. Перед тем как сверлить в них отверстия под подшипник сверлил в центре отверстие 0 6 мм и, совместив его с центром колеса, сверлил по четыре отверстия под шканты. Положение фланца на колесе маркировал. Фланец состоит из двух частей. Внешняя деталь толщиной 15 мм держит подшипник, а внутренняя — толщиной 10 мм формирует зазор между колесом и подшипником. Диаметр отверстия в колесе должен быть немного больше диаметра вала. Самая ответственная операция — сверление отверстия диаметром 52 мм под подшипник во внешней части фланца. Специально для этого я купил кольцевую пилу 0 52 мм и после проверки прошлифовал её по наружному диаметру на 0,3 мм. Подшипники потом запрессовывал с помощью киянки. Перед приклейкой фланцев к колесу вырезал держатель вала нижнего колеса — деревянный брусок с отверстием для вала, который крепится снизу рамы. Сверлить отверстие непосредственно в раме нежелательно: велика вероятность, что сверло уведёт. Держатель же проще повернуть на нужный для коррекции угол. В колесах просверлил по четыре технологических отверстия, чтобы в них можно было продеть струбцины при склеивании. Сразу после склейки колеса надел его на вал. Благодаря предварительному центрированию фланцев и просверленным отверстиям под шканты, у одного моего собранного колеса практически отсутствовало биение, а вот у второго была некритичная «восьмёрка» до 3 мм. Для подгонки колеса в размер по диаметру и для формирования профиля нужно было соединить колесо с двигателем. На первом этапе использовал временный шкив из фанеры – прикрутил его саморезами к колесу. Шкив для двигателя я выточил, используя сам двигатель, а затем соединил ремнём двигатель и временный шкив колеса. Зафиксировав колесо, прикрутил деревянный брусок в качестве упора и с помощью токарных резцов обточил колесо до 0 400 мм. Диаметр колеса на валу контролировать сложно, поэтому я замерял длину окружности. Она равна 1 256 мм. Обработанной кромке колеса придал бочкообразную форму. Благодаря этому лента не соскальзывает с колеса, а, наоборот, на нём самоцентрируется. Угол скоса должен быть 5 градусов с каждой стороны. 
12. Когда все детали были готовы, приклеил фланцы к колесу. 13. В качестве держателя использовал блок крепления нижнего вала. 14.Колесо обточил до нужного диаметра придав кромке бочкообразную форму. Скос в каждую сторону — примерно 5 градусов. 15.После предварительной сборки колёса. 16.Направляющая в комплекте с блоками опорных подшипников. 17. Установлена направляющая с верхним опорным подшипником, но пока без «сухарей». На колёса натянуты резиновые камеры (после окончательной сборки их нужно приклеить). 18.Опора рабочего стола оснащена выставил регулировкой в одну плоскость. механизмом наклона
Изготовив оба колеса, на одном из них установил штатный приводной шкив (читайте о подобном решении здесь). Его толщину и форму подгонял под используемый ремень, а диаметр рассчитал так, чтобы скорость движения пильного ленточного полотна была примерно 800 м/мин. Теперь оставалось только отбалансировать колёса. Для этого я взял подшипники с внешним 0 22 мм. Их потом использовал в качестве опорных для пильного полотна. Закрепив горизонтально временную ось и надев на неё подшипники, установил колесо так, чтобы оно легко вращалось, и самая тяжёлая его часть опускалась вниз. Сверлом Форстнера делал небольшие углубления в нижней зоне колеса с тыльной стороны. В результате таких манипуляций я добился, чтобы колесо перестало вращаться в любом положении. На этом балансировка закончилась. Колеса покрыл лаком в два слоя.
Ссылка по теме: Ленточно шлифовальный станок своими руками – фото и конструкция
Затем на колеса натянул разрезанные камеры от 16″ колес детского велосипеда. Резина защищает поверхности колёс от повреждения полотном, снижает шум и предотвращает проскальзывания. Балансировку, правда, пришлось повторить.
Крепление колёс на раму ленточной пилы
Первым установил верхнее колесо. На вал надел шайбы из фторопласта. Колесо крепил болтом с толстой шайбой, вкручивая его в торец вала. Регулировочным болтом выставил верхнее колесо параллельно раме. Блок нижнего колеса закрепил на раме струбцинами и навесил нижнее колесо. С помощью линейки и фторопластовых шайб выставил колёса в одну плоскость. Смещением нижнего блока добился, чтобы линия, соединяющая центры валов, была параллельна вертикальной стойке рамы. Эту операцию выполнял с установленным штатно пильным полотном. После настройки блок крепления нижнего вала зафиксировал. Проверив вращение пилы вручную, решился на пробный пуск. Соблюдая осторожность, включил станок. Испытания прошли успешно. Лента перемещалась посередине колёс, никакой вибрации и подозрительных шумов. Заменив полотно на самое узкое, провёл повторное испытание. Можно было вклеивать основание под двигатель и крепить его к раме.
21. Установлены рабочий стол с пластиной нулевого зазора и вороток механизма натяжения пилы. Станок готов к испытаниям. 22.Рабочий стол можно наклонить под нужным углом. Виден опорный саморез регулировки положения рабочего стола. 23.Прочный каркас мобильной тумбы-подставки.24.Защитный экран двигателя.
Настройка направляющих пильного полотна
Гладкий торец пильной ленты упирается в наружное кольцо подшипника, а с боков её удерживают «сухари». Сначала я сделал «сухари» из фторопласта, но они быстро износились. Поэтому (по совету автора) заменил их на деревянные. В качестве защитного кожуха использовал прямоугольную дюралевую трубу, раскроив её дисковой пилой. Кожух прикрутил к шине саморезами. Шину нужно выставить с высокой точностью, так как при длине 300 мм даже незначительный перекос по отношению к пильному полотну будет ощутим. Для крепления шины в раме выбрал паз. Разметку выполнял по натянутому широкому полотну. Затем уточнил разметку паза по размерам направляющей шины. Но как я ни старался, при выборке паза ошибся на 0,3 мм, что привело к ошибке в нижней точке почти на 4 мм. Поэтому из остатка дюралевой трубы я вырезал уголок, расширил в раме паз на его толщину, а для коррекции положения подклеил несколько кусочков самоклеящейся бумаги толщиной 0,1 мм. Добившись желаемого результата, зафиксировал уголок саморезами. В фиксаторе предусмотрены два отверстия. Одно основное — для максимальной площади прижима шины, второе используется только при очень толстых заготовках, чтобы максимально поднять шину.
Изготовление рабочего стола для ленточной пилы своими руками
Сначала изготовил опору с механизмом наклона стола. Делал её из древесины дуба. К ней крепится нижний блок опорных подшипников. К поворотному механизму стола присоединил подкладку из ЛДСП для повышения жёсткости стола. На сам стол я пустил обрезок столешницы из ДСП. Она довольно толстая и прочная, а поверхность у неё — гладкая и скользкая. Кромки обшил буковыми рейками. В рабочей зоне в столе выпилил прямоугольное отверстие, а затем выфрезеровал выемку под вставку из МДФ. Вставку устанавливал при включенной пиле: заводил вставку в пазы и задвигал до упора, одновременно пропиливая её на нужную длину. При повороте стола под углом вставку либо вообще вынимаю, либо изготавливаю новую под конкретный угол. На гайку механизма натяжения полотен я изготовил вороток. Силу натяжения устанавливаю на глазок — порвать полотно практически невозможно. Чтобы удобнее было выставлять стол перпендикулярно к полотну, изготовил дополнительный упор для стола. Вкрученный в упор само- рез позволяет регулировать положение стола. А чтобы опилки не налипали на колёса, установил обрезанную зубную щётку на нижнее колесо.
Изготовление тумбы для пилы
Размеры тумбы я выбрал исходя из размеров основания пилы, а высоту подгонял так, чтобы стол был на уровне 1 050 мм от пола — для меня это в самый раз. Тумбу сделал из обрезков шпунтованной половой доски толщиной 35 мм. Каркас тумбы собрал на шкантах. Углы изнутри усилил металлическими уголками. Боковые вставки — из ламинированного ДСП. Задняя стенка — из МДФ. В общем, всё из обрезков. Верхний ящик тумбы служит для сбора опилок. Тумба установлена на колесики с возможностью их фиксации. 
25. Правая стенка кожуха нижнего колеса скошена вверху для упрощения замены пильных полотен. 26. Задняя стенка защиты нижнего колеса установлена наклонно и направляет опилки в ящик. 27.Параллельный упор закреплён на рабочем столе.. Установка защиты. 28.Так выглядит защита подвижных элементов.. Установлены пусковая кнопка пилы и выключатель подсветки.
Защитные кожухи и элементы корпуса пилы являются одновременно и направляющими для удаления опилок. Все рабочие элементы пилы защищены экранами. В качестве материала для кожухов и экранов использовал МДФ толщиной 8 мм и сосновые доски.
Ссылка по теме: Как сделать своими руками самодельную стационарную циркулярку
Электропроводка
Кроме пусковой кнопки сразу решил установить подсветку рабочей зоны. Для этого использовал светильник с гибким кронштейном, а его выключатель расположил рядом с кнопкой пуска. Провода пропустил сквозь раму и закрепил сзади.
Параллельный упор
Ленточной пилой уже можно было пользоваться, но ощущалась нехватка параллельного упора. Механизм фиксации упора соорудил на базе эксцентрика. Из-за скругленного переднего края стола пришлось дополнительно вырезать подвижный толкатель с полукруглой передней кромкой. Шину упора сделал из лиственницы. С противоположной стороны шины прикрепил захват, который упирается в край стола. На изготовление пилы у меня ушло почти два месяца. Правда, работал над ней я далеко не каждый день. Проект получился очень увлекательным. Работой станка доволен. Сейчас даже не представляю, как раньше обходился без ленточной пилы. В качестве теста для пилы я сделал несколько шкатулок.
Ленточная пила по дереву своими руками- все фото
©Сергей Головков, г. Новочеркасск

Реклама
Ниже другие записи по теме "Как сделать своими руками - домохозяину!"
Подпишитесь на обновления в наших группах.
Будем друзьями!
kak-svoimi-rukami.com
Ленточная пила по дереву своими руками: чертежи, видео
Ленточные пилы относятся к мощным и надежным инструментам, которые активно используются в строительной сфере и применяются для раскройки различных материалов. Чтобы в процессе эксплуатации не возникло проблем, необходимо внимательно подходить к выбору данного типа оборудования, учитывая его технические характеристики. В первую очередь выясните, для каких целей предназначен тот или иной тип пилы, ознакомьтесь с параметрами зубцов и размером полотна, а также поинтересуйтесь качеством заточки режущего элемента.
Типы ленточных пил
В зависимости от сферы использования, ленточнопильный инструмент разделяют на категории, согласно которым обрабатывают:
- камень;
- дерево;
- металл;
- синтетический материал.
Обращаем ваше внимание на то, что для работы с твердыми материалами рекомендовано использовать инструмент, усиленный сверхпрочными сплавами. Если нарушить такое правило, режущая лента будет рваться и портить обрабатываемую деталь. Прежде чем совершить покупку, определите фронт работ, которые планируете выполнять при помощи установки.

Для производственных масштабов потребуется более мощная и выносливая пила, способная выдержать повышенные нагрузки, но и ее стоимость будет высокой. Для разовой процедуры или редкого использования в бытовых условиях подойдет оборудование подешевле со стандартными характеристиками прочности.
Размер пилы
Ширину и длину пилы подбирайте согласно аналогичным параметрам станка, для чего можно ознакомиться с рекомендациями по подбору комплектующих в инструкции к агрегату. От себя хотим добавить несколько рекомендаций, которые помогут вам в выборе необходимого варианта:
- широкие ленточные пилы по дереву отличаются более ровным пилением, поэтому их чаще применяют для выполнения продольной резки;
- чем тоньше обрабатываемая заготовка, тем выше вероятность ее повреждения толстой пилой, поэтому толщина инструмента – важнейший параметр при его подборе;
- при осуществлении фигурной или контурной резки ширина режущего элемента должна позволять обрабатывать изделие под заданным углом. Современные производители выпускают данный вид инструментов шириной в 14-88 мм, поэтому для стандартных работ лучше приобретать средний параметр в 35-40 мм.
Шаг зубьев
Расстояние между заостренными сегментами пилы – это важный показатель, который непосредственно соотносится с ответной частью агрегата. Чтобы использование пилы было рациональным, желательно придерживаться следующих рекомендаций:
- тонкий листовой материал принято обрабатывать при помощи пилы с крупным равномерным шагом зубьев;
- частый постоянный шаг зубцов отлично подойдет для работы с большими полотнами;
- переменные зубья специально предназначены для резки натуральных и синтетических материалов с мягкой структурой, при этом скорость резания здесь увеличивается за счет того, что пила не забивается.

От разводки зубьев зависит качество резки и уровень вибрации в процессе работы с пилой, что непосредственно влияет на износоустойчивость основного элемента. Исходя из этого принципа, полотно может иметь различный профиль.
- Волнистый профиль следует выбирать для резки небольших заготовок и тонких материалов.
- Стандартный профиль отличается попеременным расположением всех режущих элементов в обе стороны кромки и один сегмент размещен по центру. Данный тип разводки выбирают для обработки объемных заготовок, контурной резки и монтажа на вертикальный тип станков.
- Переменный (групповой) профиль содержит попарно расположенные зубцы в обе стороны. Агрегат данного типа стоит дороже, ведь он более прочный, эффективный и отличается сниженной нагрузкой на режущую кромку.
Особое внимание уделите качеству заточки пилы, а именно, проверьте, насколько острые режущие сегменты, однородна ли сталь, из которой они изготовлены, и убедитесь в том, чтобы линия режущей кромки была идеально ровной. Внимательно исследовав режущий элемент согласно изложенным выше требованиям, не поленитесь поинтересоваться у продавца, возможна ли повторная заточка пилы. При утвердительном ответе будет нелишним узнать, сколько циклов обновления резака предусмотрено для конкретного образца изделия.
Теперь, когда вы знаете, что собой представляет данный тип оборудования, и какими характеристиками оно должно обладать, можно попробовать смастерить самодельную ленточную пилу по дереву и тем самым сэкономить средства на приобретение заводского агрегата. Разумеется, ленточная пила устанавливается на станок, поэтому в следующей части статьи мы рассмотрим устройство рабочего стола и предоставим руководство, следуя которому, можно сделать качественную и надежную установку для бытового использования.

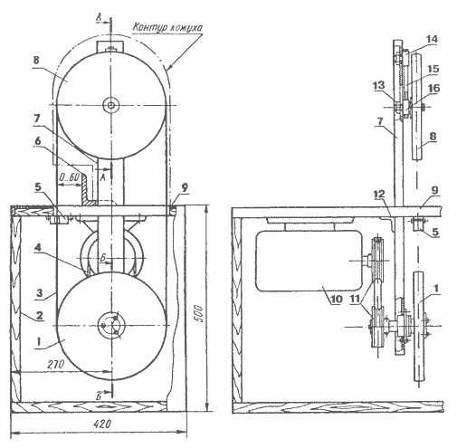
Чертеж самодельной ленточной пилы: 1 - шкив привода ленты (нижний), 2 - основание, 3 - пила ленточная, 4 - ремень клиновой А710, 5 - демпфер, 6 - направляющая, 7 - штанга несущая, 8 - шкив привода ленты (верхний), 9 - стол (фанера s20), 10 - электродвигатель АОЛ-22-2, 11 - шкивы ременного привода, 12 - кронштейн (стальной уголок 40x40), 13 - гайка M12 (2 шт.), 14 - опора верхняя, 15 - винт регулировочный, 16 - ползун.
Ленточнопильный станок: устройство и сборка
Столярные станки по дереву ленточного типа состоят из рабочего стола, служащего основой для остальных элементов, и самих элементов. Такая конструкция предусматривает постоянное круговое движение полотна, опирающегося на два шкива. Сразу отметим, что полноценный агрегат со станиной и столешницей может делаться только в том случае, если для его монтажа отведено отдельное помещение немалых размеров, так как оборудование обладает внушительными габаритами. В остальных случаях выручит настольная ручная мини установка, правда на ней по понятным причинам не получится распускать цельные бревна.
Чертежи рекомендуется составлять в специальных программах, а ниже вы можете ознакомиться с трехмерным изображением конструкции пилы вертикального типа, о которой и пойдет речь далее.

Станина
Рама станка является несущим элементом, который должен выдерживать вес всей конструкции, поэтому по возможности ее лучше изготавливать из металлического профиля, однако за неимением такового подойдет и дерево. От фанеры и ДСП лучше отказаться сразу, а предпочтение рекомендуется отдавать доске толщиной в 20 мм. Склеивают станину по правилу пересечения волокон каждого следующего слоя относительно предыдущего. Для усиления рамы используют саморезы. Такая конструкция должна получиться жесткой и одновременно упругой, чтобы выполнять функцию демпфера, гасящего рывки режущего полотна.
Блок шкива
Не менее важной составляющей станка является блок верхнего шкива, который при вертикальном перемещении не держит полотно в натяжении. Для изготовления рамки потребуется дерево твердых пород. На внутренней части рамки имеется деревянная вставка, к которой монтируется колесный вал. Наклон оси регулируют специально предназначенной резьбовой шпилькой и вмонтированными в древесину гайками.

Вертикальный ход осуществляется по направляющим, закрепленным в верхней части станины, он обеспечен винтовым механизмом. С целью усиления все регулировочные гайки дополняются шайбами или привариваются. При выточке вала нужно предусмотреть фланец, за счет которого он будет фиксироваться с тыльной стороны.
Шкивы
Колеса толщиной около 30 мм склеиваются в несколько слоев из фанерных кругов, после чего в них формируется отверстие для подшипника. Чтобы пилорама была устойчивой, желательно подшипник фиксировать в муфте. С внутренней стороны на вал надевают шайбу, а с внешней стороны он закрепляется фланцем. Чтобы лента могла самостоятельно центроваться, колесам путем обтачки придают бочкообразную форму и обклеивают обработанную поверхность велосипедной камерой.
Устанавливая подшипник, необходимо следить за перпендикулярностью вала, иначе колесо во время работы будет ударяться о плоскость, отчего режущее полотно рискует соскользнуть с посадочного места. На нижнее колесо закрепляется приводной шкив.
Столешница
Ленточная пила по дереву включает в свою конструкцию столешницу, установленную на тумбовое основание, внутри которого помещен мотор с пусковым механизмом. Стол обычно изготавливают из листа толстой фанеры и с рабочей стороны его оклеивают текстолитом. Чтобы удобнее осуществлять распил под заданным углом, столешницу можно сделать поворотной. Также необходимо предусмотреть параллельный упор, для чего используют роликовые направляющие или профиль со струбцинами.

Наладка пилы
Чтобы ваша домашняя столярная установка работала исправно, необходимо провести правильную настройку ленточной пилы. Существует общепринятая схема, согласно которой выполняется наладка режущего элемента, и в первую очередь необходимо обеспечить параллельное размещение колес относительно друг друга. Против вертикального смещения применяют фторопластовые шайбы, нанизанные на валы. Пробный запуск системы выполняют без направляющих, а тестовый распил – без нагрузки. О правильности настройки пилы свидетельствует плавный ход колес, исключая любой резкий рывок, провоцирующий соскальзывание ленты.
Чтобы ленточные пилы по дереву могли как положено работать под нагрузкой, после отладки монтируют блок направляющих ленты. Данный блок состоит из двух половинок, установленных четко по линии режущего элемента.
Ранее мастера, регулярно обрабатывающие деревянный материал, самостоятельно изготовливали режущие полотна для ленточного агрегата, хотя замкнуть ленту в кольцо очень непросто. Далее проводилась ручная заточка режущей кромки по шаблону, однако времена изменились, и на столярном рынке можно найти полный ассортимент доступной продукции, воспользовавшись которой, вам не придется задумываться над тем, почему рвутся режущие полотна, и можно ли произвести их ремонт.
Если взвесить все «за» и «против», станет ясно, что самодельные полотна не идут ни в какое сравнение с заводскими образцами, и в данном случае сделанный в домашних условиях резак явно проиграет своему оппоненту по всем параметрам, кроме стоимости. На видео вы можете посмотреть, как собирается ленточная пила своими руками, и что нужно предпринимать для того, чтобы не допустить ошибок при сборке.
derevo-s.ru
подробное описание процесса, сложность изготовления (видео)
Многим людям, которые владеют своими земельными участками, очень часто приходится работать с деревом, поскольку оно является основным строительным материалом. Процесс работы с этим сырьем продолжается постоянно: нужно приделать пристройку, нарубить дрова или обновить забор.

Ленточная пила обычно используется для распила древесины.
Различные пилорамы являются отличными помощниками в этом деле, так как обладают рядом преимуществ. Но поскольку такие изделия стоят недешево, ленточная пила своими руками — не такая уж и плохая идея.
Стоит упомянуть сразу, что ленточную пилораму сложно изготовить кустарным способом. Понадобится множество различных комплектующих, предстоит выполнить много сварочных и токарных работ, а также нужно заточить пилу специальным способом, но самое главное — скорректированная работа всего тандема.
Подробное описание процесса изготовления ленточной пилы своими руками
Чертеж самодельной ленточной пилы.
Первое, что необходимо сделать, определиться с помещением, в котором будет находиться изготавливаемая конструкция. Оптимальное место — 18м2 (6х3м).
Затем нужно заняться изготовлением рабочей поверхности стола. Стандартные размеры — 420х720 мм. Стол необходимо вырезать из фанеры, чья толщина должна составлять не менее 20 мм, затем на получившийся прямоугольник следует наклеить текстолит. Далее следует произвести окантовку стола рейками из твердой породы дерева, это делается по периметру. В столе нужно предусмотреть пазы, их цель заключается в поддерживании проводки пилящей ленты. По завершении работ рабочий стол должен выглядеть как ящик с габаритами 420х720х500, который склеен из фанеры толщиной 20 мм.
После всех операций со столом к нему требуется присоединить несущую штангу — отрезок швеллера 8, длина которого равна 680 мм, полки лучше всего срезать до 20 мм в целях практичности. Штангу рекомендуется прикрепить кронштейном, из угла 40х40 мм, крепить следует болтами M8 в количестве 4-х штук. Шкивы привода пилы нужно выточить из фанеры 20мм. Их поверхность должна быть обклеена листовой резиной, для этих целей требуется применять полиуретановый клей. После того как шкивы будут покрыты резиной, дерево нужно пропитать эпоксидной смолой, отшлифовать, а также окрасить.
Когда изготавливается ленточная пила своими руками, не стоит упускать той детали, что рабочая поверхность должна быть в виде бочки, она способствует лучшей работе и удержанию пильной ленты.
Выравнивание шкивов ленточной пилы.
Необходимо взять эпоксидную смолу, с ее помощью вклеить втулку из дюралюминия, в которой выточено специальное гнездо для шарикоподшипника.
После этого шкив (нижний) должен быть насажен на ось из стали. Крепится нижний шкив к оси 3-мя шурупами 5х20. После этого ось монтируется в буксу, в которой 2 шарикоподшипника, она должна быть вмонтирована в нижней конец штанги.
Ведомый шкив ременного привода должен монтироваться через дистанционную втулку, на другом конце оси. После этого необходимо сбалансировать ленточные шкивы.
Придаточное отношение ременной передачи от двигателя — i=1, а это означает, что ведомый и ведущий шкивы идентичны, кроме посадочного отверстия, поскольку на ведущем шкиве оно будет зависеть только от вала двигателя.
Чтобы изготовленная пила своими руками не имела колебаний пилящей ленты, необходимо установить демпфер. Он произведен из текстолитовых деталей на болтах М6. Неподвижный элемент гасителя колебаний должен быть закреплен под рабочим столом, что же касается подвижной планки, то она помогает выбрать нужный зазор.
Демпфер: 1 — основание, 2 — болт М6 (2 шт.), 3 — планка, 4 — гайка с шайбой.
Собирая ленточную пилу, следует учесть, что на ней предусматривается и верхний демпфер, но его монтаж необходим только в том случае, если верхний шкив будет «бить по диаметру». В другом же случае такой демпфер может только увеличить трение ленты. Он должен крепиться с помощью болтов М5, специальным кронштейном, выше рабочей поверхности стола на 105 мм.
После этого необходимо установить направляющую, которая будет подавать брус для распила. Она изготавливается из стального угла 100х100 мм. Перпендикулярные плоскости стального уголка рекомендуется отшлифовать на станке. Края одной полки необходимо снабдить 2-мя пазами, это позволит отрегулировать зазор между направляющей и лентой, а по середке — вырез. Он необходим для увеличения хода планки. Для более безопасной эксплуатации узел верхнего шкива, лента из которого заметна, только если располагается в рабочей зоне, должен изолировать защитный кожух.
Рассказывая о том, как создать ленточную пилу своими руками, необходимо уделить внимание и самой пилящей ленте. Изделие обязательно должно быть гибким и прочным. Лучше всего пилящая лента эксплуатируется, если изготовлена из холоднокатаной листовой стали таких марок, как У8, У10 или же 65Г. Она должна быть толщиной 0.2-0.4 мм, если работать предстоит с мягкими породами дерева, если с твердыми — то от 0.4 до 0.8.
1600-1700 мм — длина заготовки, которая требуется для описываемых размеров станка. Прежде чем загибать ленту в кольцо и спаивать, необходимо нарезать зубья интервалом через 3 мм. После этого место, которое будет спаиваться, необходимо посыпать бурой и прогреть на газовой горелке. Чтобы не допустить хрупкости металла, в том месте, где производилась спайка, следует нанести припой ПСР-40, а затем достаточно плотно сжать шов плоскогубцами, при желании можно отшлифовать место спаивания. Зубья необходимо заточить и немного развести, это содействует более продуктивной поверхности распила.
Профиль зуба ленточной пилы и его обозначения.
Пила, своими руками собранная, эксплуатируется для распиливания таких пород дерева, как липа, ель, сосна, осина и другие мягкие породы дерева. Для распилки твердых пород дерева, таких как дуб, красное дерево и тому подобное, необходимо установить ленту толщиной 0.8 мм.
Это один из нескольких возможных способов изготовления ленточной пилы кустарным способом.
Вернуться к оглавлению
Сложность собственноручного изготовления
Чтобы конструкция полностью соответствовала всем установленным требованиям, придется использовать сварку, различные электроинструменты и фрезерный станок.
Ленточная пила должна получиться максимально устойчивой, поскольку нагрузка будет очень большая.
Вес бревна может составить и 300 кг. Более того, весь процесс распила древесины будет происходить в динамике. Особое внимание следует уделить пилящей ленте, а именно правильной ее заточке.
Ну, и, конечно же, самое главное — обеспечение безопасности при эксплуатации устройства. Когда пилящая лента лопается, она имеет свойство улетать в определенную сторону, влево или вправо. Поэтому ни в коем случае нельзя стоять рядом с устройством, которое изготовлено собственноручно, когда оно функционирует.
Вернуться к оглавлению
В качестве заключения
Изготовление ленточной пилы своими руками целесообразно только в том случае, если имеются бесплатные материалы. Поэтому, прежде чем приступать к производству пилорамы, необходимо посчитать стоимость всех материалов, количество времени, которое уйдет на процесс создания, и возможную выгоду, которую можно извлечь.
Для изготовления пилорамы понадобится много терпения, поскольку вручную необходимо отладить множество функций, которые выполняет покупная ленточная пила.
Работа на самодельной ленточной пиле практически ничем не отличается от работы на покупной. Метод остается таким же: древесина фиксируется на ложе, включается двигатель, и работа прибора начинается.
Стоит заметить, что двигатель может быть как электрическим, так и бензиновым.
moiinstrumenty.ru
чертежи и советы по изготовлению
Для хорошего хозяина наличие всей необходимой техники — это счастье. Особенно важно иметь различные приспособления тем людям, которые живут в собственном доме. Например, самодельная ленточная пила существенно облегчит работу с деревянными изделиями. При этом, как уже понятно, аппарат можно соорудить самому из подручных материалов.
Сферы применения и конструкция агрегата
В принципе, устройство используется на лесопилках в промышленных или домашних условиях. Оно обладает определенными преимуществами и недостатками, однако применяется очень широко.
Устройство данного агрегата достаточно простое. На устойчивой раме крепится электродвигатель и шкивы. К ним присоединяется режущее полотно. Благодаря двигателю обеспечивается работа аппарата. В зависимости от типа полотна вы имеете возможность резать не только дерево, но и металлы, сплавы, полипропилен.
Преимущества и недостатки аппарата
Ленточная пила своими руками делается достаточно быстро. Естественно, при этом нужно соблюдать все требования чертежа и быть точным. Однако сначала следует определиться с тем, стоит ли ее делать. Для этого необходимо обязательно рассмотреть все плюсы и минусы агрегата. Итак, среди преимуществ можно выделить такие:
— Высокий уровень производительности.
— Низкая отдача тепла.
— Отличная точность работы, а также высокая скорость.
— Возможность изготавливать заготовки по индивидуальным параметрам. При этом вы можете резать не только по прямой, но и криволинейные изгибы.
— Для изготовления и использования инструмента вам не понадобится большое количество денежных средств.
— Ленточная пила, своими руками которую сделать не так уж и сложно, оставляет пропил небольшой ширины. Благодаря этому вы получаете минимум отходов. Это является очень важным для производства различных изделий из дерева.
Естественно, ленточная пила, своими руками которую можно сделать за несколько дней, не лишена недостатков. Например, таким устройством вы можете сделать только продольные распилы, так как его конструкция не позволит совершить что-то другое. В процессе работы станок может издавать сильный шум и вибрацию. Кроме того, аппарат имеет большие размеры. Если вы решили самостоятельно изготовить такой станок, то вам придется применять специальное оборудование.
Если вас не пугают недостатки, то такой аппарат может принести очень много пользы владельцу.
Какое полотно следует выбрать?
Ленточная пила своими руками может производиться из тех материалов, которые можно найти дома. Однако полотно придется покупать. Перед этим стоит определиться, какое именно оно должно быть. Для этого нужно знать, что вы собираетесь резать. Итак, существуют такие полотна:
1. Биметаллические. Они применяются для резки достаточно прочных сплавов, нержавейки. При этом вы можете быть уверены в том, что лента не лопнет.
2. Алмазные. Они используются, если необходимо обработать мрамор, гранит, кварц и другие самые твердые материалы.
3. Твердосплавные. Они могут быть применены для резки таких сплавов, которые достаточно сложны в работе.
4. Из инструментальной стали. Такие полотна чаще всего используются в домашних условиях или небольших мастерских. Они больше всего подходят для работы с простыми материалами.
Разновидности станков
Перед тем как начать изготов
hochyvseznat.ru
Как сделать ленточную пилу по дереву своими руками в домашних условиях
Любой хозяин стремится иметь всю необходимую технику. Это в основном касается тех людей, которые имеют частный дом. Ленточнопильный станок способен облегчить работу с материалами из дерева. В этой статье будет идти речь о том, как сделать ленточнопильный станок по дереву своими руками из имеющихся материалов.
Где применяются ленточнопильные станки
Ленточные станки применяются на лесопилках, в промышленности или домашнем хозяйстве. У них есть и преимущества, и недостатки, что не мешает им пользоваться довольно широко.
Устроен станок просто. К надежной раме закрепляется электрический двигатель и несколько шкивов. Далее устанавливается режущее полотно. Электрический двигатель обеспечивает работу всего изделия. Смотря какое установлено полотно, появляется возможность порезки древесины, металлов и пластиковых изделий.
Основные недостатки и преимущества ленточных станков
Ленточная пила по дереву своими руками изготавливается за небольшое количество времени. В этом процессе необходимо быть точным и выполнять требования чертежей. Вначале стоит понять, так ли подобный самодельный лобзик необходим. В этом вопросе смогут помочь недостатки и достоинства ленточной пилы.
Специалисты выделяют такие преимущества данных станков:
- большая производительность;
- маленькая отдача тепловой энергии;
- хорошая скорость работы и точность отрезки;
- возможность производства изделий по индивидуальным заказам;
- для сборки ленточной пилы не нужно большого количества финансовых средств;
- минимальное количество древесных отходов.
Такой станок, изготовленный в домашних условиях за пару дней, имеет некоторые недостатки. Подобным аппаратом можно сделать лишь продольные разрезы. Его конструктивные возможности не рассчитаны на иное. При работе ленточная пила способна вырабатывать большую вибрацию и шум. Также изделие имеет большие габаритные размеры. Для изготовления ленточной пилы своими руками необходимо применение дополнительного оборудования. Несмотря на все имеющиеся недостатки, подобное изделие способно принести много пользы человеку.
Типы ленточных пил
Перед сборкой ленточной пилы стоит изучить их виды. Специалисты различают такие виды подобных аппаратов:
- беззубые ленточные пилы: обладают большой производительностью и способны обрабатывать металлические изделия. Их особенность в том, что они обладают маленькими зубцами. Резка изделия происходит за счет большого нагрева и трения;
- зубчатые ленточные пилы: для обработки пластиковых изделий и дерева. Основной особенностью режущих полотен в подобных аппаратах считается их замкнутость;
- электроискровые ленточные пилы: используются в основном на больших предприятиях, на которых обрабатывается огромное количество древесины.
Материалы для изготовления ленточной пилы своими руками
Сделать всю конструкцию ленточной пилы из подручных средств не получится. Перед началом сборки необходимо приобрести следующие материалы:
щиты из дерева или фанеры. Из них можно сделать шкивы, тумбу для станка и его раму;- листы из металла для изготовления режущего полотна. Готовое изделие при желании можно просто приобрести;
- металлический прут и швеллер необходимы для сборки опорной рамы и оси, на которой можно закрепить шкивы;
- резиновые листы нужны для защиты изделий из дерева;
- качественный ремень, способный обеспечить вращение колес на аппарате;
- специальный клей, чтобы склеить определенные части изделия;
- элементы для крепежа деталей: болты, прокладки, шайбы и саморезы;
- специальные втулки;
- электродвигатель. Не стоит приобретать его за большие деньги. Главное, заранее определиться с мощностью ленточной пилы.
С помощью этих материалов довольно просто изготовить ленточную пилу своими руками в домашних условиях. Все необходимые чертежи подобной конструкции стоит рассматривать точно, проверяя каждую деталь. Схемы можно найти в сети.
Инструмент для изготовления ленточной пилы
Для сборки ленточной пилы в домашних условиях стоит заранее подготовиться. Специалисты рекомендуют иметь такие дополнительные инструменты:
Советы по изготовлению ленточной пилы
Можно теперь и подробнее описать изготовление ленточной пилы своими руками. В работе стоит придерживаться следующего порядка:
перед сборкой этого аппарата в домашних условиях стоит найти хорошие и подробные чертежи станка. Они являются основным элементом качественного изготовления. Работа начинается с сооружения тумбы и стола. На них будет закрепляться весь механизм станка. Здесь пригодится дерево или фанерный щит;- потом стоит вырезать из фанеры специальные шкивы, которые оклеиваются листами резины. Детали из дерева нужно хорошо отшлифовать и обработать смолой;
- далее изготавливается рама для всего аппарата. Стоит заранее просчитать ее форму, чтобы обеспечить надежное удержание режущей ленты. Из швеллера сваривается опорная рама и одевается ось из стали;
- шкивы необходимо надеть на ось с помощью специальных втулок, размещенных на ее разных концах. Все шкивы нужно обязательно правильно сбалансировать;
- чтобы лента не была подвержена вибрации, стоит использовать демпфер;
- к электрическому двигателю необходимо подсоединить все детали, которые будут приводиться в движение;
- дополнительно стоит изготовить направляющий механизм, который поможет подавать материал для обработки. Он делается из металлических уголков.
Как правильно настроить ленточный станок
Самодельная ленточная пила для обработки древесины обязана быть хорошо подготовлена к началу работы. Стоит ее заранее настроить и испытать. Ленту для резки необходимо устанавливать только под вертикальным углом. Даже маленький перекос способен поломать ленточную пилу и нанести вред здоровью работника. Режущая лента обязана быть натянута по максимуму. Для этого можно использовать главный шкив. С его помощью можно качественно отрегулировать ленточную пилу. Для изготовления ленточных пил лучше всего применять сварку. Это обеспечит устойчивость и особую прочность станка.
Основные проблемы при изготовлении станка
Для успешного выполнения некоторых видов работ может пригодиться дополнительное оборудование. Не каждый человек сможет выполнить сварочные работы или фрезеровку отдельных деталей. Вся конструкция обязана быть очень устойчивой. Также стоит учесть вес обрабатываемого материала. Многим людям понадобится помощь с прочтением чертежей. Недостатком самодельного станка можно считать довольно широкий пропил. Специалисты советуют перед изготовлением ленточной пилы заранее найти весь необходимый инструмент и материалы.
Применение ленточной пилы
После окончания работ по изготовлению ленточной пилы необходимо научиться правильно с ней обращаться. Стоит соблюдать технику безопасности. При определенных обстоятельствах режущее полотно может просто лопнуть. Чтобы находиться возле работающего аппарата, необходимо быть полностью уверенным в надежности крепления.
Необходимо строго соблюдать такие правила эксплуатации ленточной пилы:
при большом размере обрабатываемой заготовки стоит установить на станок пилу с крупными зубьями;- лучше использовать режущие ленты универсального типа. Так пропадет необходимость смены полотна при обрабатывании различных материалов;
- до сборки станка стоит выбрать место, в котором он будет располагаться. В этом случае учитывается наличие проводки и размер комнаты. Обязательно, чтобы помещение имело хорошую вентиляцию;
- перед началом работ необходимо натянуть ленту для резки. Иначе ленточная пила не будет правильно работать и станет угрозой для здоровья человека;
- станок должен выключаться после 2 часов работы. Далее режущая лента обязательно снимается и сутки не используется;
- после окончания работ аппарат необходимо хорошо смазывать. Стоит подобрать для станка наиболее подходящее масло;
- необходимо каждый день проверять правильный развод режущих зубьев.
instrument.guru
Ленточная пила по дереву своими руками: чертежи, видео
Проведение своими руками большого количества работ той или иной направленности, которые подразумевают широкое использование доски, деревянного бруса и тому подобных материалов, связано с необходимостью проведения распиливания бревен. Понятно, что всегда можно приобретать уже готовые к использованию материалы, что в наше время не составит никакого труда, или же купить ленточную заводскую пилораму промышленного назначения. Но такие решения связаны со значительными материальными затратами, а это не всегда оправдано.

Самодельная пила по дереву
Более дешевым вариантом является разработка своими руками ленточной пилы по дереву, но для этого нужно будет иметь чертежи, полотно из прочного металла, режущий материал, а также некоторые другие детали.
Главной частью такой домашней пилорамы является пила и мотор, что будет приводить ее в движение. Оптимальный вариант – двигатель, мощность которого составляет 10 кВт: в таком случае можно будет без проблем разрезать на доски любые бревна с помощью станка, изготовленного своими руками.
Что нужно для самостоятельного изготовления станка?
Собрать своими руками такой ленточнопильный станок вполне возможно по готовым чертежам, благодаря этому будет возможность распиливать на доски любые бревна прямо у себя дома. Для выполнения такой работы – собственноручной сборки станка – потребуется:
- некоторые детали старых автомобилей;
- прокат сортового типа;
- проведение слесарных и токарных работ;
- незначительные сварочные работы.
Во время сборки подобного ленточного станка по дереву можно использовать старые шкивы от любой сельскохозяйственной техники, оптимальный диаметр которых – около 30 см. Направляющие такой самодельной пилорамы лучше всего сделать с труб двух видов из металла: полудюймового диаметра и немного большего, в результате чего последние можно будет надевать на меньшие трубы, оставляя незначительный зазор около 0,5 мм.
Изготовление основания и устройства для закрепления бревен
Изготовление основания
На первом этапе собственноручного проведения таких работ изготавливается основание для будущего станка для превращения обычных бревен в качественные доски. В качестве материала для этого подойдут уголки из металла. Устанавливать их следует вверх стороной, при этом необходимо добиться максимальной точности регулировки колесиков, иначе они будут быстро изнашиваться.
Перпендикулярно этим уголкам привариваются профильные трубы размерами 2,5×2,5 мм, между ними – труба диаметром в полдюйма, на которой закрепляются когти, являющиеся крепежом для бревен.
Такие крепежные приспособления должны легко двигаться в нужные стороны. Для надежной фиксации бревна достаточно пару раз ударить по зажимам молотком, вследствие чего произойдет заклинивание механизма фиксации материала, и с ним можно будет проводить все требуемые операции.
Конструкция когтей
При собственноручной сборке пилы ленточного типа профильные трубы из твердого металла, которые устанавливаются перпендикулярно к основанию, должны быть сделаны таким образом, чтобы немного выступать за основание. Кроме того, на данных трубах следует установить перемычки: на них будут размещаться бревна перед распилкой на станке.
Как правильно устанавливать шкивы
Установка шкива
Шкивы станка следует подтачивать таким образом, чтобы при надевании ремень выступал за их край на пару сантиметров. Вся такая конструкция перемещается по специальным направляющим – трубам, которые располагаются горизонтально. Этот узел, в случае необходимости, можно зафиксировать на нужном месте с помощью болтов.
Чтобы предотвратить спадание ленты со шкивов во время работы на станке, их нужно устанавливать не параллельно, а под небольшим наклоном – в результате такой установки во время работы пилы лента будет «натягиваться» на ролики сама.
В качестве ведомого используется правый шкив, поэтому для него необходимо приделать пружину, автоматически натягивающую его во время работы. Левый же шкив, следственно, является ведущим, поэтому фиксировать его при собственноручной сборке ленточного станка необходимо жестко. При смене размера пилы ведущий шкив нужно сдвигать.
Как делать правильный роликовый узел
В собственноручно сделанном ленточнопильном станке оптимальным вариантом будет использование каленых роликов. Правильным решением будет сделать весь узел с роликами собственноручно и быть уверенным в его надежности, а не использовать готовый.
Данный узел состоит из 3 подшипников, два из которых – марки 202, а еще один, сзади, немного больший. Вал и ролики необходимо выточить таким образом, чтобы в случае уменьшения или увеличения ширины пилы станка оставалась возможность устанавливать шайбы между подшипниками.
Вал должен входить в две трубки: полудюймовую и немного большую, вставив одну в другую. В полудюймовой трубе вал должен иметь небольшое смещение оси, по сути его приваривают к нижней стенке.
Весь этот узел станка, что состоит из трубок и вала, к направляющим прикрепляется своими руками таким способом, чтобы была возможность регулировать роликовый узел по высоте, смещать его в стороны в зависимости от диаметра обрабатываемых на сделанном своими руками станке бревен, а также надежно фиксировать его после окончания регулировки.
Рама и дополнительные элементы
Рама, высота которой должна составлять полутора метра, делается своими руками из швеллера 100, для придания конструкции дополнительной жесткости ее укрепляют косынками. Блок станка, который будет осуществлять разрезание бревен, будет двигаться по швеллерам при помощи шпилек-винтов. Жесткая фиксация к пилораме режущего узла пилы осуществляется посредством болтов с контргайками.
Чтобы сделать станок более удобным в использовании, для него можно сделать своими руками дополнительное приспособление, в котором будет собираться стружка. В самом простом случае это – обычный деревянный или фанерный ящик, также можно использовать и что-то другое подобное.

Готовая самодельная ленточная пилорама
Таким образом, самодельную ленточную пилу по чертежам можно сделать и самостоятельно даже в гараже или небольшой домашней мастерской. Но благодаря такому самодельному инструменту с пилой можно прямо на своем участке производить доски, распиливая бревна.
Работать на таком инструменте, изготовленном по готовым чертежам своими руками, достаточно просто. Положив на ложе бревно, зафиксировав его и включив механизм, он быстро сделает необходимую обработку бревна при помощи ленточной пилы.
В процессе использования самодельного станка необходимо постоянно следить, чтобы его пила всегда оставалась острой, а также придерживать правил техники безопасности.
stanokgid.ru
Пила ленточная по дереву и металлу своими руками :: SYL.ru
Если у вас есть какое-либо хобби, обычно требуются специальные инструменты. Увлечения бывают разные, соответственно, количество техники тоже поражает воображение. Она может быть очень сложной или же простой как советский пятак. К первым, к примеру, относится ленточная пила по дереву или по металлу. Используют её, конечно, не только для удовлетворения своих творческих потребностей, но и для более серьезной работы. Например, для ремонта.
Что это за инструмент?
Пила ленточная – это инструмент для нарезания, оснащенный множеством резцов.

Собственно, так называется только режущая поверхность, а сам инструмент зовут станком. И именно её можно назвать рабочей техникой. Сама же пила ленточная представляет собой ленту из металла, предпочтительно из стали, которая свернута в кольцо. С одной стороны нарезаны зубья, которые и позволяют работать ей как режущему инструменту.
Ленту эту надо установить на пару вращающихся шкивов станка – для создания движения используется электромотор с подключением от сети. Таким образом можно создавать как прямые, так и криволинейные пропилы.
Зачем делать её самому?
Предпочтительнее, конечно, приобрести инструмент в специальном магазине, который торгует именно такой техникой. Правда, здесь присутствуют два «но»:
- Цена, которая может показаться слишком высокой для обычного человека.
- Функциональность – дело здесь в том, что пила ленточная далеко не всегда входит в список обязательных инструментов для мастерской. Большинство операций можно сделать и без её помощи, а значит, и причин приобретать слишком дорогой агрегат смысла нет.
Вторая причина в основном следует из первой – если бы цена не была слишком высокой, то большинство приобрело бы такой инструмент. Это логично, ведь на нем очень удобно работать.
Конструкция
За основу приведенного здесь проекта взята разработка Матиаса Вандела – канадского изобретателя, который собрал свою пилу в основном из дерева. Можно подумать, что для такого инструмента лучше использовать металл, но все не совсем так.
Ленточная пила-станок такой сборки демонстрирует неплохие показатели, вполне сравнимые с покупными моделями. К тому же легкозаменяемый материал позволяет мгновенно проводить текущий ремонт. Забота же о заменяемых деталях отойдет на второй план.

Также важно помнить о том, что многое будет зависеть от выбранного двигателя (лучше использовать уже готовый), пилы для ленточных станков и заготовок.
Рама для пилы
Является основным несущим элементом всей конструкции. Использовать нужно крепкое дерево – ни в коем случае не ДСП, не МДФ, фанеру или мебельный щит. Прекрасно для такой цели подойдет сосновая дюймовка.
Форма рамы – С-образная. Сверху надо сделать основу для направляющих механизма натяжения с верхним колесом. С противоположной стороны закрепляются две опоры, которые в будущем соединятся с основой. Сама конструкция здесь многослойная – порядка шести слоев для прочности. Но это еще не считая дополнительных накладок.
Поэтапное склеивание чревато перекосом и неточностями. Потому вам нужно строго контролировать перпендикулярность элементов. Также можно делать раму без опорных ног, но обязательно оставить для них пазы нужного размера.
Блок двигателя верхнего колеса
Это второй шаг к тому, чтобы в ваших руках оказалась ленточная пила по дереву и металлу. Блок представляет собой подвижный элемент конструкции, который обеспечивает натяжение ленты.
Установка происходит на уже подготовленную раму – рога буквы "С", которые остались пустыми. Вам нужно закрепить профиль (предпочтительно из твердых пород дерева). Он представляет собой деревянную прямоугольную рамку, внутри которой установлен подвижный держатель вала верхнего колеса.
Угловые соединения рамки можно укреплять вставками. В такой работе надежность находится на первом месте.
Дальше вам нужно пропилить в углах рамки угловые пазы под вставки.

Сам блок должен свободно перемещаться. В верхней же части сделайте отверстие для длинного болта – таким образом пила ленточная по металлу сможет регулировать натяжение.
В держателе вала должен быть установлена регулировка наклона – обычно для этой цели служит винт. Сам же держатель закрепляется на своем месте двумя саморезами. Чтобы достичь нужной в будущем подвижности, нужно оставить достаточный люфт.
Под винт устанавливается подкладка из металла, а сам вал после настройки будет зафиксирован с помощью очередного самореза.
Колеса пилы
Здесь вполне уместно использовать те материалы, которые были забракованы раньше. Например, МДФ или ДСП. Конструкция, на основании которой собирается пила ленточная, предусматривает размер колес диаметром сорок сантиметров. Толщина же может быть разной, но порядка двух-трех сантиметров.
Конструкция здесь также клееная, из нескольких слоев.

Ответственный же момент, как можно догадаться, – центральная часть.
Изготовить колеса можно на фрезерной машинке. Для удобства сразу просверливайте в центре отверстие, чтобы совмещать круги, а также постарайтесь оставить около сантиметра для чистовой обработки уже после сборки.
Валы вам нужны под готовые подшипники, с ограничителем и внутренней резьбой на противоположных сторонах. Фланцы можно сделать из той же фанеры. Состоят они из двух деталей – первая держит подшипник, а вторая обеспечивает зазор между ним и самим колесом.
Диаметр просверленного отверстия не должен строго соответствовать продетому валу – лучше чтобы первое было немного больше последнего.
Вам понадобится два колеса, поскольку пила ленточная по металлу или дереву предусматривает такую конструкцию. Они одинаковы по своим размерам и изготавливаются одновременно.
Также чтобы лента пилы не соскальзывала, можно придать круглым изначально колесам слегка бочкообразную форму – это поможет избежать многих проблем. Угол же скоса с каждой стороны надо сделать в пять градусов.
На одном из колес устанавливаете штатный приводной шкив, подогнанный под используемый ремень.

Последняя часть работ – балансировка. Для этого используются небольшие подшипники как опора для ленты. Временная ось крепится горизонтально, подшипники, указанные раньше, устанавливаются, и запускается легкое вращение.
Для улучшения работы можно сделать несколько углублений в нижней части тыльной стороны колеса – это помогает избежать вращения в любом положении.
Крепление колес
Верхнее устанавливается первым. На вал надеваются шайбы. Само же колесо надо закрепить с помощью болта плюс толстой шайбы. Вкручивается это все в торец вала. С помощью регулирующих винтов устанавливаете его параллельно раме.
Блок нижнего колеса закрепляется струбцинами, после чего оно навешивается на раму. Далее выставляете колеса так, чтобы они представляли собой одну плоскость, одновременно параллельную вертикальной стойке. После не забудьте зафиксировать нижний вал.
Настройка направляющих пильного полотна
Здесь требуется некоторый навык – один из концов ленты (который гладкий) уприте в наружное кольцо подшипника.

С боков она должна удерживаться. Можно использовать фторопластовые «сухари», но лучше подойдет дерево – последнее медленнее изнашивается.
Защитный кожух – просто раскроенная труба, надежно закрепленная саморезами или винтами.
Шина должна быть установлена с предельной точностью – для ленточной пилы любой перекос станет ощутимым. Крепление шины в раме производится с помощью паза. Разметить все можно на широком полотне.
Если же с пазом вы ошибетесь, то просто расширьте его и сделайте уголок из металла и прокладку из кусочков бумаги, наклеенных на него. Таким образом, лента должна встать ровно. Уголок, естественно, нужно тщательно закрепить.
Фиксатор же оснащается двумя отверстиями. Первое используется для того, чтобы максимально надежно прижимать шину, а второе – только при работе с очень толстыми заготовками. Оно позволяет поднять первую деталь.
Вместо заключения
Очень важную процедуру представляет собой заточка ленточных пил.

Причем зубцы должны быть гладкими, в противном случае устройство быстро затупится. Использовать можно обычный точильный круг. В зависимости от материала пилы – корундовый, эльборовый или алмазный. Также нужно доводить работу до конца мелкозернистым оселком.
Главное в таком процессе – подойти к делу с умом и терпением. Ленточная пила, своими руками создаваемая, – трудоемкий и долгосрочный проект. Ошибки здесь недопустимы. Но если все делать по инструкции и сверяться с советами специалистов, то вскоре в вашей мастерской появится новый инструмент.
Итак, мы выяснили, как делается ленточная пила своими руками.
www.syl.ru














