Ленточная пилорама своими руками, простой и надежный станок. Как сделать ленточную пилораму своими руками
Ленточная пилорама своими руками чертежи
Уважаемые посетители сайта «Самоделкин друг« из представленного материала вы узнаете как можно самостоятельно сделать свою собственную ленточную пилораму. Каждый мастеровой человек мечтает иметь в своем хозяйстве свою собственную пилораму, потому как ее наличие в десятки раз уменьшит расходы на пиломатериал. При помощи данного станка можно самому распускать бревна на доски и бруски, так же отличный вариант и для тех кто строится, тоесть доски можно производить непосредственно на месте строительства будущего дома. А так же возможно открыть свою частную пилораму и распускать доски уже за деньги и пополнять семейную казну дополнительным заработком. Вообщем станочек очень хорош со всех сторон, да и самостоятельная его сборка опять же обойдется куда дешевле заводского аналога, потому как много запчастей можно использовать б/у и имеющихся в наличии у автолюбителя, к примеру : колеса от легкового автомобиля, ступицы, подшипники, болты и прочее что можно раздобыть в гараже)
Конструкция ленточной пилорамы представляет из себя 1. рельсовую дорожку 2. станину с силовым агрегатом 3. полотно 4 механизмы регулировки и натяжения 5. каретка 6. ровная поверхность (желательно фундамент-плита)
И так, давайте ознакомимся с перечнем необходимых составляющих для сборки станка. А так же разберем весь процесс поэтапно.
Материалы
- уголок 100х100, швеллер, рельса от узкоколейки (для изготовления рельсового полотна)
- колеса от легкового автомобиля
- ступицы
- подшипники
- профтруба квадратного сечения
- шпилька с резьбой
- цепь
- домкрат
- капельница
- силовой агрегат (бензиновый или электродвигатель)
- арматура
- болты, гайки, шайбы, граверы
- листовой металл 1 мм
- шкив
- ремень
Инструменты
- сварочный аппарат
- дрель
- наждак
- болгарка
- молоток
- рулетка
- набор гаечных ключей
- уровень (лазерный)
- линейка
- уголок
Процесс сборки ленточной пилорамы своими руками.

И так, первым делом стоит ознакомится с чертежами, потому как любое дело начинается с разметки, как говорится «Семь раз отмерь, один раз отрежь.




Так с чертежами ознакомились, а теперь хочется еще отметить то, что самодельные пилорамы бывают нескольких видов
1 Ленточная пилорама с электродвигателем.
2. Ленточная пилорама с бензиновым двигателем.
3 Шинная пилорама.
Принцип работы ленточного станка для распиловки древесины. Полотно натягивается на 2 горизонтально расположенных шкива, в данном случае это обычные автомобильные колеса с покрышкой и камерой, неоспоримый плюс данной конструкции в том, что можно производить натяжение пильного подкачкой шин.
Ограничитель и поддерживающие ролики располагаются непосредственно в нижней части.
Чтож принцип работы надеюсь понятен, далее стоит позаботится о размещении рельсовой дороги по которой будет ходить каретка с пильным полотном и распускать бревна на доски. Площадка должна быть размерами не менее 3 х 6 м, а самое главное ровной! Поэтому необходимо под пилораму залить плиту-фундамент и выровнять до идеально ровной поверхности. Копается углубление, укладывается песчаная подушка и заливается армированная плита из бетона.
Далее идет установка самой рельсовой дороги, ее в лучшем случае можно сделать из рельс от узкоколейной железной дороги, но таковое трудно достать, так что придется делать из швеллера либо уголка. Обратите внимание!!! На фото уголок расположен ребром вверх.
Соединять уголок между собой можно сваркой, но при нагреве металла его может повести, а нам нужна идеально ровная дорога, так же можно крепить рельс непосредственно к бетонному основанию при помощи анкерных болтов.
Опорные ролики можно сделать из обычных подшипников, либо заказать у знакомого токаря.
После чего изготавливается непосредственно сама пильная рама, где используются трубы разного диаметра которые можно вставить одна в другую. за счет чего ползун может подниматься вверх и вниз.
Рама же сварена из профтрубы квадратного сечения.
В нижней части устанавливают опорные ролики. они должны соответствовать ширине рельсовой дороги.
Далее изготавливается механизм подъема.
После чего устанавливаются шкивы и ступицы.
Подключение к силовому агрегату.
Выравнивание и поддержка пильного полотна осуществляется за счет подшипников.
Сверху в обязательном порядке следует установить защитный кожух из металла. Техника безопасности здесь превыше всего, потому как полотно может и вылететь .
Механизм натяжения можно сделать из небольшого домкрата.
После полной сборки пилорамы проводится пробный запуск, если все в порядке, то отключается двигатель и укладывается и крепится бревно.
Распускается бревно на доски. Так же можете посмотреть работу лесопилки наглядно на видео.
Вот такая замечательная пилорама вообщем то получилась, теперь распускай доски и бруски для строительства и ремонта сколько угодно, только успевай бревнышки подкидывай)
Большое спасибо за внимание!
ПОДЕЛИТЬСЯ С ДРУЗЬЯМИ В СОЦСЕТИ
ПОДЕЛИСЬ С ДРУЗЬЯМИ
www.samodelkindrug.ru
Ленточная пилорама своими руками: чертежи :: SYL.ru
Строительство дома из дерева или работа плотника требуют специального деревообрабатывающего инструмента. И речь идет не о пиле «дружба», а о самой настоящей ленточной пилораме. Конечно, можно закупать уже обработанные заготовки или приобрести промышленную пилораму, но цена на все это очень высокая. В данной статье мы поговорим о том, как изготавливается ленточная пилорама своими руками. Задача вполне посильная, но потребуются внимание и настойчивость.
Общие сведения
Дерево в качестве строительного материала используется испокон веков. Можно говорить о том, что даже в наше время многие отдают предпочтение деревянным домам в частном секторе, нежели бетонным. Обусловлено это многими причинами, но мы не об этом. Чтобы ускорить строительные работы, а также сократить расходы, были придуманы деревообрабатывающие станки. Пилорам же на сегодняшний день есть огромное количество, но все они выполняют обработку лесозаготовки, только методы отличаются.
Если у вас будет пилорама ленточная, своими руками изготовленная, то она может стать дополнительным источником заработка. Ведь вы с легкостью сможете браться за частные заказы, да и себе ни в чем отказывать не будете. Захотели баню или беседку? Нет проблем, берем заготовку, обрабатываем её и приступаем к строительству.
Почему именно ленточная?
Вы наверняка задаетесь данным вопросом. Как было отмечено несколько выше, в настоящее время есть огромный выбор, но мы остановимся именно на этом. Дело в том, что такое решение имеет огромное количество преимуществ. Во-первых, пилорама такого типа может работать с любыми породами деревьев, начиная от лиственных и заканчивая высокосмолистыми. Во-вторых, производимый сортамент достаточно обширный, это обрезные и не обрезные доски, брусья, шпон, лафет и многое другое.
Вы сможете создавать заготовки, из которых в дальнейшем будет изготовлена мебель, клееный брус, щиты и т. п. Да и в целом рабочий процесс на ленточной пилораме упрощен. Что самое главное, данный вид пиления предусматривает минимальные потери бревна на опилки, что является очень важным моментом. Если пилорама ленточная своими руками будет сделана правильно, то вы не увидите на обработанной заготовке волн и щетины.
Ленточная пилорама своими руками: чертежи и конструкция
Прежде чем приступить непосредственно к практической части, необходимо бегло ознакомиться с конструкцией и набросать несколько простеньких чертежей. Вообще, конструктивная схема выполнена таким образом, что вы можете наращивать компоновку оборудования. То есть в самом простом варианте вы получаете элементарную ленточную пилораму с ручной подачей заготовки, а в самом сложном – высокопроизводительное изделие, имеющее автоматику и датчики.
Основа пилорамы – рама с направляющими. Обычно её собирают сварными подошвами, где и размещают передвижные ролики. Станина во всех случаях П-образная и собирается посредством сварки двух швеллеров между собой. Соответственно, ведущий шкив закрепляется на одной стороне рамы в неподвижном состоянии, а второй - на другом конце в подвижном. Направляющие же монтируются посередине рамы и представляют собой разборную конструкцию. Это очень актуально, если оборудование планируется транспортировать. В целом же ленточная пилорама своими руками, чертежи которой вы можете найти в данной статье, изготавливается не так быстро. Но такое оборудование имеет массу сильных сторон.
Самодельные ленточные пилорамы своими руками от А до Я
Можно говорить о том, что даже простейшая самодельная пилорама, при условии, что она правильно собрана, имеет уникальную конструкцию. Дело в том, что только подобный тип деревообрабатывающего станка полностью исключает повреждение станины в результате падения тяжелой заготовки. Достигается это за счет независимо подвешенных направляющих.
О чем вы должны позаботиться, так это о выборе режущего инструмента. В нашем случае используется ленточная пила, потому, собственно, оборудование так и называется. Её ширина может достигать 60 мм. Натягивается она посредством пружинно-винтового механизма, что очень удобно, так как это не занимает много времени. Пильная лента устанавливается и фиксируется двумя замками. Они должны быть крайне надежными, обратите на это внимание, если собираетесь изготавливать самодельные ленточные пилорамы. Своими руками такие замки делать не стоит, лучше купить.
Принцип действия устройства
Рабочий цикл выглядит примерно следующим образом:
- Подготовка заготовки. На этом этапе бревна обрезают и придают им одинаковую форму.
- Обработка заготовки. Оператор настраивает оборудование. Если есть автоматика, то выставляются необходимые параметры, все остальное делает пилорама.
- Заключительный этап. Данной стадии может не быть, что зависит от наличия погрешностей. Если таковые на обработанных бревнах обнаружились, то их устраняет оператор.
В общем и целом принцип действия устройства основан на том, что в процессе обработки заготовка находится в неподвижном состоянии и разрезается подвижной лентой. Она движется в горизонтальном направлении и установлена на ведущем и ведомых шкивах. Для обеспечения прямолинейности реза крайне важно соблюдать натяжение ленты. Бревно же фиксируется между направляющими с помощью специальной опоры. Оборудование предусматривает наличие электронной линейки или гидравлики, что нужно для получения заготовки определенной толщины. Основные ручные работы: укладка бревна, переворот и его зажим.
Изготовление пилорамы
В качестве основы для нашей будущей пилорамы необходимо взять два швеллера. Они должны иметь длину по 8 метров и высоту порядка 14 сантиметров. Конечно, не всегда есть подходящий швеллер, поэтому вы можете пойти другим путем и использовать рельсы или уголки 50х100 мм. Основное требование заключается в том, чтобы основа была ровной и не имела изгибов. По всей длине швеллеров просверливается ряд отверстий. При этом нужно строго соблюдать заданный шаг. По сделанным отверстиям мы соорудим стяжки. Для этого подойдут отрезки трубы ¾ дюйма. Их длина должна быть порядка 25 сантиметров. Для соединения желательно использовать шпильки или болты 29-35 см.
Мини пилорама своими руками ленточная устанавливается на специальные стойки. Их желательно собирать, используя болты М12. В качестве материала могут быть использованы трубы, уголки или швеллера. Соответственно, чем длиннее станина агрегата, тем большее количество стоек нам понадобится. В нашем же случае достаточно 4-х штук.
Продолжаем сборочные работы
Зачастую приходится сталкиваться с проблемой недостаточной жесткости станицы. Для этого желательно поставить раскосы. Кстати, станина имеет весьма внушительный вес, поэтому сборку желательно осуществлять на месте эксплуатации оборудования. Чтобы обеспечить горизонтальность направляющих, что, кстати, очень важно, нужно под стойки подкладывать бруски соответствующей толщины. В крайнем случае можно подкопать грунт. В целом же сложного тут ничего нет, главное, иметь при себе строительный уровень.
Теперь нам предстоит сделать подвижную тележку. Она состоит из металлической плиты толщиной 40-50 мм. В зависимости от габаритов двигателя подбирается её длина, оптимально 550-600 см. Что касается ширины, то тележка должна быть такой, чтобы швеллеры с каждой стороны выходили примерно на 70-80 мм.
Важные детали
В целом же изготовление ленточной пилорамы своими руками практически завершено. Осталось лишь несколько небольших деталей. Хотелось бы прежде всего сказать несколько слов о подвижной тележке. Дело в том, что для обеспечения перемещения по направляющим необходимо использовать пластины и прокладки. При этом необходимо стараться сделать зазор как можно меньше. Толщина прокладок выбирается такой, чтобы она была на 0,5 мм больше полки швеллера. Крепить все это дело нужно с помощью 8-ми болтов М8.
Так как для перемещения тележки с двигателем используется цепь, то нужно обеспечить её достаточное натяжение. Это необходимо для исключения свободного хода штурвала. Он находится на одной из втулок около звездочек, которые стоят на краях направляющих.
Каждый должен знать
Есть еще такой вариант, как пилорама ленточная бензиновая. Своими руками её сделать еще проще. В этом случае в качестве мотора, приводящего режущий инструмент во вращение, будет выступать двигатель бензопилы, жестко закрепленный на станину. Функции ленты выполняет полотно бензиновой пилы. В целом же конструкция такой пилы предельно простая, но при этом достаточно функциональная.
Удобно работать с подобной техникой еще и из-за продуманного механизма крепления. Он состоит из труб с внутренним диаметром 35-40 мм в которые вставляются подвижные штанги. Сверху монтируются прижимы (из уголка 40х40) и кулачковые зажимы.
Заключение
Несложно догадаться, что основные элементы пилорамы – двигатель и пила. Маломощный мотор для серьезной станины не подойдет. Постарайтесь приобрести двигатель мощностью 10 кВт. Его будет вполне достаточно для вышеописанной конструкции. Что же касается пилы, то её диаметр должен быть порядка метра. В случае если вы испытываете затруднение с покупкой данных комплектующих, рекомендуется уменьшить размеры станины.
Вот мы с вами и поговорили о том, как сделать ленточную пилораму своими руками. Конечно, вовсе без затрат смастерить подобный агрегат не выйдет, но существенно сэкономить вы можете. В любом случае желательно руководствоваться обрабатываемыми заготовками. Чем больше они будут, тем массивней получится станина и в целом пилорама. В конце концов, вы можете воспользоваться самой простой конструкцией и использовать в качестве основы бензопилу. Если все правильно собрать, то результат вас порадует. Теперь вы знаете, как собирается ленточная пилорама своими руками, и можете воспользоваться этими знаниями.
www.syl.ru
Ленточная пилорама своими руками в домашних условиях: материалы, инструкция, чертежи
Сборка ленточной пилорамы своими руками - это вполне реально. Если посмотреть на то, из каких составляющих состоит цена на древесину, то необходимость в таком устройстве при работе с деревом становится очевидна. В стоимость древесины входит цена самого дерева, стоимость его обработки, доставки. Практически всех этих пунктов можно избежать, если иметь в своем распоряжении пилораму.
Общая информация о конструкции
Стоит начать с того, что на рынке строительных инструментов и приспособлений существует довольно много разнообразных модификаций этого оборудования. Но так как речь идет о сборке ленточной пилорамы своими руками, то доступен лишь один вариант. В этом случае станок имеет пилу, которая фиксируется в определенном положении, а перемещается станина (тележка) с расположенной на ней заготовкой. Данной модели вполне хватит для полноценной работы с деревом. Все остальные модификации лишь упрощают труд персонала, автоматизируя процесс.
Особенности конструкции
При сборке ленточной пилорамы своими руками сразу стоит задумывать о ее габаритах. Зависеть они будут от того места, где будет располагаться устройство. В этом есть некоторая проблема, так как у каждого частного дома или дачи свои размеры участка, а потому и размеры для оборудования придется определить индивидуально. Также стоит обратить свое внимание на то, что сборка ленточной пилорамы своими руками проходит по определенным чертежам. Однако они служат лишь ориентирами для соединения отдельных частей. Конечная модель может отличаться в зависимости от сырья, с которым придется работать. Чаще всего такое оборудование применяется для роспуска бревен и обрезки досок.
Что нужно знать при конструировании
Самое первое, что стоит выделить - это возможность постоянного дополнения и улучшения конструкции, даже после окончания процесса сборки.
Сборка самодельной ленточной пилорамы проходит по блочно-модульной схеме. Если в области сборки сложных механизмов отсутствует практический опыт, то рекомендуется начать с изготовления простейшего варианта. Если изначально устройство имело ручной привод, то впоследствии довольно просто переоборудовать его и повысить автоматизацию процесса производства древесины. По этим причинам изначально стоит собирать простейший вариант самодельной ленточной пилорамы.
Подходить к вопросу сборки нужно также с определенной стороны. Первое, что нужно решить - это в какой именно плоскости будет вестись разрез. Это будет определять положение рабочего инструмента. Второй вопрос, который нужно решить сразу, это универсальное ли должно быть оборудование или работа все время будет однотипной. Кроме того, специалисты рекомендуют делать так, чтобы рама была мобильной, то есть ее можно было переустанавливать.
Начало работ. Выбор места
Сразу стоит отметить, что если места недостаточно, то можно конструировать мини-ленточную пилораму.
Достаточным пространством для размещения мощного оборудования считается 18 квадратных метров. Этого хватит, чтобы распускать даже крупногабаритные бревна. Так как далеко не у всех имеется большое пустое здание для размещения устройства, то многие просто устанавливают его на улице. Однако постоянно летящие опилки в большом количестве заставляют, в таком случае, обносить участок забором, делая его небольшой мастерской. Кроме того, это сильно повышает актуальность мини-пилорамы ленточного типа.
Кроме того, что понадобится участок для установки самого приспособления, потребуется еще и место для складирования готовой древесины.
Подборка материалов и комплектующих
Основой всей конструкции, естественно, служит двигатель. Чаще всего используется либо бензиновый, либо электрический. Конечно же, основное требование - это достаточная мощность для выполнения тех операций, которые планирует хозяин. Стоит добавить, что лидером, с точки зрения практичности, является асинхронный электрический двигатель. Этому есть несколько причин. Первая кроется в том, что вопрос с подключением к домашней электрической сети вполне решаем. Вторая причина - это отсутствие необходимости в техническом обслуживании, в котором нуждается бензиновый агрегат. Третья причина - это поддержание постоянно высоких оборотов рабочего инструмента, что гарантирует качественный разрез.
Что касается материалов, то здесь используется только металл. Это обусловлено тем, что вес самой конструкции и вес бревен достаточно большой. Однако здесь нужно знать, какой металл куда сгодится. В качестве движущейся части, то есть тележки, можно использовать толстостенную профилированную трубу прямоугольного или квадратного сечения. К примеру, опорную раму для ленточной пилорамы своими руками в домашних условиях можно собрать лишь из швеллера. Рельсы для тележки могут быть сконструированы из габаритного уголка, минимум, 450. Однако здесь можно использовать и швеллер, но с меньшими линейными характеристиками.
Инструменты, оборудование. Особенности конструирования
Что касается инструментов, то здесь все достаточно коротко. Использовать болтовые соединения или какие-либо другие нельзя. Обязательно понадобится сварочный аппарат. Следуя сборки по чертежам ленточной пилорамы своими руками, собрать готовое оборудование достаточно просто. Основная загвоздка кроется лишь в подгонке размеров до нужных параметров.
Начинается сборка с опорной рамы. По этой же части будет перемещаться и тележка с древесиной. Кроме того, к рельсам будет крепиться не только движущаяся часть, но и рама, на которой будет располагаться рабочий инструмент - пила. Основное требование, которое должно быть обязательно выполнено - это высокая надежность станины. Кроме того, ее горизонтальная плоскость должна быть достаточно ровной. Чтобы обеспечить высокую надежность устройства, монтировать его необходимо либо на фундамент, к примеру, столбчатый или же на стойках, вкопанных в почву.
Укладка рельсовых направляющих
Довольно простой моделью считается та, в которой используется колеса от легкового автомобиля. Она же является и самой распространенной среди самодельных. Размеры ленточной пилорамы будут несколько больше, чем со станиной.
Здесь важно знать, что если в качестве рельс будут использоваться уголки с размерами 50х50 мм, то укладывать их нужно, ориентируя углом ребра вверх. Это повышает жесткость всей конструкции в целом, а также способствует уменьшению износа деталей. Если в качестве направляющих рельс используется металлопрокат с полками 100 мм, то уголки устанавливаются в любом удобно положении. Здесь можно добавить, что наиболее удачным элементом для изготовления рельс считается швеллер. Кроме того, в качестве "шпал" используется профиль квадратного сечения с шириной, минимум, 25 мм. Между собой все комплектующие должны быть соединены при помощи электрической сварки.
Работа с роликами
В качестве роликовых деталей можно использовать либо компоненты, выточенные на токарном станке, либо обычные шарикоподшипниковые модели. Если работа идет по первому варианту, то в подшипнике обязательно должны быть отверстия под установку узла вращения, а также они должны пройти закалку. Если же используется второй вариант, то необходимо иметь один элемент большего размера и еще два подшипника меньшего размера, но одинаковых между собой. Естественно, необходимо помнить, что внутренний диаметр подшипников должен быть одинаковым. Вал должен быть выточен с упорным бортиком с одной стороны, а также с резьбой для крепления роликов с другой.
Пильная рама
Как сделать ленточную пилораму? Процесс сборки пильной рамы начинается с заготовки двух вертикальных направляющих элементов. Стойки, а также ползуны лучше всего изготавливать из стальных труб, зазор между которыми, должен быть минимальным из возможных. После этого можно заняться сборкой прямоугольной рамы тележки. К боковым сторонам этого элемента необходимо приварить верхние и нижние ползуны. Так как к нижней поперечине будут крепиться колеса, то она должна быть сделана из швеллера или жесткого квадратного профиля.
Сам по себе корпус пилорамы очень просто сделать, так как он представляет собой парные вертикальные стойки, а также парные горизонтальные детали, которые крепятся между собой под прямым углом. Практика показывает, что хорошая прочная станина получится, если использовать стальной квадратный профиль шириной, минимум, 50 мм. В качестве распорок также используется металлопрокат, но уже с меньше толщиной.
В нижней части рамы необходимо установить ролики. Перед этим нужно определить расстояние между упорными стенками. Оно должно соответствовать ширине рельсовых направляющих.
Здесь нужно отметить, что если для сборки используется не профильная труба, а стальной уголок, то каждое место соединения, необходимо дополнительно укрепить стальным раскосом с толщиной 2 мм. Таким образом, собрать ленточную пилораму своими руками в домашних условиях вполне реально.
Несколько советов по применению пилорамы
Правильно собрать устройство - это лишь половина дела. Довольно важно правильно использовать оборудование. Важно знать, что натягивать пильное полотно нужно очень аккуратно и правильно. Если натянуть его слишком сильно, то это значительно снизит срок службы инструмента. Кроме того, эксплуатировать пилу более двух часов подряд не стоит. По истечении этого срока работу стоит прекратить, снять пилу и подвесить для снятия остаточного напряжения.
Для ленточного полотна нужно обязательно использовать смазочные вещества. В теплое время года сойдет обычная смесь воды и моющего средства. В зимний период же придется использовать смесь из керосина и моторного масла, или дизтоплива с маслом. Пропорция для смешения 5:1.
После того, как работа была завершена, нужно ослабить натяжение пилы. Это поможет избежать усталостного явления на ее поверхности, что увеличит срок службы.
Также можно добавить, что можно сделать ленточную пилораму из бензопилы, то есть используется рабочий инструмент от этого агрегата.
fb.ru
Самодельная ленточная пилорама своими руками
Для выполнения распилочных работ, в качестве устройства которое обеспечит достижение необходимого размера древесины, используют пилорамы, но как же их можно сделать своими руками?
Их можно разделить на два вида. Это ленточные и дисковые пилорамы, в основе которых лежат использования разных режущих механизмов.
Принцип работы и устройство ленточной пилорамы
В основе конструкции ленточной пилорамы, лежит использование распиловочной ленты, которая изготавливается из инструментальной стали и расположена между двух вращающихся узлов, которые и обеспечивают движение лезвия при распиловке.
Преимущества использования для распиловки ленточных пилорам:
- при распиловке образуется малый пропил, что позволяет обеспечить высокий (до 70%) выход материала из обрабатываемой заготовки;
- возможность работы с заготовками (бревнами) больших диаметров;
- возможность удобного подбора толщины распиловки заготовки;
- гладкость и чистота среза заготовки.
Основным недостатком при использовании ленточных пилорам, является затрудненное использование при работе с недостаточно высушенными, хвойными древесинами, поскольку при распиловке на режущую поверхность происходит налипание древесной смолы. Для работы с ленточной пилорамой необходимо использовать просушенные заготовки.
Изготовление самодельной ленточной пилорамы
Предлагаемая пилорама имеет довольно презентабельный и аккуратный внешний вид. При этом, по объему выполняемых функций она ни чем не уступает профессиональным аналогам заводского производства.
Единственным, существенным отличием от заводских станков, является способ подключения к электрической сети. Здесь электричество подается обычным, бытовым способом. Путем включения привычного шнура со штекером в розетку (напряжение 220 вольт). Но этот, так сказать, недостаток ни каким образом не влияет на эффективность и качество производственного процесса.
Ленточная пила в движение приводится обычным асинхронным двигателем. Название он получил благодаря тому, что не достигает постоянной скорости. Она колеблется от 1500 до 3000 тысяч оборот в минуту. Все зависит от количества полюсов сети.
Рельсовый путь изготовлен из металлического уголка 50 миллиметров. Может показаться, что он слабенький, и может не выдержать данную конструкцию. Но это мнение обманчиво. Практика показала, что рельсы вполне уверенно выдерживают массу пилорамы в ровном положении.
Распиливаемый материал помещается на надежные металлические опоры. Всего их семь. Они очень качественно зацементированы в бетонную монолитную плиту.
Упоры выполнены в достаточно традиционном стиле. Они изготовлены из стального десятимиллимитрового прута.
Упор способен подниматься и фиксироваться на необходимой высоте. Фиксация происходит при помощи специального прижима. Предназначен упор для подъема бревна на нужный уровень.
Существует возможность переставлять упоры. Для этого на каждой упорной планке находится крепление
Рельсы крепятся к опоре. Способ крепежа позволяет свободно перемещаться по пилораме по рельсовой конструкции. И при этом не задевать распиливаемый материал, расположенный на металлическом основании.
К упору крепится железная трубка. Ее диаметр равен 2,5 сантиметрам. На трубке закреплено подвижное зажимное устройство. Работает по принципу эксцентрика. Его составные части – крюк и рычаг. Главной их функцией является поджим бревна, которое подлежит распиловке.
С целью увеличения прочности конструкция усилена несколькими профильными трубами прямоугольной формы. Трубы на мертво приварены непосредственно, к самой раме. Их размеры 40 на 20 мм.
Длина рамы равна 7,5 метрам. Ее конструкция носит разборной характер. При желании можно провести разбор на составные части (один полутарометровый кусок и два куска по 3 метра)
Предусмотрена опция регулировки пильной рамы. Этот процесс осуществим при помощи регулировочных болтов. Выполнены они в клиновидной форме.
Видео: ленточная пилорама своими руками.
metmastanki.ru
Ленточная пилорама своими руками (фото, видео, чертежи), ленточная минипилорама
(Last Updated On: 20.01.2018)
Ленточная пилорама (фото)
Ленточная пилорама — сделать которую могут многие люди — в первую очередь, предназначена для распиловки и неглубокой обработки брёвен-кругляков и как результат — получения доски (как обрезной, так и не обрезной), а также – бруса и полубруса. Ленточная пилорама своими руками – чертежи для которой проще всего найти в старых добрых советских книгах из серии «Сделай сам», также способна обеспечивать:
- Высочайшее качество обрабатываемой поверхности.
- Достаточную точность обработки (меньшее количество опилок и других отходов).
- Большая производительность в сравнении с конкурентами – рамными пилорамами.
- Повышенный КПД и соответственно энергоэффективность.
- Отсутствует необходимость установки специального фундамента в основании ленточной пилорамы.
- Точность обработки позволяет успешно работать и обрабатывать брёвна малых размеров.
Видео:
Чертежи для ленточной пилорамы своими руками:
Если Вы сделаете свой выбор в пользу ленточной пилорамы и тем более пилорамы собственными силами, то рекомендуем подобрать такую ленточную пилораму – чертежи для которой Вы полностью изучили и понимаете все процессы работы над ней, так как в противном случае Вы рискуете потерять время, деньги и свои нервы при неполучении должного результата. В общем, ленточная пилорама своими руками и чертежи для неё – вещи нераздельные. Прежде, чем приступить рассчитывать собственные чертежи для ленточной пилорамы либо использовать уже готовые, определитесь типом пилорамы, которую Вы хотите получить:
Чертеж:

- Дисковая пилорама предназначена для получения бруса и полубруса из кругляка. При этом кругляк просто обрезается с двух сторон – сверху и снизу.
- Кромкообрезная ленточная пилорама, позволяющая получить уже чистообрезной пиломатериал и тарной доски. Работа протекает в два этапа: сначала производится распиловка бревна на необрезную доску, а затем эти доски дорабатываются кромкообрезным профилем.
Материалы для ленточной пилорамы своими руками
Качественная ленточная бензиновая пилорама своими руками – чертежи для который мы уже подобрали, не может быть сделана без соответствующих качественных материалов. Для этого нам понадобятся:
- Несколько новых или в хорошем состоянии шкивов, изготавливаемых преимущественно для комбайнов. Важно, чтобы диаметр таких шкивов был не меньше 30 см и их нужно так подогнать, чтобы, будучи надетыми, они немного выступали.
- Запаситесь большим количеством полдюймовых труб и трубами, которые будут их в последствие покрывать.
- Ленточная пилорама не сможет нормально функционировать без рельс. Их лучше всего изготовить из 50 мм уголка, при этом ребро уголка должно обязательно смотреть вверх, чтобы колёса при движении не изнашивались об него.
- Для шпал Вам понадобятся профильные трубы различных размеров (полудюймовые, 2,5 на 2,5 см – последняя должна быть приварена между другими профильными трубами. Для установки регулировочных болтов необходимо сделать небольшие выступы между профильными трубами и шпалами.
- На уже установленные профильные трубки ставим мостики, служащие для установки бревна, подлежащего распиловке (при этом расстояние должно быть не менее 50 см).
- На эти же трубки устанавливаются шкивы. Вся полученная конструкция должна быть подвижной без каких-либо дополнительных усилий.
- В качестве подвижного шкива, служащего для регулировки размеров получаемого материала, традиционно используется правый, натяжение которого должно обеспечиваться пружиной.
- Заключительным этапом изготовления является сооружение рамы-каркаса, обычно для этого применяют швеллер.
Подводя итог вышесказанному, хотелось бы дать Вам совет. Ленточная пилорама своими руками и чертежи для неё, конечно, хорошая и занимательная вещь, но перед тем, как приступить к работе всегда трезво оценивайте свои силы. Возможно, будет проще купить ленточную пилу и не забивать голову.
cassuspro.ru
Ленточная пилорама своими руками
Масштабные работы с использованием деревянного бруса или доски, например, работа плотника или самостоятельное строительство дома, связаны с необходимость регулярного распила необработанных бревен. Разумеется, можно закупать готовые пиломатериалы или приобрести пилораму промышленного изготовления, но это дорого. Данная статья рассказывает (на основе реального опыта), как была изготовлена ленточная пилорама своими руками при относительно небольших расходах.

Это вполне реально сделать и вы получите надежную конструкцию, позволяющую распиливать ствол дерева на отдельные доски трехметровой и более длины. Вам понадобятся некоторые материалы (сортовой прокат и детали старых машин), а также провести слесарные, сварочные и токарные работы. Все было спланированы так, чтобы свести к минимуму необходимость в токарных работах.
Для сборки станка были взяты старые шкивы, примерно 30 см диаметром, демонтированные с комбайна «Нива». Направляющие пилорамы были изготовлены из труб двух видов: диаметром полдюйма и второй, чуть большего диаметра, такого, чтобы легко надевались на полудюймовую трубу с миллиметровым зазором.

На первом этапе нужно изготовить «рельсы». Для этого использовался стальной уголок на 5 см. Установлен он стороной вверх, что требует очень высокой точности регулировки колесиков (плохо установленные колеса быстро износятся об уголок). Иногда, для решения этой проблемы, уголок укладывают ребром вверх.

«Шпалами» этой конструкции стала профильная труба размером 25х25 мм.
Между этими профильными трубками, приварена полудюймовая труба, а не ней уже закреплены когти — крепеж для бревна. Данные когти свободно наклоняются и перемещаются, а когда нужно зафиксировать бревно, то по зажимам производится несколько ударов молотком, в результате этого происходит самозаклинивание фиксирующего механизма.

Когда делалась ленточная пилорама своими руками, то трубки профильные («шпалы») были изготовлены так, что выступают за рельсы. На выступающих частях стоят болты (M14 x 100 мм) для регулировки. Кроме этого, на профильных трубах сделаны «мостики» — перемычки, на которые кладут бревно перед обработкой. На случай заготовок маленькой длины, последние две перемычки установлены на расстоянии полуметра друг за другом.

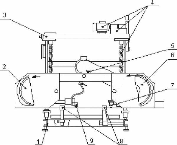
Шкивы были подточены так, что надетый ремень на несколько сантиметров выступал. Для корпусов шкивов использовались ступицы от автомобиля «Москвич», приваренные к трубками.

Все это вместе перемещается по направляющим — расположенным горизонтально полудюймовым трубам, а при необходимости, с помощью болтов, данный узел фиксируется.

При выставлении шкивов, вы можете столкнуться с неожиданными проблемами, из-за которых их придется отрезать и снова приварить. Это связанно с тем, что на практике, установка шкивов «по науке», параллельно, приводит к слету ленты в процессе работы. Так что, лучше их установить с легким наклоном, до 4 градусов, тогда лента в движении будет «сама натягиваться» на ролики.

Ведомым шкивом является правый, он натягивается, автоматически, пружиной. В данном случае была использована пружина, демонтированная с мотоцикла «КаСика». А ведущий, левый шкив фиксируется жестко, но его можно сместить, если поменяется размер ленточной пилы.
В пилораме надо использовать каленые ролики. В описываемом в статье варианте был использован роликовый узел, который проще сделать своими силами и быть уверенным в его надежности.
Этот узел состоит из трех подшипников на одной оси: двух — марки 202 и третьего, стоящего сзади, на 2-4 миллиметров больше. Вал с роликами выточен с учетом того, чтобы при изменении ширины пилы, установить шайбы между подшипниками.
Вал входит в две трубки: полудюймовая и вторая, в которую полудюймовка вставлена. В полудюймовой трубе вал находится со смещением оси, фактически, приварен к нижней стенке. Весь данный узел из вала и трубок прикреплен к направляющим таким образом, чтобы роликовый узел можно было регулировать по высоте, смещать в сторону, при различном диаметре бревен, и надежно фиксировать после регулировки. Со стороны ведомого шкива на ролик установлена капельница, подающая смазывающе-охлаждающую жидкость (СОЖ).

Сама рама, высотой полтора метра, сделана из швеллера номер 100, а для дополнительной жесткости, конструкция укреплена косынками. Блок для резки может двигаться по швеллерам посредством шпилек-винтов. А жесткую фиксацию режущего узла в пилораме обеспечивают болты с контргайкой.

Итак, как видите, такое оборудование, как ленточная пилорама своими руками может быть изготовлена даже в условиях небольшой домашней мастерской или гаража. Таким образом, плотник или дачник получит возможность прямо у себя на участке распускать на доски большие заготовки для своих нужд или даже немного зарабатывать — брать заказы на распил бревен.
Еще несколько вариантов рабочих узлов ленточной пилорамы:




Ленточная пилорама своими руками видео
http://www.youtube.com/watch?v=T96rO6aXFfI
sdelaj-sam.com
Ленточная пилорама своими руками, простой и надежный станок
Масштабные работы с использованием деревянного бруса или доски, например, работа плотника или самостоятельное строительство дома, связаны с необходимость регулярного распила необработанных бревен. Разумеется, можно закупать готовые пиломатериалы или приобрести пилораму промышленного изготовления, но это дорого. Данная статья рассказывает (на основе реального опыта), как была изготовлена ленточная пилорама своими руками при относительно небольших расходах.

Это вполне реально сделать и вы получите надежную конструкцию, позволяющую распиливать ствол дерева на отдельные доски трехметровой и более длины. Вам понадобятся некоторые материалы (сортовой прокат и детали старых машин), а также провести слесарные, сварочные и токарные работы. Все было спланированы так, чтобы свести к минимуму необходимость в токарных работах.

«Шпалами» этой конструкции стала профильная труба размером 25х25 мм.
Между этими профильными трубками, приварена полудюймовая труба, а не ней уже закреплены когти — крепеж для бревна. Данные когти свободно наклоняются и перемещаются, а когда нужно зафиксировать бревно, то по зажимам производится несколько ударов молотком, в результате этого происходит самозаклинивание фиксирующего механизма.

Когда делалась ленточная пилорама своими руками, то трубки профильные («шпалы») были изготовлены так, что выступают за рельсы. На выступающих частях стоят болты (M14 x 100 мм) для регулировки. Кроме этого, на профильных трубах сделаны «мостики» — перемычки, на которые кладут бревно перед обработкой. На случай заготовок маленькой длины, последние две перемычки установлены на расстоянии полуметра друг за другом.

Шкивы были подточены так, что надетый ремень на несколько сантиметров выступал. Для корпусов шкивов использовались ступицы от автомобиля «Москвич», приваренные к трубками.

Все это вместе перемещается по направляющим — расположенным горизонтально полудюймовым трубам, а при необходимости, с помощью болтов, данный узел фиксируется.

При выставлении шкивов, вы можете столкнуться с неожиданными проблемами, из-за которых их придется отрезать и снова приварить. Это связанно с тем, что на практике, установка шкивов «по науке», параллельно, приводит к слету ленты в процессе работы. Так что, лучше их установить с легким наклоном, до 4 градусов, тогда лента в движении будет «сама натягиваться» на ролики.

Ведомым шкивом является правый, он натягивается, автоматически, пружиной. В данном случае была использована пружина, демонтированная с мотоцикла «КаСика». А ведущий, левый шкив фиксируется жестко, но его можно сместить, если поменяется размер ленточной пилы.
В пилораме надо использовать каленые ролики. В описываемом в статье варианте был использован роликовый узел, который проще сделать своими силами и быть уверенным в его надежности.
Этот узел состоит из трех подшипников на одной оси: двух — марки 202 и третьего, стоящего сзади, на 2-4 миллиметров больше. Вал с роликами выточен с учетом того, чтобы при изменении ширины пилы, установить шайбы между подшипниками.
Вал входит в две трубки: полудюймовая и вторая, в которую полудюймовка вставлена. В полудюймовой трубе вал находится со смещением оси, фактически, приварен к нижней стенке. Весь данный узел из вала и трубок прикреплен к направляющим таким образом, чтобы роликовый узел можно было регулировать по высоте, смещать в сторону, при различном диаметре бревен, и надежно фиксировать после регулировки. Со стороны ведомого шкива на ролик установлена капельница, подающая смазывающе-охлаждающую жидкость (СОЖ).

Сама рама, высотой полтора метра, сделана из швеллера номер 100, а для дополнительной жесткости, конструкция укреплена косынками. Блок для резки может двигаться по швеллерам посредством шпилек-винтов. А жесткую фиксацию режущего узла в пилораме обеспечивают болты с контргайкой.

Итак, как видите, такое оборудование, как ленточная пилорама своими руками может быть изготовлена даже в условиях небольшой домашней мастерской или гаража. Таким образом, плотник или дачник получит возможность прямо у себя на участке распускать на доски большие заготовки для своих нужд или даже немного зарабатывать — брать заказы на распил бревен.
Еще несколько вариантов рабочих узлов ленточной пилорамы:




Ленточная пилорама своими руками видео
http://www.youtube.com/watch?v=T96rO6aXFfI
labuda.blog













