Содержание
Кодовый замок своими руками: видео, как его сделать
Обработка металла — завораживающий процесс. Еще более впечатляющим выглядит тот факт, что из самых простых предметов можно сотворить технологичные вещи. Например, обычный болт из нержавеющей стали легко становится сырьем для стильного кодового замка. Сделать кодовый замок своими руками не просто, но стоит того, поэтому, разберём процесс подробнее.
Василий Парфенов
Конечно же, для создания стильного кодового замка своими руками нужен не только болт, но и другие железки. Самые примитивные схемы таких конструкций предлагаются в любом электротехническом журнале. Изготовление требует минимальных знаний по физике и небольшого опыта по работе с микросхемами и электричеством. Но до того, как вы сядете творить, разберём принцип работы замка, и другие важные понятия и инструкции.
Виды кодовых замков
И все эти кодовые замки можно сделать своими руками! Есть некоторые на микросхеме, для которых не понадобится ключ.
Его роль на себя берут карточки, кнопки и разнообразные виды сканеров. Кодовые замки делятся на два типа.
- Механические кодовые замки. Они, в свою очередь, разделяются на врезные и накладные:
- Врезные замки при монтаже вставляются в дверное полотно, и на поверхности двери видна только замочная панель. Используются только в жилых помещениях. Могут применяться на всех видах дверей.
- Накладные при установке крепятся к дверному полотну со стороны помещения. В силу конструктивных особенностей их нельзя устанавливать на пластиковые двери.
- Электронные кодовые замки
Начнём с понятия: электронные кодовые замки — это устройства, в основе управления которыми лежит микропроцессор. Установка запорно-сигнального блока возможна в любом месте и такой кодовый замок тоже можно сделать своими руками, но это труднее, чем сделать механический. Данные замки делятся на три вида:
- Кодовый замок, который используется на воротах, в подъездах домов и в других местах массового посещения.

- Электронный кодовый замок, оборудованный магнитным носителем цифровой комбинации, в роли которого выступают брелоки, пульты, карточки и другие устройства.
- Электронный кодовый замок с сенсорным управлением – самый надежный по статистике, но и наиболее капризный. Перепад напряжения в электросети может вызвать сбой работы механизма. Ключом для такого замка становится отпечаток пальца или руки человека.
Что нужно, чтобы собрать кодовый замок своими руками
Прежде чем приступать к изучению схемы электронного кодового дверного замка, потребуется приготовить детали. Для разных моделей применяются свои элементы, но чтобы собрать кодовый замок своими руками, перечислим главные:
Специальный электрический кодовый замок с выходящими из него пучками проводов для подачи электронных импульсов;
Наружный пульт для считывания магнитного кода с носителя: при совпадении комбинации он подает сигнал на основной узел управления, и замок открывается;
Внутренний блок управления – база для всей конструкции;
ИБП — аккумуляторная батарея, принимающая на себя снабжение устройства электричеством;
Не менее пяти электромагнитных реле, у четырех из которых нормально разомкнутые контакты, а у одного – замкнутые;
Панель кодовых кнопок — вместо заводской детали вполне подойдет самоделка;
Тумблеры для открывания двери изнутри;
Геркон с нормально разомкнутыми контактами, который можно найти, разобрав свой старый телефон;
Небольшой магнит;
Несколько электропроводов;
Канифоль с припоем;
Обычный паяльник;
Отвертка-индикатор напряжения, для проверки правильности подсоединения проводов.

Самодельный кодовый замок: видео
Это видео можно смело назвать ответом на вопрос: как сделать кодовый замок своими руками, но создавалось оно, на удивление, не для этого. Благодаря тому, что оно не затянуто и показывает при этом все стадии процесса, наблюдать за преображением стали в сложный механизм очень приятно. Завораживает и работа станков металлообработки. Приятного просмотра!
youtube
Нажми и смотри
Абсолютно любой кодовый замок можно сделать своими руками: главное, хорошо разобраться в теме!
КАК СДЕЛАТЬ ЭЛЕКТРОННЫЙ КОДОВЫЙ ЗАМОК
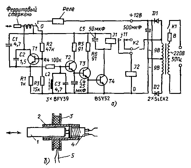
Бывает так, что случайные события принуждают и мобилизуют к новым идеям, к творчеству. А какой же из вас радиолюбитель если все повторять и покупать наготове. Вот и у меня случилось так, что долго думать не пришлось. Да и карманы теперь, не загружены лишнем грузом. Дело было зимой, сломался ключ от бельевой, прямо в замке. Попытки вытащить “огрызок” ключа, не увенчались успехом.
Решил не покупать новый замок, а переделать старый. К тому же пользуются помещением три соседа. В поисках по интернету простого кодового замка, то и дело, наталкивался на схемы основанные на микроконтроллерах или на нескольких микросхемах. Мне надо было решить проблему просто и быстро. Решил испытать схему на основе счетчика Джонсона. То, что находил в сети, не было пригодно для повторения. Схемы были “сырыми”, нерабочими и не имели временной задержки на удержание привода замка.
Электронный кодовый замок – принципиальная схема
Эта схема существует в разных вариациях, и на разных счетчиках (К561ИЕ8, К561ИЕ9, К176ИЕ8, CD4022 и тому подобные). Я доработал схему на основе CD4017 (десятичном счетчике делителе с 10 дешифрированными выходами QO…Q9). Аналогом микросхемы CD4017 (счетчик Джонсона) является К561ИЕ8, К176ИЕ8. У себя нашел микросхему с обозначением EL4017AE, которую и применил в данном устройстве.
При повторении девайса, не поленитесь, определите маркировку – они отличаются по характеристикам (рабочее напряжение). Все необходимые файлы проекта – скачайте тут.
Итак, работа схемы электронного кодового замка очень проста. При вводе правильного четырёхзначного последовательного кода на выходе микросхемы (Q4) появляется логическая единица, которая приводит к открыванию замка. При наборе неверной цифры (кнопки S5-S10), не являющаяся частью кода, схема переходит в исходное состояние, то есть обнуляется через 15 вывод микросхемы (RESET). При нажатии S1 единичное состояние на третьем выводе Q0 микросхемы поступает на вход полевого транзистора VT1 открываясь он поддает напряжение на вывод 14 (CLOCK) который переключает единичное состояние на второй вывод Q1, потом при последовательном нажатии кнопок S2, S3, S4, сигнал переходит на Q2, Q3, и в конечном итоге при вводе правильного кода с выхода Q4 сигнал открывает транзистор VT2 на короткое время, определяемое емкостью конденсатора С1, включая реле К1 который своими контактами подает напряжение на исполнительное устройство (электрозамок, защелка, или автомобильный “активатор” (актуатор)).
Есть одно но, код не может состоять из одной и той же цифры. Например: 2244, значения должны быть разными, как: 0294 и т. д. Так или иначе, возможных вариантов кода очень много, примерно один десяток тысяч, что вполне хватит для применения данного кодового замка в быту.
О деталях кодового замка
Все радиодетали дешевы и могут быть заменены на другие аналоги. Например: VT2 можно заменить на такой же npn транзистор: 2N2222, BD679, КТ815, КТ603. Для шунтирования реле лучше применить диод Шоттки. VD7 можно и не ставить, хотя лучше чтобы он был во избежание переполюсовки (падение напряжения на нем не критична, так как схема работает и при 9В). Реле любое, с меньшим током срабатывания, на 12В, с контактами рассчитанные на ток привода замка.
Теперь о конструкции замка
Схема простейшая, испытанная, работает она уже полтора года без проблем, в условиях жары и холода.
И самое главное, проста в повторении! Покупаешь радиодетали, плату можно использовать монтажную.
В качестве привода для замка, применил простой автомобильный электропривод (актуатор). В комплект идут и крепления – металлические полоски, которые нужно переделать, так как видно на фотографиях. Все зависит от того, какой замок применяется для переделки. Можно ставить готовую электрозащелку фирмы FASS LOCK Itemno:2369 (8-12V,12W). В таком случае меняется емкость конденсатора С1, так чтобы получить временную задержку таймера в 0,5-1с.
В своем случае, закрепил металлическую полоску на пластмассовую ручку замка, прикрепив ее напрямую саморезами. От нее к приводу, одевается спица (идет в комплекте с активатором), и далее сам электропривод крепится также саморезами к основанию двери. Плата с реле устанавливается на дверь и подводится проводка от кнопочной панели и питания. В качестве корпуса, я применил пластиковую крышку из под кофе, просверлив два отверстия для крепления.
Кнопочная панель для набора кода изготовлена из остатка алюминиевого профиля П-образной формы, для мебельных фасадов, покупается в любом магазине мебельной фурнитуры. Режется профиль исходя из количества кнопок (10шт.). После этого, нужно просверлить отверстия для кнопок, по диаметру немного больше чем диаметр кнопки, так чтобы кнопка с одетым на ней кембриком (трубкой) проходила в отверстие. Таким образом она будет центрирована, и как следствие свободно двигаться при нажатии, без заеданий. Это делается для того, чтобы при заливке кнопок клеем не было смешения, но об этом чуть по позже.
Заливка кнопок
Настало время закрепить кнопки на свое место в заранее просверленных отверстиях. Вставляем кембрик в кнопки и ставим их на свое место, как это видно на фото. После, нужно скрепить их каплями клея или термоклея. Но делать это надо аккуратно, так чтобы не осталось щелей, в том случае если заливать кнопки эпоксидной смолой! Потому что у меня, первая панелька, залитая эпоксидкой, осталась в качестве музейного экспоната.
Эпоксидка, очень текучая, и она просочилась в кнопки и склеила их. Вот так. Пришлось делать все по новому и на этот раз, заливал панель термоклеем. Кнопки можно предварительно клеить, так чтобы закрепить их на свои места, двухкомпонентным, мгновенным клеем применяемым мебельщиками для склеивания МДФ, продается там же где и алюминиевые профиля – в магазинах мебельной фурнитуры.
Конечно же перед заливкой надо припаять все провода к кнопкам и светодиодам так как это видно на фотографиях. Все это обеспечивает надежную, водонепроницаемую и неразборную клавиатуру, а также красивый дизайн, который применим к любым входным дверям, сейфам или гаражным воротам. Также, устройство можно применить для охранных систем.
Теперь сверлим два отверстия под шурупы для крепления панели. Также, одно или два отверстия под светодиоды (d=3mm). Один из них (зеленого свечения) справа для индикации открытия замка. Другой не задействовал, его можно подключить к питанию на постоянное свечение или через дополнительную кнопку в целях подсветки клавиатуры при ее нажатии.
Соответственно светодиод должен быть белого свечения (ультра яркий), закрепив его так чтобы световой поток был направлен на кнопки. Можно разрезать еще один кусочек профиля, и закрепить его на кнопочную панель сверху, или вообще применить готовую клавиатуру от калькулятора или от других устройств. А если изготовить лицевую панель из плексигласа, тогда будет вам решение для подсветки всей клавиатуры!
И последние, цифры можно нанести готовые, или нарисовать их самому при помощи фломастера, а после покрыть алюминиевый профиль простым скотчем. Это делается сразу же после сверления отверстий под кнопки. Проводов конечно много, относительно устройств на микроконтроллерах, но не все же имеют возможность изготовить подобные девайсы. Суть этого замка в том, что его может собрать даже человек не имеющий особых навыков в радиоэлектронике. Купил детали, собрал на выходных, навесил и подключил. Все. В никаких наладках, это схема не нуждается. И еще, код можно менять в любой момент.
Все провода от клавиатуры, подключаются внутри корпуса кодового замка. Не забываем каждый провод промаркировать. Я использовал самоклейки для ценников.
Хочу заметить, что за прошедшее время, на кнопках нет явных следов истирания! Скорее всего, за счет пластмассы черного цвета. Используются они ежедневно. Но, протирать и менять код, время от время, не мешает.
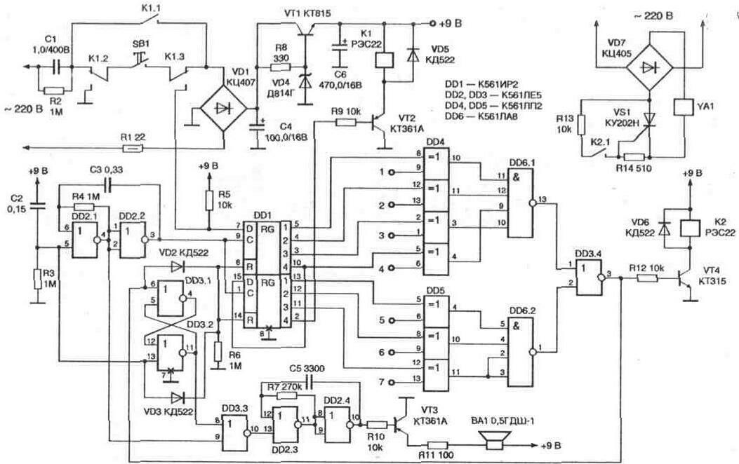
Блок питания устройства
Питание устройства осуществляется, за счет бесперебойного блока, фирмы Dantom. Он имеет встроенный гелиевый аккумулятор на 12В/7А. Вы можете собрать такой же, схема очень проста, она выдает постоянный небольшой ток зарядки (несколько миллиампер – при полностью заряженном аккумуляторе, и 70 – 100 при разряженном). Этого хватит на питание нескольких электрозамков и электрозащелок. Или изготовьте блок по меньше, если у вас всего одна дверь с кодовым замком. Скажем на: L7812CV, LM317, КР142ЕН8Б.
Так же, систему можно запитать от импульсных блоков питания.
Схема принципиальная БП РИП
Печатная плата БП РИП
В предложенной схеме резервного источника питания (РИП), применен влагозащитный трансформатор, но можно использовать и любой другой на 20-40 Ватт, с выходным напряжением в 15-18 Вольт. Если под нагрузкой один лишь автомобильный актуатор, то трансформатор подойдет и менее мощный. Для нескольких электрозамков, электролитический конденсатор С1 должен быть с большей емкостью, чем та что указана на схеме – для большего запаса энергии при срабатывании и соответственно, меньшего падения напряжения на нагрузке. Конденсатор С2 – 0,1-0,33mF, С3 – 0,1-0,15mF. Радиатор для IC1 – побольше, примерно на 100-150см2, так как в корпусе с аккумулятором, лишний нагрев не нужен! Выходной ток нагрузки для L7815CV составляет 1,5А.
Тем более если используется пластмассовый бокс в качестве корпуса, незабываем про вентиляционные отверстия. Диод D8 и предохранитель FS2, служат защитой от короткого замыкания.
В охранных РИП-ах стоит кнопка (tamper) против несанкционированного взлома прибора – нам она не понадобится. На плате, для подключения проводов лучше воспользоваться пайкой вместо клемм, как наиболее надежном способом крепления. Также, уместно подстраховаться и вывести запасную проводку питания вне помещения, на непредвиденный случай (в жизни разное бывает).
Видео работы самодельного замка
Это все, надеюсь, что оказался вам полезным. Автор: Флорин Матиенку (flomaster).
Форум по охранным устройствам
Как взломать основную комбинацию замков за 10 шагов
В основе искусства взлома замков лежит печально известный кодовый замок, устройство, невосприимчивое к нашим натяжным ключам, отмычкам и стандартным методам взлома замков.
Несмотря на то, что существует множество других способов обойти кодовый замок, в том числе использование прокладки, болторезов, слесарей или даже паяльной лампы, ни один из них не является столь же элегантным и неразрушающим, как взлом комбинации старой школы.
Стандартный 40-значный главный замок имеет 64 000 комбинаций , на взлом которого у среднего человека ушло бы около 180 часов с использованием случайных комбинаций.
Это руководство поможет вам сократить это абсурдное число до 80 комбинаций и расскажет, как взломать мастер-замок за 10 простых шагов.
Независимо от того, хотите ли вы открыть замок шкафчика или хотите освоить новый навык, взламывание комбинаций — отличный талант!
Быстрая навигация
- Определите свою модель главного замка
- Снять замок
- Натяните скобу
- Поиск первой точки преткновения
- Поиск второй точки преткновения
- Поиск оставшихся точек преткновения
- Взлом третьего числа
- Взлом первого номера
- Взлом второго числа
- Взлом комбинации
Вы также можете прочитать:
- 9 лучших замков для быстрого обучения взлому
- Абсолютно лучший набор отмычек для начинающих — набор Ghost
1.
Определите свою модель главного замка
Прежде чем мы потратим время на изучение того, как взломать кодовый замок, важно сначала определить, будет ли этот метод взлома работать с вашей моделью замка.
Для взлома некоторых главных замков требуются дополнительные или другие процедуры, поскольку они используют разные алгоритмы.
Номер модели вашего Master Lock указан на задней стороне замка. Если случайно номер модели вашего замка начинается с 800 или 908, этот метод комбинированного взлома может не работать.
Тем не менее, многим людям удалось взломать главные замки модели 800XXX с помощью этого метода, но это не гарантируется.
2. Снимите замок
Первым шагом при взломе любого типа замка является установка стандартной отправной точки.
В случае Master Lock мы просто очищаем замок. Это достигается поворотом циферблата не менее трех раз за нулевую отметку по часовой стрелке (вправо). Кроме того, обязательно остановите вращение на нулевой отметке.
3. Натяните скобу
Теперь, когда замок снят и установлен на ноль, наша первая цель, которая покажется запоздалой, — найти третье число в нашей комбинации.
Начните с сильного вытягивания дужки замка. Отличный способ сделать это — взяться за замок одной рукой, одновременно нажимая пальцем на дужку вверх.
Удерживая давление вверх на дужку, начните медленно вращать циферблат против часовой стрелки (влево).
Учтите, что может быть вероятность того, что циферблат застрянет на нулевой отметке при приложении силы к дужке и не позволит вам ее повернуть.
В этом случае ослабьте усилие на дужке и поверните циферблат на одну или две цифры против часовой стрелки.
Снова надавите на дужку вверх и снова попытайтесь повернуть циферблат против часовой стрелки.
4. Поиск первой точки преткновения
Вращая циферблат замка против часовой стрелки, вы вскоре дойдете до точки, где он заклинит и больше не позволит вам свободно вращать его.
Циферблат застрянет между двумя цифрами. Вы должны быть в состоянии слегка повернуть циферблат по часовой стрелке (вправо) и обратно, все еще удерживая давление на дужку.
Это наш первый «прилипающий диапазон ». Запишите оба остановочных пункта в этой колее.
Например, точка остановки против часовой стрелки (слева) может быть 8, а точка остановки по часовой стрелке (справа) может быть 6. В этом примере наш диапазон прилипания будет от 6 до 8.
Затем мы должны найти « мертвую точку. ». Это можно сделать, просто взяв среднее число нашего мертвого диапазона.
В нашем примере это будет 7.
Имейте в виду, находя свой диапазон прилипания, что циферблат также может останавливаться между цифрами или, то есть, на полпути.
Примером этого может быть поворот циферблата против часовой стрелки, чтобы найти точку остановки, и вместо этого он останавливается между 8 и 9.
Ваша точка остановки против часовой стрелки тогда будет 8,5.
Кроме того, когда вы вращаете циферблат по часовой стрелке, он останавливается между 6 и 7, что дает вам точку остановки 6,5.
Результирующий предельный диапазон будет составлять от 6,5 до 8,5, а наша мертвая точка будет равна 7,5.
5. Поиск второй мертвой точки
Теперь, когда мы нашли первую точку преткновения, мы можем перейти ко второй точке преткновения.
Ослабьте натяжение скобы вверх и вращайте циферблат против часовой стрелки до тех пор, пока вы не пройдете максимальное число вашего последнего диапазона прилипания.
Например, если ваш предыдущий диапазон прилипания был от 6 до 8, поверните циферблат на 9.
Затем снова натяните скобу вверх и, как и раньше, поверните циферблат против часовой стрелки, пока он снова не заклинит.
Обратите внимание на эту точку остановки против часовой стрелки и, сохраняя натяжение, поверните циферблат по часовой стрелке, пока он не остановится еще раз, что даст вам точку остановки по часовой стрелке.
Еще раз запишите мертвый диапазон и определите среднее число, чтобы найти мертвую точку.
6. Поиск оставшихся точек преткновения
Теперь у нас есть 2 из 12 точек преткновения, которые нам нужны, чтобы взломать третье число нашей комбинации.
Повторяйте следующие шаги, вращая циферблат против часовой стрелки и находя мертвые точки, пока у вас не будет записано 12 чисел .
Ниже приведен пример диапазонов прилипания и чисел прилипания, которые я собрал, взламывая комбинацию моего Master Lock.
7. Взлом третьего числа
Если вы посмотрите на точки преткновения, которые вы записали, вы можете заметить, что есть семь дробей и пять целых чисел. Вычеркните все дроби, оставив только пять целых чисел. В нашем случае осталось 0 , 10 , 20 , 27 и 30 .
Если вы правильно выполнили описанные выше шаги, то заметите, что все ваши оставшиеся номера заканчиваются на одну и ту же цифру, кроме одного.
Этот чудак – наш счастливчик, так как это третье число в нашей комбинации.
Например, мои числа 0, 10, 20, 27, и 30 . Все они заканчиваются на 0, за исключением 27. Таким образом, третье число моей комбинации 27.
8. Нахождение первого числа комбинации
Теперь, когда мы взломали третье число нашей комбинации, мы можем определить десять возможностей относительно первого числа нашей комбинации.
Первым делом нужно взять только что найденное третье число нашей комбинации и разделить его на четыре. В моем случае 27/4.
Из этого нового результирующего числа нас интересует только остаток, то есть десятичная точка. Запишите это число. В моем случае я получил 6 , что дает мой остаток 3 .
Также обратите внимание, что с этими блокировками остаток всегда будет равен 0, 1, 2 или 3.
Теперь, когда у нас есть остаток, пришло время найти десять возможных вариантов для первого числа в нашей комбинации.
Начните с прибавления четырех к остатку и запишите.
Затем снова прибавьте четыре к этому результату и продолжайте добавлять четыре к каждому полученному числу, пока не получите в общей сложности десять чисел. При этом ваше десятое и самое большое число должно быть числом, доступным на циферблате.
Одно из этих десяти полученных чисел является первым числом в нашей комбинации. В моем случае остаток был 3, и поскольку я постоянно добавляю четыре, я получаю числа 3. 7, 11, 15, 19, 23, 27, 31, 35, 39 .
Это мои десять вариантов, один из которых — первое число в моей комбинации.
Имейте в виду, если ваш замок относится к моделям 800XXX, этот набор цифр может быть вторым номером в вашей комбинации, а не первым номером.
9. Нахождение второго числа комбинации
Чтобы найти второе число в нашей комбинации, нам снова нужно посмотреть на остаток, который мы использовали на предыдущем шаге.
Если остаток равен 0 или 1, добавьте к нему два.
Если у вас остаток был 2 или 3, то от него подлежащие два. Возьмите это новое число и прибавьте к нему четыре.
Как и в предыдущем шаге, продолжайте добавлять четыре к результирующему, пока у вас снова не будет десяти результирующих чисел.
В моем случае остаток был равен 3, поэтому я бы вычел 2, получив новое число 1.
Затем я постоянно добавляю четыре к моему новому числу, получая следующие 1, 5, 9, 13, 17, 21, 25, 29, 33, 37 .
Мы можем немного сократить эти десять чисел, удалив любое число в пределах двух из трех наших комбинационных чисел.
В этом случае, поскольку мой третий номер был 27 , я могу удалить 25 и 29 , оставив мне 1, 5, 9, 13, 17, 21, 33, 37.
Это мои восемь возможностей, одна из которых является вторым числом в моей комбинации.
Опять же, если ваш замок относится к моделям 800XXX, этот набор цифр может быть для первой цифры в вашей комбинации, а не для второй цифры.
10. Взлом комбинации
Теперь у нас есть все возможные первое и второе числа для нашей комбинации и наверняка есть наше третье число.
Мы взяли 64 000 возможных комбинаций и уменьшили их до 80 возможных комбинаций.
Следующий шаг — просто перебрать все возможные комбинации, пока одна из них не сработает.
Давайте начнем с ввода нашей первой возможной комбинации. В моем случае это будет 3 — 1 — 27.
Во-первых, вы должны снова снять блокировку, повернув циферблат не менее трех раз по часовой стрелке. Затем, продолжая вращать циферблат по часовой стрелке, введите свой первый номер.
Мой номер 3.
Затем поверните циферблат против часовой стрелки после второго числа и продолжайте вращать его, пока снова не остановитесь на этом числе.
У меня 1, поэтому я прохожу мимо 1 и продолжаю вращаться, пока снова не приземлюсь на 1.
Наконец, поверните циферблат еще раз по часовой стрелке до вашего третьего числа.
В моем случае это было 27.
Очень вероятно, что ваша первая комбинация не сработает. Но продолжайте очищать замок и вводить все возможные комбинации, пока не найдете эти волшебные числа.
Моя комбинация оказалась 19 — 5 — 27 , и мне понадобилось примерно 15 минут, чтобы взломать ее.
Теперь вы знаете, как взломать главный замок!
Удачного выбора!
Как открыть кодовый замок из 4 цифр за 6 простых шагов
Revolar поддерживается ридерами. Когда вы покупаете по ссылкам на нашем сайте, мы можем получать партнерскую комиссию. Узнать больше
Хотите знать, как открыть кодовый замок из 4 цифр? Найдите свой номер комбинации. Установите первое число, вращая его, пока оно не окажется в центре колеса.
Повторите этот шаг для второго, третьего и четвертого чисел вашей комбинации. Когда вы закончите, потяните за стержень в верхней части замка, чтобы открыть его.
Некоторые люди обращаются за профессиональной помощью, чтобы разблокировать кодовый замок с 4 цифрами. Однако вас не должно смущать, потому что это руководство поможет вам открыть 4-значный кодовый замок.
СОДЕРЖАНИЕ
- Что вам нужно
- 1. Текущая комбинация номера
- 2. Перчатки (необязательно)
- 3. Ощечики (необязательно)
- Как открыть 4 -й номерной комбинацию. Шаг 1. Найдите свою комбинацию номер
- Шаг 2. Задайте первую цифру комбинации
- Шаг 3. Задайте вторую цифру комбинации
- Шаг 4. Задайте третью цифру комбинации
- Шаг 5. Задайте четвертую цифру комбинации
- Шаг 6. Потяните дужку, чтобы разблокировать
Что вам нужно
Предметы, которые вам понадобятся в этом руководстве, легко найти.
Вы можете найти их у себя дома или одолжить у соседа. Вы можете выполнить это руководство без дополнительных инструментов. Однако наличие всех предметов поможет вам выполнить шаги быстрее и проще.
1. Текущий номер комбинации
Чтобы открыть 4-значный мастер-замок, вам необходимо знать текущий номер комбинации. Это случайный код, включенный в комплект при первой покупке замка. Очень важно защитить ваш кодовый замок, так как взломать кодовый замок с 4 цифрами будет сложно и долго.
Если вы забыли свою комбинацию, проверьте, можно ли сбросить ваш замок, посмотрев серийный номер. К сожалению, производитель не может предоставить вам код, если это замок без серийного номера.
Некоторые из методов, которые вы можете использовать, чтобы открыть замок, включают взлом кода, приложение давления к замку и прокладку с помощью высококачественной алюминиевой банки из-под газировки.
Если у вашего замка есть серийный номер, вы можете связаться с производителем.
Они попросят ваш серийный номер, и вам нужно будет заполнить форму потерянной комбинации. Кроме того, вы также должны предоставить им нотариуса, чтобы вы могли доказать, что являетесь владельцем замка. Вы получите свой номер комбинации через 4-6 недель.
2. Перчатки (дополнительно)
Если ваши руки всегда мокрые и потные, вы можете надеть пару перчаток. Кодовый замок чувствителен к цифрам. Одна ошибка потребует, чтобы вы снова установили всю комбинацию цифр.
Хорошим вариантом будет пара без латекса. Безлатексные перчатки — это перчатки, изготовленные не из латекса. Люди с аллергией на натуральный латексный каучук используют этот вид перчаток в качестве альтернативы. Выбирая нелатексную перчатку, убедитесь, что она не слишком велика и не рвется, когда вы вытаскиваете ее из рук.
Другой вариант — пара неопудренных перчаток. Он сделан из латекса, однако он прошел процесс, называемый хлорированием, который удаляет остатки порошка и в то же время устраняет белки латекса.
Единственная проблема с этой перчаткой заключается в том, что ее труднее снять из-за ее твердой текстуры.
3. Очки (дополнительно)
Вам могут понадобиться очки, если у вас плохое зрение или цифры на кодовом замке слишком малы, чтобы их можно было разглядеть. Вы можете использовать свои очки для чтения, если они у вас есть, чтобы упростить ввод чисел.
Пара регулируемых очков будет очень кстати, если у вас нет обычных очков. Это поможет вам сосредоточиться, когда вы смотрите и читаете числа. Вы также можете настроить необходимое фокусное расстояние.
Как открыть 4-значный кодовый замок
Шаг 1. Найдите свой кодовый номер
Ваш 4-значный кодовый номер играет важную роль при открытии кодового замка. Без него вам придется выполнять более сложные методы взлома замка. Убедитесь, что вы храните его в надежном месте.
Если у вас есть Master Lock, вы можете сохранить номер своей комбинации на веб-сайте производителя для безопасного хранения и использования в экстренных случаях.
Не забудьте надеть перчатки без латекса или неопудренные, если у вас потные или влажные руки, чтобы сэкономить время и силы.
Шаг 2. Установите первую цифру комбинации
Для установки первой цифры необходимо повернуть колесо, расположенное справа от замка. Вы можете перемещать его по часовой стрелке или против часовой стрелки, пока не найдете первую цифру комбинации вашего замка. Вы должны убедиться, что число находится в средней части колеса.
Шаг 3. Установите вторую цифру комбинации
Для получения второй цифры прокрутите колесо рядом с первой цифрой. Вы также можете перемещать его по часовой стрелке или против часовой стрелки, в зависимости от ваших предпочтений. Продолжайте двигаться, пока не найдете вторую цифру вашей комбинации. Проверьте, точно ли цифра совпадает с первой цифрой.
Шаг 4. Задайте третью цифру комбинации
Для установки третьей цифры необходимо повторить процесс.
Перемещайте колесо рядом со второй цифрой по часовой стрелке или против часовой стрелки, пока не найдете третью цифру. Чтобы избежать ошибок, убедитесь, что третья цифра совпадает с первой и второй цифрой.
Шаг 5. Задайте четвертую цифру комбинации
Последняя цифра расположена внизу замка. Теперь вращайте колесо по часовой стрелке или против часовой стрелки, пока не найдете четвертую цифру вашего номера комбинации. Прежде чем перейти к следующему шагу, проверьте, идеально ли выровнены цифры в средней части замка.
Шаг 6. Потяните дужку, чтобы разблокировать
После того, как вы закончите установку цифр кодового замка, крепко возьмитесь за основание замка и потяните дужку. Это откроет замок. Однако, если он не открывается, проверьте правильность комбинации. После проверки повторите процедуру.
Заключение
Довольны ли вы нашей инструкцией по открытию 4-значного кодового замка? Вам не нужно путаться или просить кого-то открыть кодовый замок с 4 цифрами.

