Содержание
видео-инструкция как сделать своими руками, особенности изделий для вытяжных, печных дымоходов, чертежи, цена, фото
Рубрика: ТрубыАвтор: Антон Новиков
Правильная работа дымохода способствует качественному функционированию отопительной системы и защищает здоровье жильцов от отравления продуктами сгорания. Обеспечить её позволяют дефлекторы. О них и пойдёт речь в данной статье.
Фото металлического дефлектора на кирпичной трубе
Общие положения
Дефлекторы на дымовые трубы имеют схожую конфигурацию
Само слово «дефлектор» пришло к нам с латыни и означает «отклонять». Именно это и является основной функцией рассматриваемого прибора – изменять направление ветра в том случае, если часть дыма попадает обратно в жилое помещение, а создаваемая тяга не способна поддерживать пламя в достаточной мере.
Причины некачественной работы дымохода
Давайте рассмотрим более подробно, почему так происходит:
- Наличие сильного порывистого ветра, который способен задувать часть дыма снова в трубу, создавая при этом обратное давление.

- Ошибочная высота дымохода и неправильное расположение относительно конька крыши.
- Слишком маленький размер сечения вытяжки, неспособный создать поток воздуха нужной силы.
Совет: для расчёта высоты и ширины трубы рекомендуется привлекать опытного специалиста.
Это позволит вам исключить часть возникающих в дальнейшем проблем.
Размещение дымохода своими руками должно соответствовать всем необходимым нормам и правилам
Если имеет место выполнение хоть одного из перечисленных условий, то необходимо установить дефлектор на вытяжную трубу для коррекции воздушных потоков. (См. также статью Загородная канализация: особенности.)
Функции, выполняемые дефлектором
- Создание зоны низкого давления и усиление тяги путём отклонения ветряных потоков в более благоприятную сторону.
- Увеличение коэффициента полезного действия дымохода до 20%.
- Защита от проникновения в трубу атмосферных осадков и другого возможного мусора.

Совет: использование труб с двумя-четырьмя оборотами позволит максимально увеличить тягу дымоотвода.
Места использования
- Общие или индивидуальные естественные вентиляции и дымоходы.
Схема коллективного дымохода
- Каналы вывода продуктов сгорания газов.
Оптимальный дефлектор для печной трубы
- Мусоропроводные шахты.
Устройство дефлектора
Цена данного устройства относительно не высокая, что видно из его строения. (См. также статью Устройство ливневой канализации: особенности.)
Структура
Чертеж дефлектора на трубу дымохода на примере конструкции Вольперта
| Элемент | Описание |
| Нижний цилиндр |
|
| Диффузор |
|
| Зонтик |
|
Совет: дефлектор на печную трубу своими руками рекомендуется снабжать дополнительно искрогасителем в целях соблюдения пожарной безопасности.
Дефлектор с искрогасителем
Принцип работы
Правильно сконструированный прибор в результате имеет нижнее и верхнее подсасывающие кольца, функционирующие следующим образом:
| Направление ветра | Описание процесса |
| Сверху вниз | Продукты сгорания подсасываются нижним кольцом |
| Снизу вверх | Продукты сгорания подсасываются верхним кольцом |
| Горизонтальное | Часть потоков огибает диффузор, а часть подсасывается обоими кольцами |
В результате любые погодные условия работают только на усиление тяги из дымохода. Единственным не самым удачным направлением движения воздушных масс является нижнее, так как при этом выходящие из дымохода газы ударяются в зонтик и частично возвращаются обратно. С целью предотвращения этого устанавливается дополнительно обратный конус, который рассекает поток продуктов сгорания, направляя наружу.
Монтаж
Давайте рассмотрим, как установить дефлектор своими руками для круглой трубы:
- Фиксируем на нижнем цилиндре стойки.
Обычно для этого применяются болты М6. - На стойки, используя хомут, монтируем диффузор расширяющейся стороной вниз.
- На фальцах производим сборку обратного конуса.
- Сверху кронштейнами крепим зонтик.
Иногда приходится устанавливать круглую конструкцию на квадратную трубу. В таком случае следует применить переходный патрубок.
Пример использования переходного патрубка
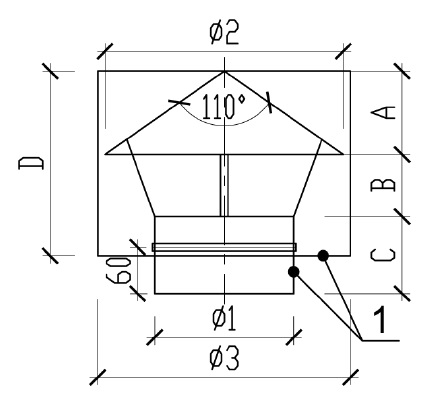
Перед тем, как сделать дефлектор, ознакомьтесь со следующей таблицей соотношений размеров дымохода и его элементов, которые требуется соблюдать неукоснительно:
| D, см | W, см | H, см |
| 12 | 24 | 14,4 |
| 14 | 28 | 16,8 |
| 20 | 40 | 24 |
| 40 | 80 | 48 |
| 50 | 100 | 60 |
Обозначение букв указано на рисунке:
Соотношение размеров
Заключение
Если дымоход собран недостаточно качественно, на него увеличилась нагрузка или наблюдается постоянная ветреность вокруг здания, то это может привести к попаданию продуктов горения обратно в дом.
Для того чтобы это предотвратить, необходимо установить дефлектор. Он позволит перенаправить силу ветра на усиление тяги вентиляционного канала.
Видео в этой статье предоставит вашему вниманию на изучение дополнительные материалы, имеющие непосредственное отношение к рассмотренной теме.Позаботьтесь о качественном и полноценном удалении угарного газа из помещения во избежание проблем со здоровьем.
Дефлектор для дымоходной трубы своими руками – как сделать такой колпак?
Наверняка многие видели над трубой дымохода непонятный колпак, но мало кому известно для чего и с какой целью его там установили. Такое устройство, завершающее композицию дымоходной системы, называется дефлектором – отражателем, который предназначается для защиты трубы отвода отработанных газов, продуктов горения от дождя, ветра и других атмосферных явлений, а также увеличения тяги.
- Что представляет собой и для чего нужен дефлектор?
- Наиболее популярные разновидности дефлекторов
- Основные особенности флюгерного дефлектора
- Самостоятельное изготовление дефлектора
- Рекомендации специалистов
Также такое защитной устройство называют дымником, а аналоги имеющее причудливую форму – флюгаркой. Дефлекторы начали устанавливать на верхушке дымохода ещё в старину, да и сегодня этот архитектурный элемент продолжает украшать крыши домов. Естественно, помимо роли декоративного элемента на дымник возложена практическая функция – усиление движения воздушных потоков в трубе.
Что представляет собой и для чего нужен дефлектор?
Вне зависимости от того, какая отопительная конструкция установлена в доме, она обязательно оснащается системой отвода отработанных газов горения. Благодаря дымоходу опасные для здоровья человека газы выводятся наружу помещения.
Хочется отметить, что даже если дымоход будет установлен с соблюдением всех технологических правил, это не означает, что он будет нормально работать.
Особенно это проявляется во время различных атмосферных явлений, которые оказывают давление на газы в дымоходной трубе. Именно для улучшения работы, системы отвода газов от продуктов горения и устанавливается дефлектор.
Благодаря дымнику, который препятствует попаданию в дымоход воздушных потоков от ветра, происходит повышение тяги. Ветер, огибающий, препятствие в виде дефлектора создаёт вокруг дымохода зону с низким давлением, что также способствует усилению тяги. При этом вне зависимости от конструктивных особенностей такого рода устройств, все они предназначены для создания зоны низкого давления и предотвращения попадания осадков в дымоходную трубу.
Потоки воздуха, соприкасаясь с дефлектором, огибают конструкцию и двигаются с большей скоростью, образуя разряженную область. Физики называют такое явление – закон Бернулли. Благодаря такой особенности в значительной мере возрастает тяга в дымоходе, и отопительные приборы работают максимально эффективно.
Исходя из проведённых исследований использования дефлектора, было доказано, что КПД системы отвода отработанных газов от продуктов горения увеличивается на 20 %.
Также дымник не допускает попадания в дымоходную трубу грязи и мусора, переносимого, потоками ветра.
Наиболее популярные разновидности дефлекторов
Как многие уже могли заметить, что на дымоходах устанавливают различные по виду дымники. Современные дефлекторы изготавливаются с различными по форме навершиями:
- плоской формы как на фото;
- напоминающие полукруг;
- снабжённые крышкой;
- с двускатной конструкцией крышки.
Хочется отметить, что в последнее время на стандартных новостройках устанавливают полукруглую конструкцию дефлектора, по форме напоминающую колпак как на фото. В свою очередь, щипцовую конструкцию дымника чаще всего устанавливают на верхушке дымохода для защиты от атмосферных осадков.
Для изготовления дефлектора чаще всего используют листовую жесть и только в некоторых случаях медь. Но всё большей популярностью начинают пользоваться конструкции, вскрытые, полимерами или жаростойкой краской.
Также такие защитные устройства могут отличаться по своей конструкции. При этом наиболее востребованными являются следующие:
- шаровидная вращающаяся конструкция – дефлектор ЦАГИ;
- открытая система «Астат»;
- дымник Григоровича;
- дефлектор «Воллер»;
- конструкция в форме звезды – «Шенар».
Наиболее популярным на отечественном рынке является дымник ЦАГИ, который состоит из следующих конструктивных элементов:
- входной патрубок;
- каркасная конструкция;
- диффузорное устройство;
- зонт;
- крепёжные кронштейны.
Хочется отметить, что каждый желающий может купить готовый дымник в магазине или изготовить его своими руками, что достаточно просто, если следовать определённым правилам.
Основные особенности флюгерного дефлектора
Такое устройство состоит из вращающегося корпуса, соединённого с подшипниковой системой. На таком дефлекторе закрепляются специальные изогнутые элементы, а сам флюгер располагается сверху, что даёт возможность конструкции держаться по ветру.
Кольцо с вмонтированным в нём подшипниковым механизмом с помощью болтов крепится на срез дымоходной трубы. Проходящие между козырьками воздушные потоки усиливаются, создавая участок низкого давления, благодаря чему увеличивается эффективность отвода отработанных газов от продуктов горения. Такое устройство, конструктивно очень простое, и подходит для любых типов дымоходов.
Самостоятельное изготовление дефлектора
Первым делом нужно определиться с материалом для изготовления дефлектора. Для дымника подойдёт оцинковка или нержавейка. Подойдут и медные листы, но такая конструкция получится неоправданно дорогой. Выбор таких материалов в первую очередь обусловлен тем, что они не подвержены коррозии от внешних атмосферных факторов.
Чтобы сделать защитный колпак для дымохода своими руками понадобится наличие определённого инструмента:
- резиновый или деревянный молоток;
- гибы для жести;
- строительный молоток;
- бруски;
- обычные зажимы;
- ножницы для резки металла;
- уголок из металла.

Для упрощения сборочного процесса дефлектора для дымохода все детали срезают по углам с обеих сторон. При этом дымник имеет конкретные параметры размеров, которым нужно придерживаться. Так, по высоте дефлектор составляет 1,6 часть от диаметра дымохода по внутренней части, а ширина – 1,9 соответственно. При этом сборка такого устройства состоит из определённых этапов.
- На жёсткой бумаге расчерчивают основные детали в развёрнутом виде.
- Готовые эскизы переносятся на листы металла и по ним вырезаются заготовки.
- Все элементы соединяются между собой при помощи крепежа или сварки.
- Из стального уголка изготавливаются кронштейны для крепления дефлектора.
- Выполняется окончательная сборка колпака.
Для установки дефлектора в первую очередь монтируют цилиндр, на котором с помощью хомутов крепится диффузор и колпак, по форме напоминающий обратный конус. Благодаря такому простейшему элементу тяга в дымоходе будет постоянно стабильной при любых атмосферных явлениях.
Рекомендации специалистов
По рекомендациям печников дефлектор является обязательным элементом дымоходной трубы. При изготовлении дымника своими руками очень важно придерживаться рекомендованным пропорциям. Если этими параметрами пренебречь, то добиться значительного увеличения тяги не удастся.
При самостоятельном изготовлении металлических заготовок лучше использовать заранее подготовленные эскизы на картоне. Приложив их к металлическому листу, останется просто обвести их маркером и вырезать ножницами по металлу.
Установка конуса обратной формы непосредственно под колпаком также является обязательным требованием, предъявляемым к конструкции дефлектора. Благодаря такому элементу тяга в дымоходе будет стабильной как при сильном ветре, так и при выпадении любых осадков. Если в качестве дымохода используется труба с максимально допустимым диаметром, то её дополнительно закрепляют с помощью проволочных растяжек.
Варианты дефлекторов
Изоляция труб и воздуховодов | Продукты для защиты от атмосферных воздействий Frost King®
Изоляция труб и воздуховодов | Продукты для защиты от атмосферных воздействий Frost King®
Этот сайт использует файлы cookie, чтобы предложить вам лучший просмотр. Закрывая этот баннер, прокручивая эту страницу или нажимая на любой из ее элементов, вы разрешаете нам использовать файлы cookie.
Фильтр по продуктам
Все продуктыОблицовкаОконные комплектыИзоляция труб и воздуховодовТепловые кабели и кровельные кабелиГаражные аксессуарыАксессуары для кондиционеровАксессуары для водосточных желобовОконные сетки и аксессуарыДверные комплектыДверные щетки/Дверные днища/Дверные порогиТряпки и пластиковая пленкаОблицовка ковровПокрасочные материалы
Изоляция труб и воздуховодов
Самоуплотняющиеся тройники и отводы
Больше никаких сложных операций по резке не требуется
Найти магазин
Узнать больше
Трубчатая пенопластовая изоляция для труб
Размеры подходят для всех размеров труб.
Найти магазин
Узнать больше
Резиновая трубчатая изоляция для труб
Резиновая трубчатая изоляция для труб предназначена для надевания на водопроводные трубы перед окончательной установкой.
Найти магазин
Узнать больше
Предварительно разрезанная трубчатая крышка из стекловолокна с самоуплотняющимися кожухами
Высокотемпературная самоуплотняющаяся трубка из стекловолокна
Найти магазин
Узнать больше всегда под рукой, когда вам нужна эффективная изоляция или амортизация. Его можно использовать на водонагревателях, каналах отопления и кондиционирования воздуха, капотах и багажниках автомобилей.
Найти магазин
Подробнее
Крышка вытяжного вентилятора
Четыре встроенных постоянных магнита мгновенно и надежно фиксируются на лицевой панели.
Найти магазин
Узнать больше
Резиновая изоляционная лента для труб
Предотвращает выделение пота и капель на холодных трубах.
Найти магазин
Узнать больше
Поролоновый чехол для смесителя
Защитите свои смесители от ледяного ветра и холода.
Найти магазин
Узнать больше
Защитная крышка крана с пластиковым покрытием
Внешний корпус из твердого пластика и внутреннее покрытие из пенопласта обеспечивают долговременную изоляцию смесителей для наружного применения.
Найти магазин
Подробнее
новый
Мягкий чехол для смесителя
Мягкий чехол для смесителя с мягкой подкладкой изолирует и защищает обычные и напольные смесители.
Найти магазин
Узнать больше
Дефлектор тепла и воздуха
Сделайте распределение воздуха по всему дому более эффективным
Найти магазин
Узнать больше
Дефлектор плинтуса
Предназначен для более эффективного распределения воздуха из центральной системы принудительной вентиляции и повышения комфорта в вашем доме в любое время года.
Найти магазин
Узнать больше
Магнитные крышки вентиляционных отверстий
Гибкий магнитный лист закрывает металлические вентиляционные отверстия, повышая эффективность нагрева или охлаждения. Его можно раскрасить, нанести по трафарету или оклеить обоями в соответствии с вашим декором.
Найти магазин
Узнать больше
Основание водонагревателя
Изготовлено из прочного пенополистирола. Поддерживает водонагреватель и защищает его от повреждений.
Найти магазин
Узнать больше
Универсальный утеплитель из натурального хлопка «Без зуда»
Перчатки и лицевая маска не требуются. Все естественно и безопасно для установки.
Найти магазин
Узнать больше
Изоляционное покрывало для водонагревателя
Изоляционное покрывало из стекловолокна на виниловой основе предназначено для газовых, масляных или электрических водонагревателей объемом до 60 галлонов.
Найти магазин
Узнать больше
Изоляция труб из пенопласта и фольги
Простой одношаговый способ изоляции как горячих, так и холодных труб.
Найти магазин
Узнать больше
Изоляция воздуховодов из пенопласта и фольги
Сочетает свойства двух популярных изоляционных материалов в одном удобном рулоне.
Найти магазин
Узнать больше
Наборы для изоляции труб из стекловолокна
Простой и эффективный способ изоляции труб любого диаметра.
Найти магазин
Узнать больше
Лента Mortite No Drip Tape
Постоянно предотвращает запотевание труб холодной воды, 100% влагонепроницаемая.
Найти магазин
Узнать больше
Стекловолоконная пленка для труб с фольгой
Сокращает расточительные потери тепла в трубах горячей воды и предотвращает запотевание труб холодной воды в летнюю жару.
Найти магазин
Узнать больше
Обертка воздуховодов из натурального хлопка на фольге «No Itch»
С оберткой из натурального хлопка на фольге от Frost King вам не нужны перчатки, маска для лица или защитные очки.
Найти магазин
Узнать больше
Фольга и хлопчатобумажная обертка для труб
С изоляцией из натурального хлопка Frost King вам не нужны перчатки, маска для лица или защитные очки. Это абсолютно безопасно.
Найти магазин
Узнать больше
Пленка и стекловолокно для воздуховодов
Сочетает свойства двух популярных изоляционных материалов в одном удобном рулоне.
Найти магазин
Узнать больше
Как сделать перегородку для кормушки для белок и енота
Поиск
Дом Газон и сад Животные и дикая природа Как сделать кормушку для белки и енота
Даже если вы любите животных, вас расстраивает, когда жадные белки и еноты опустошают кормушки для птиц за несколько коротких часов.
Обычные перегородки в форме чаши довольно хорошо отпугивают белок, но еноты без труда перелезают через них.
Если белки или еноты едят вас вне дома и дома, вот простое решение. Эта перегородка из енота и белки своими руками проста в изготовлении, недорога и наверняка сбьет с толку даже самых хитрых тварей.
Что вам понадобится
Мне нравится этот проект, потому что он не только решает действительно серьезную проблему, но и вы можете купить необходимые детали практически в любом магазине товаров для дома. Для изготовления перегородки вам понадобятся:
Необходимые материалы
- Дымоход: Одна секция дымохода диаметром 6 дюймов и длиной 24 дюйма. Дымоход поставляется в черном цвете, но вы также можете купить оцинкованный воздуховод и покрасить его самостоятельно.
- Торцевая заглушка дымохода: Одна торцевая заглушка диаметром 6 дюймов, которая подходит для дымохода.
- Шурупы для листового металла: От 3 до 4 шурупов для листового металла длиной 1/2″ или короче.

- Хомут для шланга: Один хомут для шланга, достаточно маленький, чтобы плотно прилегать к стойке кормушки для птиц.
Необходимые инструменты
- Отвертка
- Дрель
- Тиски, зажим или плоскогубцы
- Большое сверло или кольцевая пила: Сверло для резки металла или кольцевая пила диаметром (или немного больше) стержня кормушки.
- Маленькое сверло: Сверло для резки металла немного меньше, чем шурупы для листового металла, для сверления направляющих отверстий.
Как собрать перегородку
Сделать перегородку довольно просто: просверлить или вырезать гладкое отверстие в торцевой крышке — единственная операция, требующая определенных усилий, чтобы все получилось правильно.
Перегородка с отверстием в крышке.
Шаг 1: Просверлите отверстие
Плотно зажмите торцевую крышку в тисках или удерживайте плоскогубцами.
Не держите его руками, так как сверло может легко соскользнуть и порезать вас. Используя сверло или кольцевую пилу, аккуратно просверлите отверстие в центре торцевой крышки (см. Как найти центр круга). Если ваш столб квадратный, вы можете просверлить небольшое направляющее отверстие, а затем с помощью сабельной пилы или ножниц по металлу вырезать требуемую форму.
Шаг 2: Установите торцевую заглушку
Соедините дымоход вместе и плотно вставьте ее в торцевую заглушку.
Шаг 3: Просверлите направляющие отверстия
Аккуратно положите перегородку на бок и просверлите направляющие отверстия по бокам торцевой крышки, убедившись, что отверстия проходят как через торцевую крышку, так и через дымоход.
Хомут для шланга на стойке питателя.
Шаг 4: Прикрепите винты
Затяните винты для листового металла, чтобы скрепить торцевую заглушку и дымоход.
Шаг 5: Наденьте перегородку на стойку
Направив перегородку вниз, как колокол, вставьте стойку кормушки через отверстие в центре.
Верхняя часть перегородки должна находиться на высоте от 4 до 5 футов над землей. Отметьте столб в верхней части перегородки и поднимите перегородку в сторону.
Шаг 6: Прикрепите хомут для шланга
С помощью отвертки прикрепите хомут для шланга к стойке питателя на отмеченной вами отметке.
Шаг 7: Установите перегородку
Сдвиньте перегородку вниз так, чтобы она легла на хомут, и все готово!
Готовая перегородка из белки и енота, установленная на стойке кормушки для птиц.
Наслаждайтесь кормлением птиц!
Эта перегородка действительно работает — на фидерах, показанных на фотографиях, после ее установки постоянно не было налетов. Первые дни принесли некоторое удовольствие, когда белки и еноты предприняли решительные попытки перелезть через перегородку. Белки неоднократно заползали внутрь него и застревали, а еноты просто не могли его обойти.
К концу первой недели на перегородке появились царапины, похоже, что белка пыталась совершить безумный прыжок и в итоге скатилась по внешней стороне перегородки.



Обычно для этого применяются болты М6.
